Обогреватели REDVERG RD-EHR2R 6659860 - инструкция пользователя по применению, эксплуатации и установке на русском языке. Мы надеемся, она поможет вам решить возникшие у вас вопросы при эксплуатации техники.
Если остались вопросы, задайте их в комментариях после инструкции.
"Загружаем инструкцию", означает, что нужно подождать пока файл загрузится и можно будет его читать онлайн. Некоторые инструкции очень большие и время их появления зависит от вашей скорости интернета.

8
Произведено по заказу: ООО «ТМК ОптТорг», 603002, г. Нижний Новгород, ул. Марата, д. 25.
Производитель: ООО «ТеплоТрейд», 453510, Россия, Башкортостан, г. Белорецк, ул. С.Тюленина, 14,
т. (34792) 4
-
81
-
50, 4
-
81
-
97
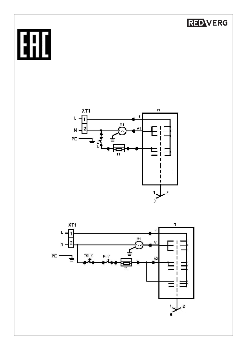
ПРИЛОЖЕНИЯ.
Электрическая
схема соединения
RD-EHR2R
:
Электрическая схема соединения
RD-EHR3TR
:
Продукция соответствует требованиям:
ТР ТС 004/2011
«
О безопасности низковольтного оборудования»;
ТР ТС 010/2011
«О безопасности машин и оборудования
»;
ТР ТС 020/2011
«Электромагнитная совместимость технических средств».













