Обогреватели REDVERG RD-DHD10 5021363 - инструкция пользователя по применению, эксплуатации и установке на русском языке. Мы надеемся, она поможет вам решить возникшие у вас вопросы при эксплуатации техники.
Если остались вопросы, задайте их в комментариях после инструкции.
"Загружаем инструкцию", означает, что нужно подождать пока файл загрузится и можно будет его читать онлайн. Некоторые инструкции очень большие и время их появления зависит от вашей скорости интернета.

3. Не заправлять топливный бак в ходе работы, убедиться, что пушка перестала
работать, а пламя погасло. Заправка в ходе работы может стать причиной
пожара.
4. Перед использованием устройства необходимо убедиться, что напряжение и
частота в сети питания на месте использования соответствуют требованиям,
указанным в паспортной табличке.
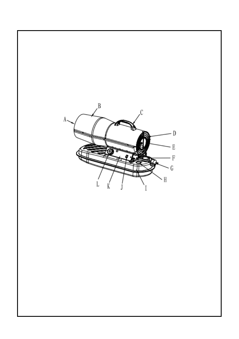
Конструкция пушки
A
.
Выпускная труба горячего воздуха B. Верхний кожух C. Ручка D. Защитная
решётка впуска воздуха E. Блок двигателя( с компрессором) F. Крышка
топливного бака G. Силовой провод H. Указатель уровня топлива I
.
Топливный
бак J. Выключатель K. Панель управления L. Регулируемый термостат
Содержание
- 2 Руководство по технике безопасности; Опасность; Предупреждение; Внимание
- 3 Конструкция пушки
- 4 Габариты
- 6 Технические параметры; Характеристики
- 7 Подготовка к эксплуатации
- 8 При отсутствии топлива (керосина или дизельного топлива) в; При наличии топлива (керосина или дизельного топлива) в баке:
- 9 Работа
- 11 Тушение
- 12 Устройство защиты; Принцип работы; Описание принципа работы.
- 13 Техническое обслуживание; Замена топливного фильтра( находится в топливном баке)
- 14 Опорожнение топливного бака; Сборка конструкции; Сопло горелки
- 16 Воздушный насос
- 18 Анализ неисправностей
- 19 Руководство по выявлению неполадок - причины и устранение