Обогреватели Loriot GH-70 - инструкция пользователя по применению, эксплуатации и установке на русском языке. Мы надеемся, она поможет вам решить возникшие у вас вопросы при эксплуатации техники.
Если остались вопросы, задайте их в комментариях после инструкции.
"Загружаем инструкцию", означает, что нужно подождать пока файл загрузится и можно будет его читать онлайн. Некоторые инструкции очень большие и время их появления зависит от вашей скорости интернета.

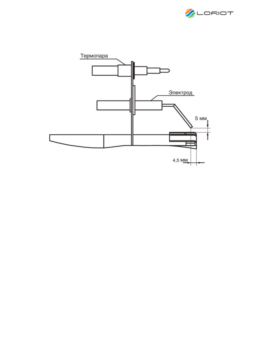
11
Для GH-10, GH-15
Проверка герметичности подачи газа
Проверьте герметичность газового шланга и всех соединений в линии подачи газа.
Пропан имеет характерный запах, что позволяет легко и вовремя обнаружить утечку.
Если вы обнаружили утечку, необходимо изолировать открытый огонь и закрыть клапан
газового баллона. Не проверяйте отсутствие утечек, используя открытый огонь. Опре-
деляйте наличие утечек только по запаху. Для того, чтобы подтвердить наличие утечки
намыльте предполагаемое место утечки мыльной пеной. Уплотните все резьбовые
соединения в линии подачи газа с помощью специального герметика Loctite 577.
Схема 2













