Обогреватели Hotrix СТИЧ HX SWZ3.600 - инструкция пользователя по применению, эксплуатации и установке на русском языке. Мы надеемся, она поможет вам решить возникшие у вас вопросы при эксплуатации техники.
Если остались вопросы, задайте их в комментариях после инструкции.
"Загружаем инструкцию", означает, что нужно подождать пока файл загрузится и можно будет его читать онлайн. Некоторые инструкции очень большие и время их появления зависит от вашей скорости интернета.
Загружаем инструкцию

14
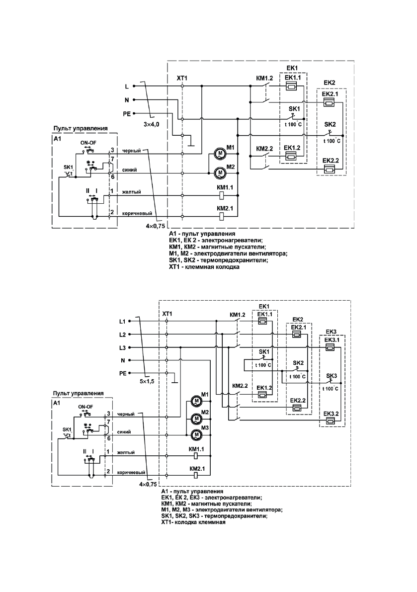
Рис. 7 Схема электрическая завес
SWZ 6.1000
Рис.8 Схема электрическая завесы
SWZ 9.1500
ПРИЛОЖЕНИЕ
Содержание
- 4 ТРЕБОВАНИЯ БЕЗОПАСНОСТИ; относится по классу
- 5 ТЕХНИЧЕСКИЕ ХАРАКТЕРИСТИКИ; Таблица 2; Пульт управления
- 6 ПОДГОТОВКА К РАБОТЕ; Модель завесы
- 7 OFF
- 8 ON; II; в месте установки пульта
- 9 ВОЗМОЖНЫЕ НЕИСПРАВНОСТИ И МЕТОДЫ ИХ УСТРАНЕНИЯ; SWZ; SWZ; Устранить обрыв; перемещения упаковки завесы внутри транспортного средства.
- 11 ПРИЛОЖЕНИЕ; Рис. 1 Габаритные и установочные размеры; МОДЕЛЬ; Рис. 2 Схема подключения завесы