Hintek IO-45, IP 54, 4,5 кВт 04.07.01.214380 - Инструкция по эксплуатации - Страница 19

Обогреватели Hintek IO-45, IP 54, 4,5 кВт 04.07.01.214380 - инструкция пользователя по применению, эксплуатации и установке на русском языке. Мы надеемся, она поможет вам решить возникшие у вас вопросы при эксплуатации техники.

Если остались вопросы, задайте их в комментариях после инструкции.

"Загружаем инструкцию", означает, что нужно подождать пока файл загрузится и можно будет его читать онлайн. Некоторые инструкции очень большие и время их появления зависит от вашей скорости интернета.
Страница:
/ 24
Загружаем инструкцию
background image

19

ПРИЛОЖЕНИЕ

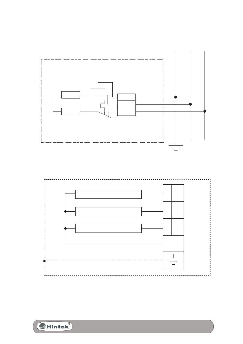
Рис. 5. Схема подключения обогревателей  IO-05, IO-10, IO-15, IO-20, IO-30 

Рис. 6. Схема подключения обогревателей  IO-45, IO-60

E1

L1

L2

L3

A

B

C

N

E2

E3

PE PN

X1

EK1

SK1

EK2

L

f

0

PE

PN

L1

Полезные видео

Характеристики

Оцените статью
tehnopanorama.ru
Остались вопросы?

Не нашли свой ответ в руководстве или возникли другие проблемы? Задайте свой вопрос в форме ниже с подробным описанием вашей ситуации, чтобы другие люди и специалисты смогли дать на него ответ. Если вы знаете как решить проблему другого человека, пожалуйста, подскажите ему :)

Задать вопрос

Часто задаваемые вопросы
Как посмотреть инструкцию к Hintek IO-45, IP 54, 4,5 кВт 04.07.01.214380?
Необходимо подождать полной загрузки инструкции в сером окне на данной странице
Руководство на русском языке?
Все наши руководства представлены на русском языке или схематично, поэтому вы без труда сможете разобраться с вашей моделью
Как скопировать текст из PDF?
Чтобы скопировать текст со страницы инструкции воспользуйтесь вкладкой "HTML"