Обогреватели БРИЗ БК200Ф Левый - инструкция пользователя по применению, эксплуатации и установке на русском языке. Мы надеемся, она поможет вам решить возникшие у вас вопросы при эксплуатации техники.
Если остались вопросы, задайте их в комментариях после инструкции.
"Загружаем инструкцию", означает, что нужно подождать пока файл загрузится и можно будет его читать онлайн. Некоторые инструкции очень большие и время их появления зависит от вашей скорости интернета.

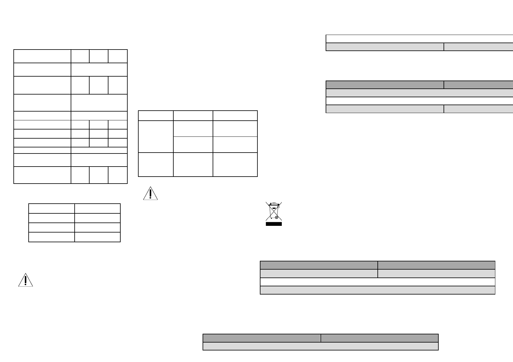
ТЕНИЧЕСКИЕ ХАРАКТЕРИСТИКИ
Модель
100
150
200
Номинальное
напряжение, В
220
Максимальная
потребляемая мощность,
кВт
0,4
0,4
0,6
Класс защиты от
поражения электрическим
током
I
Габаритные размеры
-
длина, мм
1040
1540
2040
-
ширина, мм
55
55
55
-
высота, мм
67
67
67
Материал корпуса
сталь
Диапазон рабочих
температур
от
-
20 ºС до 60ºС
Вес нетто
2,0 кг
±5%
2,6 кг
±5%
3,5 кг
±5%
КОМПЛЕКТ ПОСТАВКИ
Наименование
Количество
Паспорт, шт.
1
Упаковка, шт.
1
Обогреватель, шт.
1
УХОД ЗА ПРИБОРОМ
Перед
очисткой
прибора
убедитесь,
что
он
отключен
от
электросети и полностью остыл.
Протирайте корпус прибора мягкой ткань
.
ЗАПРЕЩЕНО
!
•
Помещать корпус прибора и электрошнур
под струю воды или погружать его в воду.
•
Использование при очистке прибора грубых
салфеток или губок, абразивных паст. Также
недопустимо использование любых химиче-
ски агрессивных веществ.
Перед хранением и повторной эксплуатацией полностью
просушите все части прибора.
Храните прибор в сухом вентилируемом мете.
При транспортировке и хранении запрещается подвер-
гать прибор механическим воздействиям, которые
могут
привести
к
повреждению
прибора
и/или
нарушению
целостности упаковки.
Необходимо
беречь
упаковку
прибора
от
попадания
воды и других жидкостей
.
ТЕХНИЧЕСКОЕ ОБСЛУЖИВАНИЕ
В
процессе
эксплуатации
периодически,
не
реже
1
раза в
год,
а
также
по
мере
необходимости,
выполнять
профилактические
работы
:
•
продуть обогреватель сухим сжатым воздухом;
•
протереть кожух и крышки хлопчатобумажной тканью.
Необходимо беречь упаковку прибора от попадания
воды и других жидкостей.
ВОЗМОЖНЫЕ НЕИСПРАВНОСТИ
В случае если неисправность устранить не
удалось, обратитесь в авторизированный
сервисный центр.
ГАРАНТИЯ ИЗГОТОВИТЕЛЯ
Обогреватель
рекомендуется
к
реализации
через
роз-
ничные
сети,
а
также
специализированные
организации,
занимающиеся
монтажом
климатического
оборудова-
ния
.
Изготовитель
гарантирует
соответствие качества
обогревателя требованиям
технических
условий
при
соблюдении
правил
эксплуатации, транспортирования и
хранения.
Поставщик гарантирует исправность и надлежавшее
функционирование поставляемой продукции в течение
24 (двадцати четырех) месяцев со дня продажи конеч-
ному потребителю. Срок эксплуатации составляет не
менее 120 (ста двадцати) месяцев от даты выпуска
изделия.
Гарантийные обязательства не распространяются на
случаи:
•
использования обогревателя не по назначению и с
нарушением настоящего руководства;
•
повреждения обогревателя вследствие небрежного
обращения, неправильного монтажа, неправильного
подключения, несоблюдения прилагаемого руководства,
транспортировки;
•
самостоятельной модификации или переделке обогре-
вателя;
•
отсутствия гарантийного талона;
•
механическими, тепловыми и иными повреждениями,
возникшими по причине неправильной эксплуатации,
небрежного отношения или несчастного случая;
•
попаданиям внутрь посторонних предметов, жидко-
стей, насекомых, грызунов и т.д.
•
повреждение электрических шнуров;
•
подключения в сеть с напряжением, отличным от ука-
занного в правилах эксплуатации на данное изделие,
или с несоответствием стандартным параметрам
пита-
ющей
сети
;
•
действий непреодолимой силы (пожар, наводнение,
молния и др.).
При наступлении гарантийного случая товар необходи-
мо сдать по месту приобретения.
УТИЛИЗАЦИЯ
Изделие выполнено из
металлических и
пластиковых
компонентов. В соответствии
с
директивой
ЕС
2ОО2/96/
ЕС
от
27
января
2003
г. и соответствующими актами
национального законодательства,
обращаем
ваше
вни-
мание на следующее:
Отходы
электрического
и
электронного
оборудования
не
могут
быть
утилизированы
вместе
с
бытовыми
отхода-
ми.
Вывоз
и
утилизация
такого
рода
отходов
должны
производиться отдельно.
Для
утилизации
отходов
следует
использовать
обще-
ственную
или
частную систему вывоза
отходов,
уста-
новленную местными
законодательными
органами.
В
случае
противозаконной
утилизации
отходов
электри-
ческого
и электронного
оборудования
штрафные
санк-
ции
Устанавливаются
в соответствии
с местным
законода-
тельством.
СВИДЕТЕЛЬТВО О ПРИЕМКЕ
Обогреватель____БК______
_
Ф
_________
со-
ответствует
техническим
условиям
ТУ
27.51.26.110-004-28528174-2018
и признан
годным к эксплуатации.
Дата выпуска
:
Предприятие
-
изготовитель
:
ООО «БРИЗ»
Адрес изготовителя: Санкт
-
Петербург, про-
спект Науки 17 к2 лит.А
Заполняется фирмой
-
продавцом
Обогреватель
Модель
Дата продажи
Фирма
-
продавец
Подпись продавца
Изделие надлежащего качества, укомплектовано, техни-
чески исправно, претензий не имею.
Информация о произведенных ремонтах
Дата приема
Дата выдачи
Заявленный дефект
Описание ремонта
Подпись
Печать сервисного центра
Дата приема
Дата выдачи
Заявленный дефект
Описание ремонта
Подпись
Печать сервисного центра
Неисправность
Возможная причина
Способ устранения
Обогреватель
не работает
Шнур электропита-
ния не подсоединен
к электросети
Подключить шнур
электропитания к
электросети
В электророзетке
отсутствует
напряжение
Подключите прибор к
исправной
электророзетке
Во время работы
появился посто-
ронний запах
Прибор новый,
запах исходит от
защитного покрытия
Это не является неис-
правностью.
Запах исчезнет через
несколько минут
Характеристики
Остались вопросы?Не нашли свой ответ в руководстве или возникли другие проблемы? Задайте свой вопрос в форме ниже с подробным описанием вашей ситуации, чтобы другие люди и специалисты смогли дать на него ответ. Если вы знаете как решить проблему другого человека, пожалуйста, подскажите ему :)