Обогреватели Ballu BHC-M25T12-PS НС-1136130 - инструкция пользователя по применению, эксплуатации и установке на русском языке. Мы надеемся, она поможет вам решить возникшие у вас вопросы при эксплуатации техники.
Если остались вопросы, задайте их в комментариях после инструкции.
"Загружаем инструкцию", означает, что нужно подождать пока файл загрузится и можно будет его читать онлайн. Некоторые инструкции очень большие и время их появления зависит от вашей скорости интернета.

10
Подготовка к работе
Подключение к электрической сети
ВНИМАНИЕ!
Тепловая завеса должна подключаться специали-
стами, имеющими соответствующую группу допу-
ска по электробезопасности.
Подключение к электросети осуществляется че-
рез автоматический выключатель в соответствии
с «Правилами эксплуатации электроустановок».
Необходимо снять крышку на верхней стенке
корпуса, завести шнур питания и подключить его
к клеммной колодке. Расположение клеммной ко-
лодки приведено на рисунке:
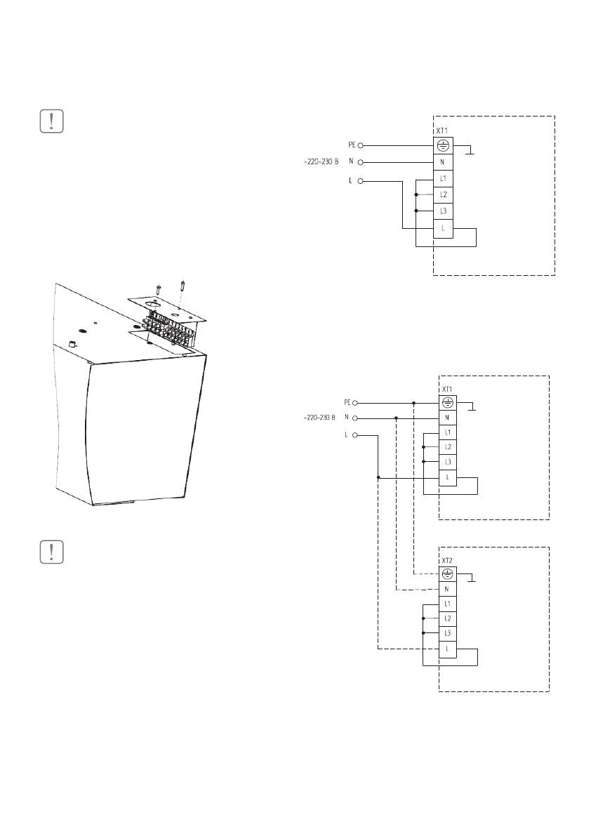
Далее приведены электрические схемы завес:
ВНИМАНИЕ!
Завеса BHC-M10T06-PS изначально предназна-
чена для подключения к однофазной сети 220 В.
Также завесу BHC-M10T06-PS можно подключить
и к трехфазной сети 380 В. Для этого необходимо
удалить перемычку между клеммами L, L1, L2 и L3.
Ниже указаны схемы электрические принципи-
альные силовой части завесы BHC-M10T06-PS для
подключения к однофазной сети 220 В, в соот-
ветствии со схемами для завес, соединенные для
трезфазной сети.
Схема электрическая принципиальная
ВHC-М10Т06-PS при подключении на 230 B.
XT1 - колодка клеммная.
Схема электрическая принципиальная при
групповом соединении ВHC-М10Т06-PS при
подключении на 230 B.
XT1, XT2 - колодка клеммная.
Содержание
- 2 Содержание; Используемые обозначения; Производитель оставляет за собой право без; Свидетельство о приемке
- 5 Подготовка к работе; Монтаж тепловой завесы
- 7 Крепежные элементы для кронштейна; Расположение кронштейнов для горизонтального установки
- 8 Инструкция по установке завес:; закрепить кронштейны к несущей конструкции, согласно размерам
- 10 Подключение к электрической сети; Далее приведены электрические схемы завес:; Схема электрическая принципиальная
- 16 Схема электрическая принципиальная завес; SK1 - защитный термостат без автовозврата
- 22 Управление прибором; Вентиляция с подогревом потока воздуха.
- 23 ПРИМЕЧАНИЕ; Поиск и устранение неисправностей; Если завеса не включается
- 24 Уход и обслуживание; Транспортировка и хранение
- 27 ГАРАНТИЙНЫЙ ТАЛОН; ТИП
- 28 Настоящая гарантия не распространяется на:
- 29 Особые условия эксплуатации кондиционеров
- 30 Памятка по уходу за кондиционером:
- 31 сохраняется у клиента; УНИВЕРСАЛЬНЫЙ ОТРЫВНОЙ ТАЛОН; УНИВЕРСАЛЬНЫЙ ОТРЫВНОЙ ТАЛОН













