Обогреватели Ballu BEC/E-2000 - инструкция пользователя по применению, эксплуатации и установке на русском языке. Мы надеемся, она поможет вам решить возникшие у вас вопросы при эксплуатации техники.
Если остались вопросы, задайте их в комментариях после инструкции.
"Загружаем инструкцию", означает, что нужно подождать пока файл загрузится и можно будет его читать онлайн. Некоторые инструкции очень большие и время их появления зависит от вашей скорости интернета.

10
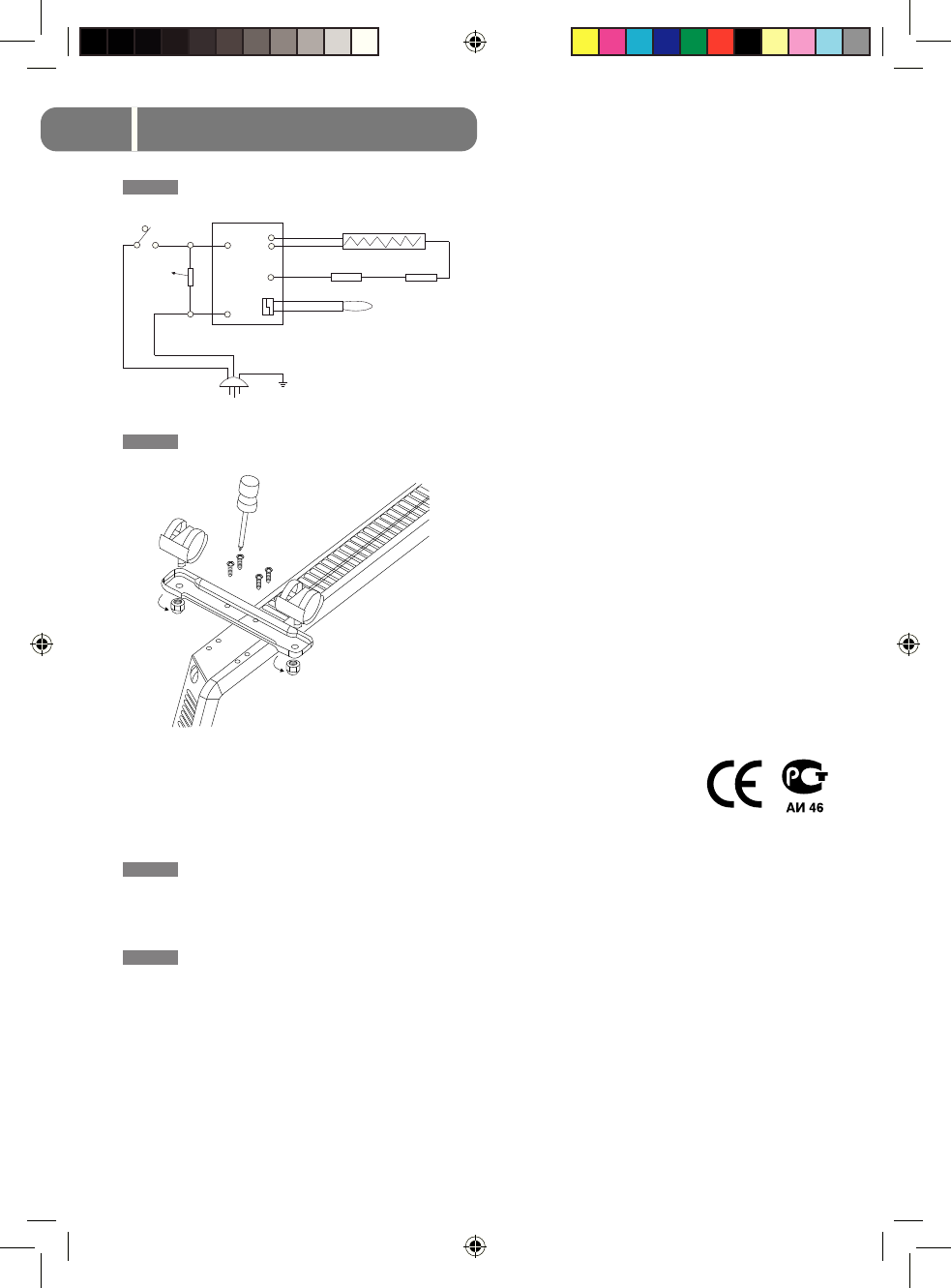
Схема электрическая
Правила утилизации
По истечению срока службы прибор должен
подвергаться утилизации в соответствии с
нормами, правилами и способами, действую-
щими в месте утилизации.
Дата изготовления
Дата изготовления указана на приборе.
Сертификация продукции
Товар сертифицирован на территории
России органом по сертификации:
РОСС RU.0001.11AИ46 ОС ПРОДУКЦИИ АНО
«СТАНДАРТ-ТЕСТ»
Юридический адрес:
109382, РФ, г. Москва,
ул. Нижние поля, д. 9 ;
Почтовый адрес:
115088, РФ, г. Москва,
ул. Шарикоподшипниковская, д. 4;
Тел.: (495) 786-69-50, факс: (495) 675-89-69,
e-mail: info@sertcenter.ru
Товар соответствует требованиям
нормативных документов:
ГОСТ Р 52161.2.30-2007,
ГОСТ Р 51318.14.1-2006 (Разд. 4),
ГОСТ 51318.14.2-2006 (Разд. 5, 7),
ГОСТ Р 51317.3.2-2006 (Разд. 6, 7),
ГОСТ Р 51317.3.3-2008
№ сертификата:
РОСС CN.АИ46.B14595
Срок действия:
с 15.09.2010 г. по 14.09.2011 г.
(Сертификат обновляется ежегодно. При от-
сутствии копии нового сертификата в коробке,
спрашивайте копию у продавца)
Изготовитель:
BALLU INDUSTRIAL GROUP
Ballu Industrial Group, Suite 18B, 148 Connaught
Road Central, Hong Kong
Произведено:
Komon International Limited. No.11, Rongjiao Rd,
Ronggui Shunde, Foshan, Guangdong, China
Схема электрическая
Выключатель
Ионизатор
Плата управления
Нагревательный элемент
Датчик температуры
Термопредохранитель
Защитный термостат
KSD типа
Manual Ballu BEC E-1000-1500-20010 10
Manual Ballu BEC E-1000-1500-20010 10
11.10.2010 18:38:30
11.10.2010 18:38:30
Характеристики
Остались вопросы?Не нашли свой ответ в руководстве или возникли другие проблемы? Задайте свой вопрос в форме ниже с подробным описанием вашей ситуации, чтобы другие люди и специалисты смогли дать на него ответ. Если вы знаете как решить проблему другого человека, пожалуйста, подскажите ему :)












