Обогреватели Atlantic F119 1500W - инструкция пользователя по применению, эксплуатации и установке на русском языке. Мы надеемся, она поможет вам решить возникшие у вас вопросы при эксплуатации техники.
Если остались вопросы, задайте их в комментариях после инструкции.
"Загружаем инструкцию", означает, что нужно подождать пока файл загрузится и можно будет его читать онлайн. Некоторые инструкции очень большие и время их появления зависит от вашей скорости интернета.

Как установить режим КОМФОРТ?
-
Режим Комфорт позволяет устанавливать нужную температуру с
помощью регулятора.
-
Установите переключатель
B
в положение затем настройте
регулятор
C
в нужное положение. В случае если температура в
помещении ниже желательной, загорится индикатор нагрева А.
Подождите, пока температура стабилизируется.
Как установить режим ЭКОНОМ?
-
Режим Эконом позволяет снижать температуру режима Комфорт
на 3
-
4°C на то время, пока в помещении никого нет. Рекомендуется
использовать этот режим в тех случаях, когда период отсутствия
пользователя в помещении превысит 2 часа. Установить бегунок
В
в
положение ECO, затем установить регулятор С на желаемую
температуру. Если температура в помещении ниже показателя,
заданного в режиме ECO, загорится индикатор нагрева
А
.
Подождите, пока температура не стабилизируется.
Как установить режим АНТИЗАМЕРЗАНИЕ?
-
Этот режим соответствует тому положению регулятора, которое
позволяет поддерживать в помещении температуру приблизительно
7°C в случае длительного отсутствия хозяев (как правило более 24
часов). Установите бегунок
В
в положение
.
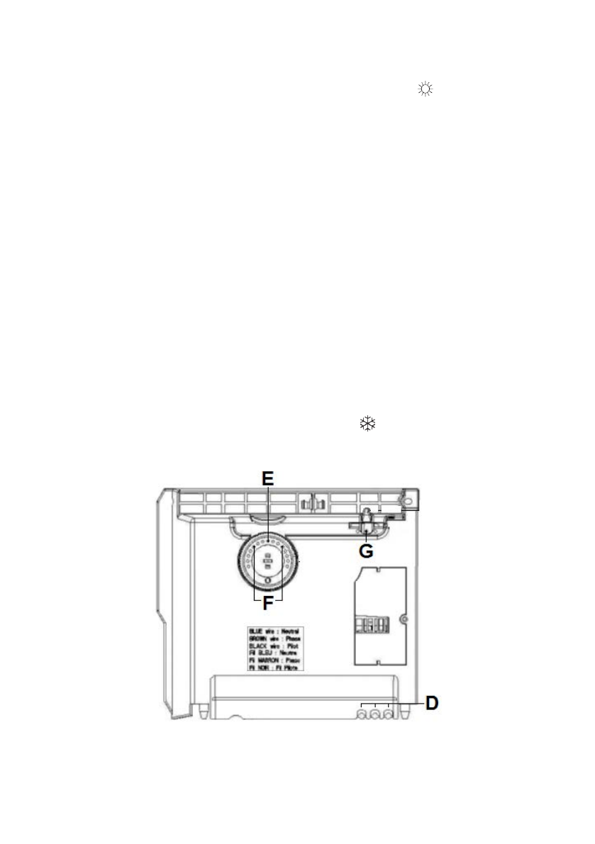
Как заблокировать управление?
Во избежание непредвиденного изменения настроек, можно
заблокировать или ограничить ход регулятора
С
и заблокировать
бегунок
B
. Для этого снимите прибор с настенного кронштейна. На
тыльной стороне корпуса термостата вытяните штифты
D
:
4
Характеристики
Остались вопросы?Не нашли свой ответ в руководстве или возникли другие проблемы? Задайте свой вопрос в форме ниже с подробным описанием вашей ситуации, чтобы другие люди и специалисты смогли дать на него ответ. Если вы знаете как решить проблему другого человека, пожалуйста, подскажите ему :)