Обогреватели Atlantic F 17 2000 - инструкция пользователя по применению, эксплуатации и установке на русском языке. Мы надеемся, она поможет вам решить возникшие у вас вопросы при эксплуатации техники.
Если остались вопросы, задайте их в комментариях после инструкции.
"Загружаем инструкцию", означает, что нужно подождать пока файл загрузится и можно будет его читать онлайн. Некоторые инструкции очень большие и время их появления зависит от вашей скорости интернета.

ervan
nden
t een
sonen
ke of
halve
ijk is,
ebben
omen
sters
lledig
rvoor
eken.
undig
oosters
ar met
kundig
ter van
slechte
oor een
enz..)
an het
emaakt
fsluiter
eer de
s staat
bewijs-
gebruik
_____
_____
_____
INSTALACIÓN DEL APARATO
Lea atentamente el manual antes de empezar a instalar el aparato. Corte la
corriente antes de efectuar cualquier manipulación en el aparato.
Conserve el manual, incluso después de haber instalado el aparato.
1) ¿Dónde instalar el aparato?
- La instalación deberá ser realizada de manera profesional y de acuerdo
con la normativa vigente del país en que se instale el aparato.
- Los aparatos pertenecen a la clase II y están protegidos contra las salpica-
duras de agua.
Sin embargo, el usuario no puede manipular los disposi-
tivos de control del aparato si está en la ducha o en la bañera.
- Al colocar el aparato, respete las distancias mínimas respecto a los obs-
táculos, tal como se indica en el.
- Si las paredes están acabadas con un revestimiento mural colocado sobre
espuma, será necesario colocar bajo el soporte del aparato una cuña del mismo
grosor que la espuma, con el
fi
n de dejar un espacio libre detrás del aparato,
de manera que su regulación no se vea perjudicada.
- No instalar el aparato:
º
En una corriente de aire susceptible de alterar su regulación (por
ejemplo, ventilación mecánica centralizada, etc.)
º
Bajo una toma de corriente de aire
fi
ja.
º
En el volumen
de los cuartos de baño.
Está prohibido montar un aparato vertical horizontalmente y
vice versa.
2) ¿Cómo instalar el aparato?
2-1) Desbloquear la pata de enganche del aparato
Le aconsejamos que coloque el panel radiante horizontalmente de cara al
suelo. Utilice un destornillador plano.
2-2) Desbloquear la pata de enganche del aparato
Puntos de perforación A
Puntos de perforación B
Nota :
Está formalmente prohibido utilizar el aparato en con
fi
guración mó-
vil, sobre pies o sobre ruedas.
C
2-3) Conectar el aparato :
- El aparato necesita una alimentación de 230 V 50 Hz.
- Su conexión a la red se efectuará mediante un cable de 2 hilos (marrón =
fase, azul = neutro), un cable de 3 hilos (marrón = fase, azul = neutro, negro
= hilo piloto) a través de una caja de conexiones. En lugares húmedos,
como cuartos de baño y cocinas, el cajetín de conexión deberá instalarse,
como mínimo, a 25 cm del suelo.
- La instalación deberá contar con un dispositivo de corte omnipolar dotado
de una distancia de apertura de contacto de, por lo menos, 3 mm.
- No se puede realizar una conexión a la tierra.
- No conectar el hilo negro a la tierra.
- La sustitución del cable de alimentación, si éste fuese demasiado corto
o se hubiese deteriorado, requiere el uso de herramientas especiales y
deberá ser realizada por un especialista.
Nota :
Está formalmente prohibido utilizar el aparato en con
fi
guración mó-
vil, sobre pies o sobre ruedas.
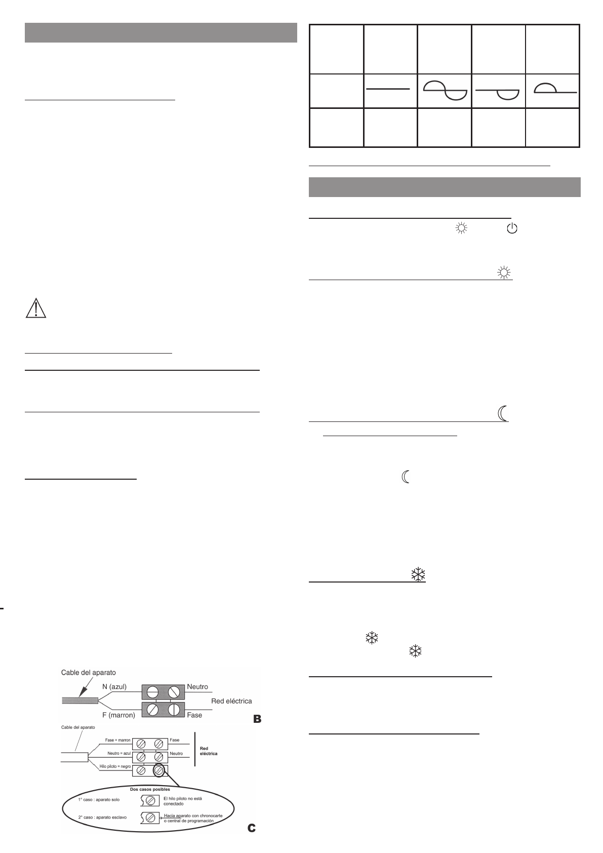
Órdenes
recibidos
Ausencia
de corriente
Alternancia
completa
230 V
Semialter-
nancia
negativa
- 115 V
Semialter-
nancia
positiva
+ 115 V
Oscilloscopio
ref/neutro
Método
obtenido
COMODI-
DAD
ECO
SIN HELADA
PARADA CA-
LEFACCIÓN
– CORTE
2-4) Bloquear el aparato sobre la pata de enganche
UTILIZACIÓN DEL APARATO
1) Descripción de los mandos :
J
Interruptor/Cursor de puesta en
/I paro 0 /
J
Mando de ajuste del control de temperatura
V1
J
Piloto indicador de calentamiento.
2) Ajuste de la temperatura deseada :
Se trata de la temperatura que se desea tener al encontrarse en la habitación.
a) Coloque el interruptor
en posición de marcha.
b) Ajuste ma rueda
entre los valores 4 y 5 (mecanicos).
Ajustar la moleta
sobre la posición deseada. El visior de calentamiento
V1
elecon el modelo electrónicos se enciende si la temperatura ambiente
es inferior a la deseada.
c) Espere algunas horas hasta que la temperatura se estabilice.
d) Si está satisfecho con el ajuste realizado (verifíquelo con un termómetro
si fuera necesario), registre la posición del mando para otra ocasión. Si el
ajuste no le parece adecuado, modifíquelo y vuelva ud al punto
c
.
3) Cómo ajustar la temperatura Eco :
(en el modelo electrónicos)
Es la temperatura deseada durante los periodos en los que la habitación no
está ocupada. Se aconseja utilizar este modo para periodos de ausencia
superiores a 2 horas.
a) Poner el cursor
en .
b) Ajustar la moleta
sobre la posición deseada. El indicador luminoso
V1
se enciende si la temperatura ambiente es inferior al valor de consigna
de temperatura Eco deseado.
c) Esperar algunas horas para que la temperatura se estabilice.
Si el ajuste le conviene (llegado el caso, usar un termómetro para veri
fi
car),
identi
fi
car la posición de una vez por todas. Si el ajuste no le conviene,
modi
fi
car el ajuste y regresar al punto
c
.
4) Modo Anti-Hielo :
Corresponde a la posición del mando que permite mantener la habitación
a una temperatura de aproximadamente 7º C durante una ausencia prolon-
gada (generalmente, más de 24 horas).
a) Deje el interruptor
en posición de marcha, coloque el mando
en la
posición «HG»
(mecanicos).
b) Coloque el cursor
en
(electronicos). .
5) El indicador de calentamiento : V1
Este indicador indica los períodos durante los cuales la resistencia se ca-
lienta. Si la temperatura es estable el indicador parpadea, y si la tempera-
tura es demasiada alta se apaga.
6) Bloqueo de los mandos
y
Existe la posibilidad de bloquear o limitar el uso del mando de ajuste
con el
fi
n de evitar manipulaciones no deseadas del aparato (niños, etc.).
a) Descuelgue el aparato del soporte mural.
b) En la parte posterior de la caja del termostato retirar los pasadores
P
de sus soportes.
c) Seleccione la posición
B
para bloquear el mando, o la posición
L
para
limitar su radio de movimiento. La posición
M
se utiliza para bloquear el
interruptor.
Характеристики
Остались вопросы?Не нашли свой ответ в руководстве или возникли другие проблемы? Задайте свой вопрос в форме ниже с подробным описанием вашей ситуации, чтобы другие люди и специалисты смогли дать на него ответ. Если вы знаете как решить проблему другого человека, пожалуйста, подскажите ему :)