Ноутбуки Panasonic CF-W5 - инструкция пользователя по применению, эксплуатации и установке на русском языке. Мы надеемся, она поможет вам решить возникшие у вас вопросы при эксплуатации техники.
Если остались вопросы, задайте их в комментариях после инструкции.
"Загружаем инструкцию", означает, что нужно подождать пока файл загрузится и можно будет его читать онлайн. Некоторые инструкции очень большие и время их появления зависит от вашей скорости интернета.

10
4
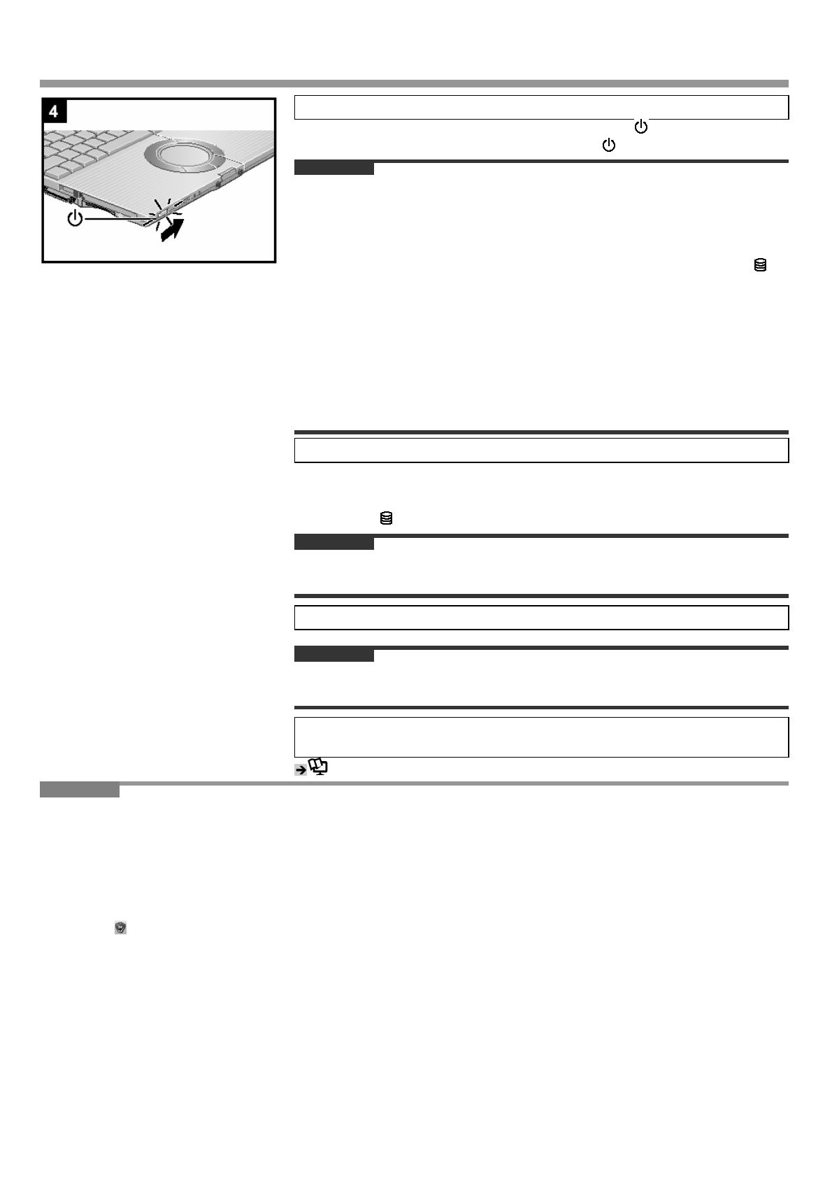
Включите
компьютер
.
Сдвиньте
и
удерживайте
выключатель
питания
приблизительно
одну
секунду
,
пока
не
загорится
индикатор
питания
.
ВНИМАНИЕ
•
Не
сдвигайте
выключатель
питания
повторно
.
•
Компьютер
будет
выключен
принудительно
,
если
Вы
сдвинете
и
будете
удерживать
выключатель
питания
четыре
секунды
или
более
.
•
Если
Вы
выключили
компьютер
,
подождите
десять
секунд
или
более
перед
тем
,
как
включить
его
снова
.
•
Не
выполняйте
следующие
действия
,
пока
индикатор
жесткого
диска
не
погаснет
.
•
Подсоединение
или
отсоединение
блока
питания
.
•
Сдвигание
выключателя
питания
или
выключателя
«
питание
/
открыть
»
дисковода
CD/DVD.
•
Использование
клавиатуры
или
сенсорной
панели
.
•
Закрытие
дисплея
.
•
Не
меняйте
установки
Утилиты
Настройки
до
завершения
выполнения
шага
5
.
Это
может
привести
к
тому
,
что
установка
Windows
может
не
работать
должным
образом
.
5
Установка
Windows.
Следуйте
указаниям
на
экране
.
•
Компьютер
перезапустится
после
завершения
установки
.
До
перехода
к
следующему
шагу
,
подождите
пока
индикатор
жесткого
диска
не
погаснет
.
ВНИМАНИЕ
•
Когда
Вы
установили
дату
/
время
/
часовой
пояс
и
щелкнули
[Next],
система
может
не
переходить
к
следующему
шагу
в
течение
нескольких
минут
.
Не
трогайте
клавиатуру
или
сенсорную
панель
,
и
подождите
,
пока
экран
не
поменяется
.
6
Создание
новой
учетной
записи
.
Щелкните
[start] – [Control Panel] – [User Accounts] – [Create a new account].
ВНИМАНИЕ
•
Запомните
Ваш
пароль
.
Если
Вы
забудете
пароль
,
Вы
не
сможете
использовать
операционную
систему
Windows.
Рекомендуется
заранее
создать
диск
сброса
пароля
.
Справочное
Руководство
«
Дисковод
CD/DVD»
ЗАМЕЧАНИЕ
•
Относительно
Windows XP
Вы
можете
выбрать
классический
вид
панели
управления
или
классическое
меню
пуска
.
Также
Вы
можете
изменить
способ
входа
и
выхода
пользователя
из
системы
.
Данное
руководство
описывает
использование
Windows XP
при
установках
по
умолчанию
(
НЕ
классический
вид
или
классическое
меню
пуска
,
и
т
.
д
.).
•
Обновление
Windows
Вы
можете
установить
последние
обновления
и
сервисные
пакеты
для
Windows
при
помощи
следующих
меню
.
[start] – [All Programs] – [Windows Update]
Не
выполняйте
“Driver Updates”,
даже
при
появлении
сообщения
о
необходимости
обновить
драйвер
.
Если
требуется
обновить
драйвер
,
обратитесь
в
Техническую
Поддержку
Panasonic.
•
Если
выдается
сообщение
“Your computer might be at risk”
Выберите
(
красная
иконка
)
в
области
уведомлений
и
выполните
необходимые
установки
.
Центр
Безопасности
Windows
регулярно
выдает
Вам
уведомления
,
так
что
Вы
можете
выполнить
оптимальные
установки
.
Это
не
является
сообщением
об
ошибке
,
и
Вы
можете
использовать
компьютер
.
Тем
не
менее
,
рекомендуется
принять
соответствующие
меры
для
снижения
риска
заражения
вирусом
и
других
атак
.
•
Внутренний
Жесткий
Диск
.
Вы
можете
услышать
короткий
механический
щелчок
после
того
,
как
погаснет
индикатор
жесткого
диска
при
отсутствии
ввода
с
клавиатуры
или
операций
устройства
,
когда
компьютер
входит
в
режим
ожидания
или
«
спящий
»
режим
,
или
когда
Windows
завершает
работу
.
Это
звук
смещения
головки
,
выполняемого
с
целью
снижения
потребления
энергии
или
защиты
жесткого
диска
от
шоков
.
Данный
звук
не
означает
неисправность
.
•
Если
Вы
слышите
звуки
из
дисковода
CD/DVD
В
следующих
ситуациях
может
быть
слышен
звук
электродвигателя
дисковода
CD/DVD.
•
Сразу
после
включения
компьютера
или
дисковода
CD/DVD
•
При
воспроизведении
CD
или
DVD
Звуки
,
которые
Вы
слышите
–
это
нормальные
рабочие
звуки
,
создаваемые
электродвигателем
дисковода
CD/DVD
при
работе
;
это
не
является
неисправностью
.
7
Измените
букву
диска
внутреннего
дисковода
CD/DVD,
если
необходимо
.
Содержание
- 2 Введение; Windows Vista; совместимый
- 4 Дисковод
- 5 SD; Прочтите
- 7 USB
- 8 PC; RAM
- 9 Windows
- 10 Windows XP
- 11 При; Первоначальные
- 14 Enter; Уход
- 15 Подготовка; Установка
- 16 Извлечение
- 18 Полное
- 21 Переустановка Программного
- 22 Запуск; Устранение
- 23 NumLk; Ctrl
- 25 Коды
- 26 Относительно; Space
- 27 Выполнение
- 28 ЛИЦЕНЗИЯ; УСЛОВИЕ
- 31 Спецификация; Основная
- 35 Веб