Ноутбуки Panasonic CF-74 - инструкция пользователя по применению, эксплуатации и установке на русском языке. Мы надеемся, она поможет вам решить возникшие у вас вопросы при эксплуатации техники.
Если остались вопросы, задайте их в комментариях после инструкции.
"Загружаем инструкцию", означает, что нужно подождать пока файл загрузится и можно будет его читать онлайн. Некоторые инструкции очень большие и время их появления зависит от вашей скорости интернета.

9
Первоначальные
действия
3
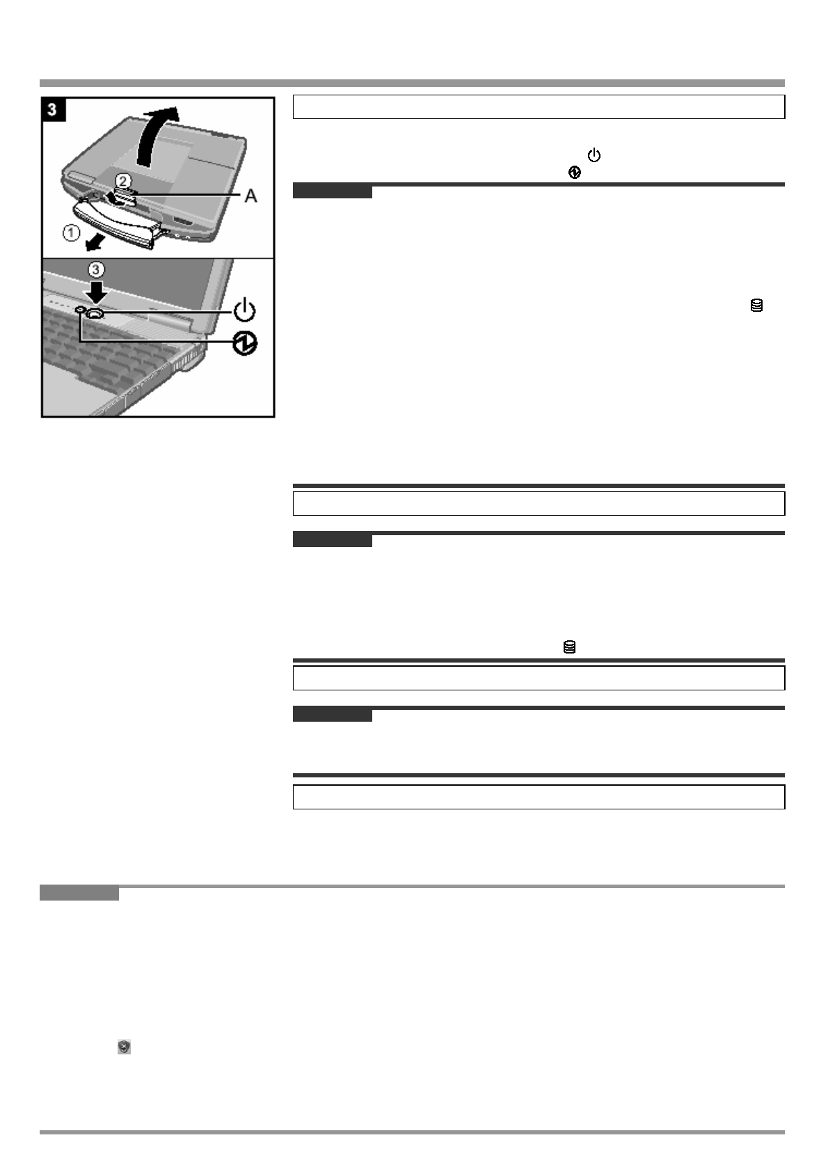
Включите
компьютер
.
(1)
Потяните
ручку
для
переноса
на
себя
.
(2)
Поднимите
фиксатор
(A),
и
откройте
дисплей
вверх
.
(3)
Нажмите
и
удерживайте
кнопку
питания
приблизительно
одну
секунду
,
пока
не
загорится
индикатор
питания
.
ВНИМАНИЕ
•
Не
нажимайте
кнопку
питания
повторно
.
•
Компьютер
будет
выключен
принудительно
,
если
Вы
нажмете
и
будете
удерживать
кнопку
питания
четыре
секунды
и
более
.
•
Если
Вы
выключили
компьютер
,
подождите
десять
секунд
или
более
перед
тем
,
как
включить
его
снова
.
•
Не
выполняйте
следующие
действия
,
пока
индикатор
жесткого
диска
не
погаснет
.
•
Подсоединение
или
отсоединение
блока
питания
.
•
Нажатие
кнопки
питания
.
•
Использование
клавиатуры
,
сенсорной
панели
,
сенсорного
экрана
(
только
для
модели
с
сенсорным
экраном
)
или
внешней
мыши
.
•
Закрытие
дисплея
.
•
При
высокой
температуре
центрального
процессора
(
ЦП
/CPU),
компьютер
может
не
запускаться
с
целью
предотвращения
перегрева
ЦП
.
Подождите
пока
компьютер
охладится
и
затем
снова
включите
питание
.
Если
компьютер
не
запускается
даже
после
охлаждения
,
обратитесь
в
Техническую
Поддержку
Panasonic.
4
Установка
Windows.
(1)
Следуйте
указаниям
на
экране
.
ВНИМАНИЕ
•
Когда
Вы
установили
дату
/
время
/
часовой
пояс
и
щелкнули
[Next],
система
может
не
переходить
к
следующему
шагу
в
течение
нескольких
минут
.
Не
трогайте
клавиатуру
или
сенсорный
экран
,
и
подождите
,
пока
экран
не
поменяется
.
•
Если
высветилось
“An unexpected error has occurred…” (
или
подобное
сообщение
),
выберите
[OK].
Это
не
является
неисправностью
.
•
Подождите
,
пока
индикатор
жесткого
диска
не
погаснет
.
5
Создание
новой
учетной
записи
.
(1)
Щелкните
[start] – [Control Panel] – [User Accounts] – [Create a new account].
ВНИМАНИЕ
•
Запомните
Ваш
пароль
.
Если
Вы
забудете
пароль
,
Вы
не
сможете
использовать
операционную
систему
Windows.
Рекомендуется
заранее
создать
диск
сброса
пароля
.
6
Выполнение
калибровки
сенсорного
экрана
.
(1)
Щелкните
[start] – [All Programs] – [Fujitsu Touch Panel (USB)] – [Touch
Screen Calibration Utility].
(2)
Используя
стилус
,
дотроньтесь
до
каждой
из
12
целевых
меток
“+”,
чтобы
они
замерцали
,
и
затем
щелкните
[Calibration].
(3)
Щелкните
[Save & Exit].
ЗАМЕЧАНИЕ
•
Относительно
Windows XP
Вы
можете
выбрать
Классический
вид
Панели
Управления
или
Классическое
меню
Пуска
.
Также
Вы
можете
изменить
способ
входа
или
выхода
пользователя
из
системы
.
Данное
руководство
описывает
использование
Windows XP
при
установках
по
умолчанию
(
НЕ
Классический
вид
или
Классическое
меню
Пуска
,
и
т
.
д
.).
•
Обновление
Windows
Вы
можете
установить
последние
обновления
и
сервисные
пакеты
для
Windows
при
помощи
следующих
меню
.
[start] – [All Programs] – [Windows Update]
Не
выполняйте
“Driver Updates”,
даже
при
появлении
сообщения
о
необходимости
обновить
драйвер
.
Если
требуется
обновить
драйвер
,
обратитесь
в
Техническую
Поддержку
Panasonic.
•
Если
выдается
сообщение
“Your computer might be at risk”
Выберите
(
красная
иконка
)
на
панели
задач
и
выполните
необходимые
установки
.
Центр
Безопасности
Windows
регулярно
выдает
Вам
уведомления
,
так
что
Вы
можете
выполнить
оптимальные
установки
.
Это
не
является
сообщением
об
ошибке
,
и
Вы
можете
использовать
компьютер
.
Тем
не
менее
,
рекомендуется
принять
соответствующие
меры
для
снижения
риска
заражения
вирусом
и
других
атак
.
•
Помните
,
что
компьютер
потребляет
электрическую
энергию
даже
при
выключенном
питании
.
Если
батарея
полностью
заряжена
,
она
полностью
разрядится
в
течение
,
приблизительно
, 3-
х
недель
.
Содержание
- 2 Введение
- 4 Не
- 5 Меры
- 6 USB»; Bluetooth; «Bluetooth»
- 8 Windows; B’s Recorder/B’s CLiP
- 9 “An unexpected error has occurred...” (; Windows XP; “Your computer might be at risk”
- 12 Уход
- 13 Создание; Подготовка; Справочное
- 14 Enter; Enter
- 16 DVD; [Hard disk data has been
- 19 ExpressCard
- 20 PC Information Viewer (; Запуск
- 21 Завершение; Ctrl; Дисплей
- 23 PANASONIC; ЛИЦЕНЗИЯ; MEI; УСЛОВИЕ; Intel
- 26 Спецификация; Основная
- 29 ENERGY STAR; Panasonic Computer Solutions Company; Ambler