Ноутбуки Panasonic CF-30 - инструкция пользователя по применению, эксплуатации и установке на русском языке. Мы надеемся, она поможет вам решить возникшие у вас вопросы при эксплуатации техники.
Если остались вопросы, задайте их в комментариях после инструкции.
"Загружаем инструкцию", означает, что нужно подождать пока файл загрузится и можно будет его читать онлайн. Некоторые инструкции очень большие и время их появления зависит от вашей скорости интернета.

11
Первоначальные
действия
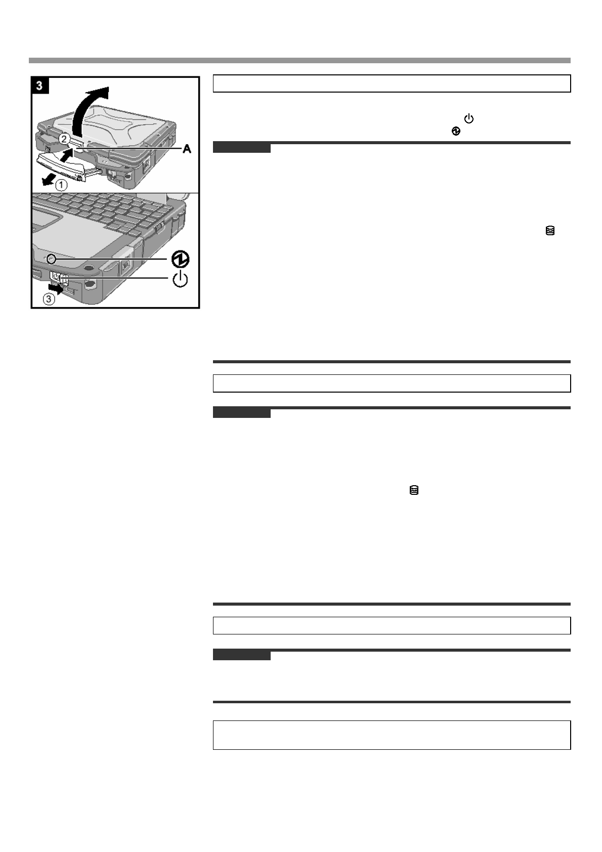
3
Включите
компьютер
.
(1)
Потяните
ручку
для
переноса
на
себя
.
(2)
Нажмите
и
держите
фиксатор
(A),
и
откройте
дисплей
вверх
.
(3)
Сдвиньте
и
удерживайте
выключатель
питания
приблизительно
одну
секунду
,
пока
не
загорится
индикатор
питания
.
ВНИМАНИЕ
•
Не
сдвигайте
выключатель
питания
повторно
.
•
Компьютер
будет
выключен
принудительно
,
если
Вы
сдвинете
и
будете
удерживать
выключатель
питания
четыре
секунды
и
более
.
•
Если
Вы
выключили
компьютер
,
подождите
десять
секунд
или
более
перед
тем
,
как
включить
его
снова
.
•
Не
выполняйте
следующие
действия
,
пока
индикатор
жесткого
диска
не
погаснет
.
•
Подсоединение
или
отсоединение
блока
питания
.
•
Сдвигание
выключателя
питания
.
•
Использование
клавиатуры
,
сенсорной
панели
или
сенсорного
экрана
(
только
для
моделей
с
сенсорным
экраном
).
•
Закрытие
дисплея
.
•
При
высокой
температуре
центрального
процессора
(
ЦП
/CPU),
компьютер
может
не
запускаться
с
целью
предотвращения
перегрева
ЦП
.
Подождите
пока
компьютер
охладится
и
затем
снова
включите
питание
.
Если
компьютер
не
запускается
даже
после
охлаждения
,
обратитесь
в
Техническую
Поддержку
Panasonic.
4
Установка
Windows.
(1)
Следуйте
указаниям
на
экране
.
ВНИМАНИЕ
•
Когда
Вы
установили
дату
/
время
/
часовой
пояс
и
щелкнули
[Next],
система
может
не
переходить
к
следующему
шагу
в
течение
нескольких
минут
.
Не
трогайте
клавиатуру
или
сенсорный
экран
,
и
подождите
,
пока
экран
не
поменяется
.
•
Если
высветилось
“An unexpected error has occurred…” (
или
подобное
сообщение
),
выберите
[OK].
Это
не
является
неисправностью
.
•
Подождите
,
пока
индикатор
жесткого
диска
не
погаснет
.
•
Данный
компьютер
периодически
записывает
управляющую
информацию
,
включая
информацию
жесткого
диска
,
такую
как
количество
часов
в
работе
,
количество
включений
,
внутренняя
температура
,
замещенные
сектора
.
Максимальный
объем
данных
для
каждой
записи
750
байт
.
Эта
информация
используется
только
для
оценки
причин
неисправности
жесткого
диска
.
Она
никогда
не
пересылается
вовне
по
сети
и
не
используется
для
каких
-
либо
целей
,
за
исключением
целей
,
описанных
выше
.
Чтобы
отключить
функцию
,
добавьте
метку
для
[Disable the automatic save function for management information history]
в
[Hard Disk Status] PC Information Viewer,
и
щелкните
[OK].
5
Создание
новой
учетной
записи
.
(1)
Щелкните
[start] – [Control Panel] – [User Accounts] – [Create a new account].
ВНИМАНИЕ
•
Запомните
Ваш
пароль
.
Если
Вы
забудете
пароль
,
Вы
не
сможете
использовать
операционную
систему
Windows.
Рекомендуется
заранее
создать
диск
сброса
пароля
.
6 <
Только
для
моделей
с
сенсорным
экраном
>
Выполнение
калибровки
сенсорного
экрана
.
(1)
Щелкните
[start] – [All Programs] – [Fujitsu Touch Panel (USB)] – [Touch
Screen Calibration Utility].
(2)
Используя
стилус
,
дотроньтесь
до
каждой
из
12 “+”
целевых
меток
,
чтобы
они
замерцали
,
и
затем
щелкните
[Calibration].
(3)
Щелкните
[Save & Exit].
Содержание
- 2 Введение
- 5 Меры
- 7 Bluetooth; «Bluetooth»; ExpressCard; PC; «PC
- 8 RAM
- 9 Крепление
- 10 Windows
- 11 “An unexpected error has occurred...” (
- 12 Windows XP; “Your computer might be at risk”
- 15 Absolute Computrace; ) Absolute Computrace; Absolute Software Corp.; Enter; Absolute Computrace,; Уход
- 16 Руководству; Установка
- 17 Полное; Чтобы; Recover Pro
- 18 DVD; Подготовка; Справочное; [Hard disk data has been
- 21 error – device disabled
- 22 PC Information Viewer (; Запуск
- 23 Ctrl
- 25 Другое
- 26 Diagnostic; Относительно
- 27 Space; Выполнение
- 29 PANASONIC; ЛИЦЕНЗИЯ; MEI; УСЛОВИЕ; Intel
- 32 Спецификация; Основная
- 33 “Wake up from LAN”.
- 35 ENERGY STAR; Panasonic Computer Solutions Company; Ambler