Ноутбуки Lenovo ThinkPad T470 - инструкция пользователя по применению, эксплуатации и установке на русском языке. Мы надеемся, она поможет вам решить возникшие у вас вопросы при эксплуатации техники.
Если остались вопросы, задайте их в комментариях после инструкции.
"Загружаем инструкцию", означает, что нужно подождать пока файл загрузится и можно будет его читать онлайн. Некоторые инструкции очень большие и время их появления зависит от вашей скорости интернета.

2. Убедитесь, что компьютер выключен, и отсоедините от него шнур электропитания и все
остальные кабели.
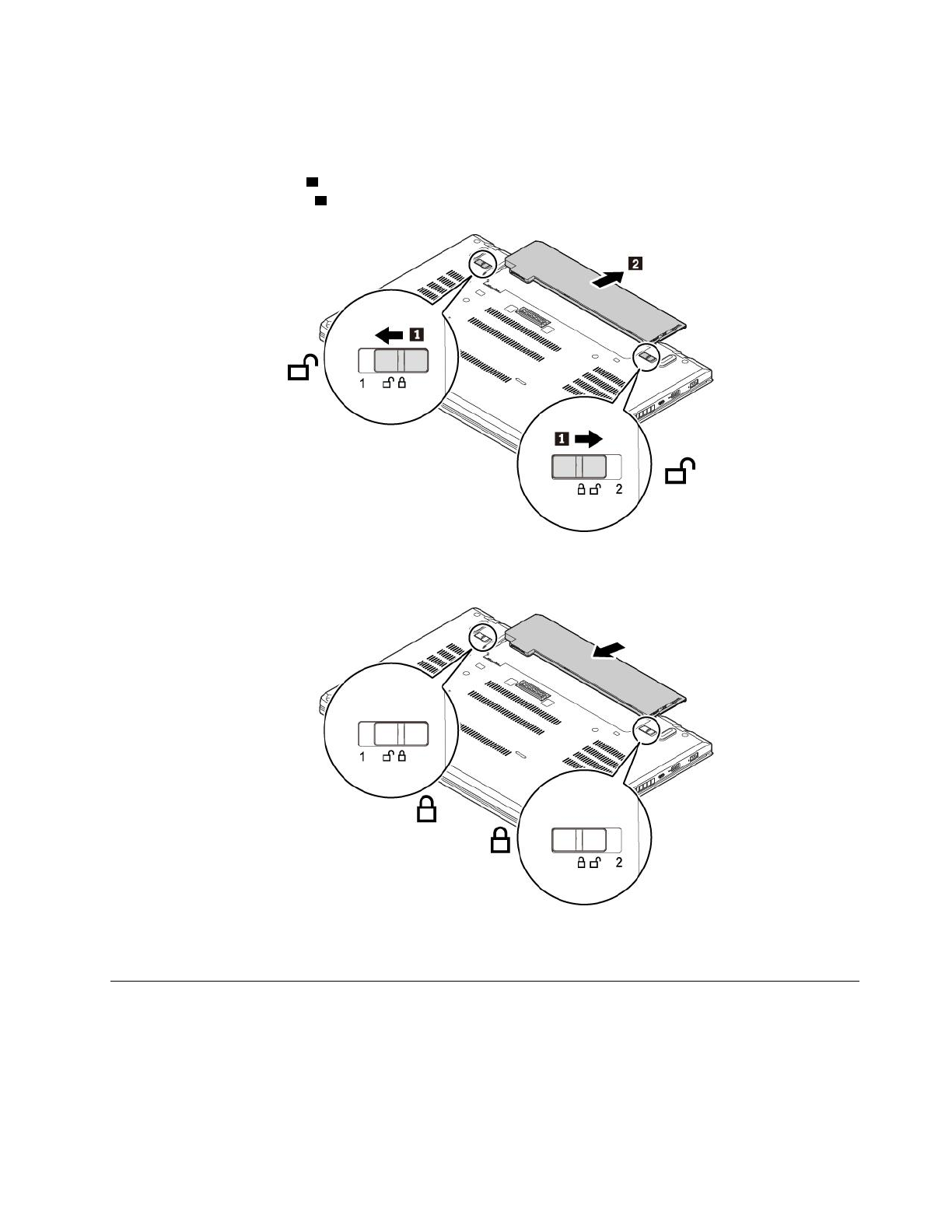
3. Закройте дисплей компьютера и переверните компьютер.
4. Переместите защелки
1
в положение разблокирования и, удерживая их в этом положении,
извлеките аккумулятор
2
.
5. Вставьте новый аккумулятор на место до щелчка. Убедитесь, что защелки находятся в закрытых
положениях.
6. Переверните компьютер. Подсоедините к компьютеру адаптер питания переменного тока и все
кабели.
Замена карты micro SIM
Перед началом работы прочитайте «Важная информация по технике безопасности» на странице v и
распечатайте эти инструкции.
Карта micro SIM представляет собой небольшую пластиковую карту с интегральной микросхемой,
расположенной на одной из сторон карты.
119
Содержание
- 3 Содержание
- 4 ii
- 5 iii
- 7 Важная информация по технике безопасности; Важная информация по использованию компьютера; Будьте осторожны: при работе компьютер нагревается.
- 9 Состояния, требующие немедленных действий; vii
- 10 Обслуживание и модернизация; viii
- 11 Шнуры и адаптеры питания; ОПАСНО; Удлинители и связанные устройства; ix
- 12 Электрические вилки и розетки
- 13 Заявление в отношении источника питания; Внешние устройства; xi
- 16 Тепловыделение и вентиляция
- 18 Замечание о жидкокристаллическом дисплее (ЖКД)
- 19 Замечание по стеклянным компонентам; xvii
- 21 Глава 1. Обзор продукта; Элементы управления, разъемы и индикаторы компьютера; Вид спереди; Микрофоны
- 23 Вид слева
- 24 Решетка вентилятора; Вид справа; Аудиоразъем; Разъем HDMI
- 25 Гнездо для мультимедийных карт; Вид снизу
- 26 Дренажные отверстия клавиатуры; Индикаторы состояния
- 27 Индикатор Caps Lock
- 29 Информация об идентификаторе FCC ID и номере IC Certification
- 30 Наклейки для операционных систем Windows; Сертификат подлинности Windows 7.; Наклейка подлинного ПО Microsoft
- 31 Компоненты и функции компьютера
- 32 Спецификации компьютера
- 33 Условия эксплуатации; Температура; Программы Lenovo; Все программы
- 34 Lenovo Tools; Обзор программ Lenovo
- 37 Глава 2. Работа на компьютере; Регистрация компьютера; Часто задаваемые вопросы
- 40 Использование специальных клавиш
- 44 Использование сенсорной панели
- 45 Указание; Использование жестов для сенсорной панели
- 46 Настройка манипулятора ThinkPad
- 47 Мышь; Замена колпачка на джойстике; Управление питанием; Подключение адаптера питания
- 48 Использование аккумулятора
- 49 Управление зарядом аккумулятора
- 50 Режимы энергосбережения
- 51 Кабельные подключения Ethernet; Беспроводные подключения
- 52 Проверка состояния соединения с беспроводной локальной сетью; Использование подключения к беспроводной глобальной сети; Проверка состояния соединения с беспроводной глобальной сетью; Использование соединения Bluetooth
- 53 Использование устройств NFC
- 54 Параметры; Использование режима «в самолете»
- 56 Использование камер
- 57 Использование мультимедийной карты или смарт-карты
- 59 Использование внешнего дисплея
- 61 Использование компьютера в поездке
- 63 Глава 3. Расширение возможностей компьютера; Подбор дополнительных аксессуаров ThinkPad; Элементы управления, разъемы и индикаторы; ThinkPad Basic Dock; Кнопка извлечения
- 68 Присоединение док-станции к компьютеру
- 69 Отсоединение док-станции от компьютера
- 71 ThinkPad WiGig Dock; Индикатор состояния
- 72 Настройка док-станции ThinkPad WiGig Dock
- 74 Использование док-станции ThinkPad WiGig Dock
- 77 Информация о специальных возможностях
- 79 Эргономичность работы
- 81 Вопросы относительно зрения; Очистка и обслуживание; Основные рекомендации по обслуживанию; Очистка компьютера; Чистка клавиатуры
- 82 Очистка экрана компьютера
- 83 Глава 5. Безопасность; Использование паролей; Пароль при включении; Пароль администратора; Пароли на доступ к жесткому диску
- 84 Установка, смена или удаление пароля
- 85 Защита жесткого диска
- 88 Эксплуатация устройства распознавания отпечатков пальцев; Удаление данных с устройства хранения
- 89 Использование брандмауэров
- 91 Глава 6. Расширенные настройки; Установка новой операционной системы
- 92 Legacy Boot; Установка операционной системы Windows 10
- 93 Установка драйверов устройств
- 95 жирным шрифтом; Изменение последовательности загрузки
- 96 Обновление UEFI BIOS; Меню Main; Main
- 97 Меню Config
- 102 Меню Security
- 109 Использование средств управления системой
- 111 Глава 7. Устранение неполадок компьютера; Общие советы по предотвращению проблем
- 112 Устранение неполадок
- 113 Компьютер перестал отвечать на команды; Попадание жидкости на клавиатуру; Проблема
- 114 Сообщения об ошибках
- 116 Звуковые сигналы, сообщающие об ошибках
- 117 Неполадки модулей памяти; Решение
- 118 Проблемы, связанные с Ethernet
- 120 Неполадки с экраном компьютера
- 123 Проблемы с внешним монитором
- 124 Проблемы с воспроизведением звука
- 127 Проблема с адаптером питания от сети переменного тока; Проблемы с электропитанием
- 128 Проблемы режима сна и гибернации
- 129 Проблемы с жестким диском
- 131 Глава 8. Информация о восстановлении; Информация о восстановлении операционной системы Windows 7
- 132 Повторная установка предустановленных программ; Повторная установка предустановленных драйверов устройств
- 134 Создание и использование USB-накопителя восстановления; Создание USB-накопителя восстановления; Создание диска; Использование USB-накопителя восстановления
- 135 Диагностика
- 137 Глава 9. Замена устройств; Меры защиты от разрядов статического электричества; Отключение встроенного аккумулятора; Управление электропитанием; Действия кнопок питания; Изменение параметров, которые сейчас недоступны
- 138 Замена съемного аккумулятора
- 139 Замена карты micro SIM
- 141 Замена узла крышки корпуса
- 143 Замена модуля памяти
- 145 Замена внутреннего устройства хранения данных
- 148 Твердотельный диск M.2
- 152 Замена карты беспроводной глобальной сети
- 156 Замена клавиатуры
- 160 Замена плоской круглой батарейки
- 163 Глава 10. Получение технической поддержки; Перед тем как связаться с Lenovo; Запись системных данных; Получение консультаций и услуг
- 165 Телефоны; Приобретение дополнительных услуг
- 169 Приложение B. Предупреждение; Название продукта; Информация о беспроводной связи; Условия работы и ваше здоровье
- 170 Расположение антенн беспроводной связи UltraConnect; Информация о соответствии нормативам радиосвязи; Информация о соответствии нормативам радиосвязи Бразилии
- 171 Сертификация TCO
- 172 Соответствие требованиям Европейского Союза; Заявление о директиве по ЭМС.; Заявление о директиве по радиооборудованию.
- 173 Замечание по шнуру питания для Японии
- 177 Информация по утилизации для Бразилии; Информация об утилизации аккумуляторов для Европейского союза
- 178 Утилизация аккумуляторов из продуктов Lenovo; Информация об утилизации аккумуляторов для Тайваня (Китай)
- 183 Приложение E. Замечания
- 185 Приложение F. Товарные знаки












