Ноутбуки Lenovo ThinkPad E485 - инструкция пользователя по применению, эксплуатации и установке на русском языке. Мы надеемся, она поможет вам решить возникшие у вас вопросы при эксплуатации техники.
Если остались вопросы, задайте их в комментариях после инструкции.
"Загружаем инструкцию", означает, что нужно подождать пока файл загрузится и можно будет его читать онлайн. Некоторые инструкции очень большие и время их появления зависит от вашей скорости интернета.

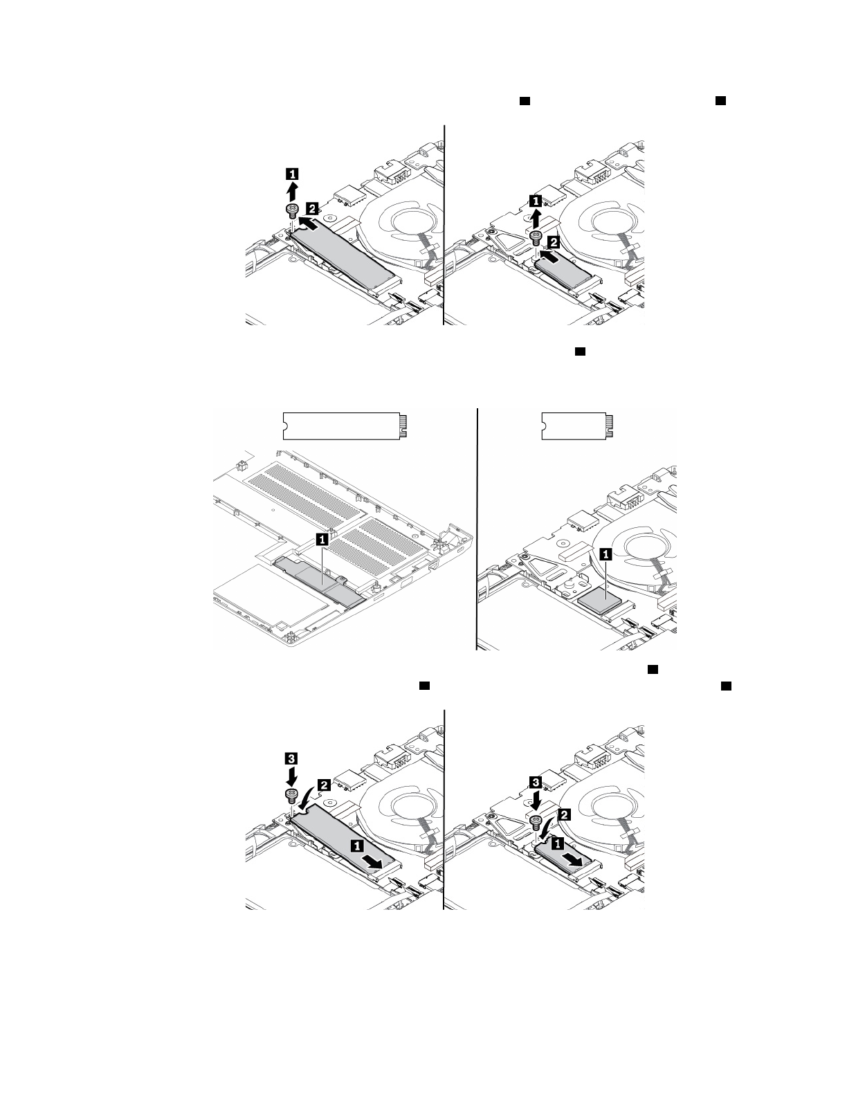
5. Отверните винт, которым крепится твердотельный диск M.2
1
, и извлеките диск из гнезда
2
.
Примечание:
В зависимости от модели компьютера термонакладка
1
фиксируется над
твердотельным диском M.2 или под ним во избежание перегрева. Убедитесь, что термонакладка
неподвижна и не повреждена.
6. Вставьте новый твердотельный диск M.2 в разъем под углом около 20 градусов
1
. Поверните
твердотельный диск M.2 в направлении вниз
2
. Закрепите твердотельный диск M.2 винтом
3
.
7. Установите узел крышки корпуса на место.
8. Переверните компьютер. Подсоедините к компьютеру адаптер питания переменного тока и все
кабели.
99
Содержание
- 3 Содержание
- 4 ii
- 5 iii
- 7 Важная информация по технике безопасности; Важная информация по использованию компьютера; Будьте осторожны: при работе компьютер нагревается.
- 9 Состояния, требующие немедленных действий; vii
- 10 Обслуживание и модернизация; viii
- 11 Шнуры и адаптеры питания; ОПАСНО; Удлинители и связанные устройства; ix
- 12 Электрические вилки и розетки
- 13 Заявление в отношении источника питания; Внешние устройства; xi
- 15 Примечание о плоской круглой батарейке
- 16 Тепловыделение и вентиляция
- 18 Замечание о жидкокристаллическом дисплее (ЖКД); xvi
- 19 Замечания по пластиковым пакетам; Замечание по стеклянным компонентам; xvii
- 21 Глава 1. Обзор продукта; Элементы управления, разъемы и индикаторы компьютера; Вид спереди; Микрофоны
- 22 Вид слева
- 24 Вид справа; Гнездо для карты microSD; Разъем Ethernet; Гнездо с защитным замком
- 25 Вид снизу; Решетка вентилятора; Индикаторы состояния
- 28 Информация об идентификаторе FCC ID и номере IC Certification
- 30 Спецификации компьютера
- 31 Максимальное тепловыделение (в зависимости от модели); Условия эксплуатации; Температура; Относительная влажность; Программы Lenovo
- 32 Обзор программ Lenovo
- 33 Глава 2. Работа на компьютере; Регистрация компьютера; Часто задаваемые вопросы
- 37 Использование манипулятора TrackPoint
- 38 Использование сенсорной панели
- 39 Указание; Использование жестов для сенсорной панели
- 40 Настройка манипулятора ThinkPad
- 41 Мышь; Замена колпачка на джойстике; Управление питанием; Подключение адаптера питания
- 42 Использование аккумулятора
- 47 Использование мультимедийной карты
- 48 Использование внешнего дисплея
- 49 Использование компьютера в поездке
- 51 Глава 3. Расширение возможностей компьютера; Подбор дополнительных аксессуаров ThinkPad
- 53 Информация о специальных возможностях
- 55 Эргономичность работы
- 57 Вопросы относительно зрения; Очистка и обслуживание; Основные рекомендации по обслуживанию; Очистка компьютера; Чистка клавиатуры
- 58 Очистка экрана компьютера
- 59 Глава 5. Безопасность; Использование паролей; Пароль при включении; Пароль администратора; Пароли на доступ к жесткому диску
- 60 Установка, смена или удаление пароля
- 61 Защита жесткого диска
- 63 Удаление данных с устройства хранения
- 64 Использование брандмауэров
- 65 Глава 6. Расширенные настройки; Установка операционной системы Windows 10
- 66 Установка драйверов устройств; Загрузка последних версий драйверов с веб-сайта
- 67 жирным шрифтом; Изменение последовательности загрузки
- 68 Обновление UEFI BIOS
- 73 Меню Security
- 77 Меню Startup
- 78 Меню Restart; Использование средств управления системой
- 81 Глава 7. Устранение неполадок компьютера; Общие советы по предотвращению проблем
- 82 Устранение неполадок; Попадание жидкости на клавиатуру; Проблема
- 83 Сообщения об ошибках
- 84 Звуковые сигналы, сообщающие об ошибках
- 86 Неполадки модулей памяти; Решение; Проблемы, связанные с Ethernet
- 87 Проблема с беспроводной локальной сетью (LAN)
- 89 Неполадки с экраном компьютера
- 91 Проблемы с внешним монитором
- 92 Проблемы с воспроизведением звука
- 99 Глава 8. Информация о восстановлении; Переустановка компьютера
- 100 Создание и использование USB-накопителя восстановления
- 103 Глава 9. Замена устройств; Узлы, подлежащие замене силами пользователя; Узлы CRU самообслуживания.; Меры защиты от разрядов статического электричества
- 104 Отключение встроенного аккумулятора
- 105 Замена карты microSD
- 106 Замена клавиатуры; Снятие клавиатуры
- 109 Установка клавиатуры
- 111 Замена узла крышки корпуса
- 113 Замена модуля памяти
- 114 Замена жесткого диска
- 115 Извлечение жесткого диска
- 117 Установка жесткого диска
- 118 Замена твердотельного диска M.2
- 120 Замена карты ввода-вывода; Извлечение карты ввода-вывода
- 122 Установка карты ввода-вывода
- 123 Замена блока динамика
- 127 Глава 10. Получение технической поддержки; Перед тем как связаться с Lenovo; Запись системных данных; Получение консультаций и услуг
- 129 Телефоны; Приобретение дополнительных услуг
- 131 Приложение A. Предупреждение; Название продукта; Информация о беспроводной связи; Условия работы и ваше здоровье
- 132 Расположение антенн беспроводной связи UltraConnect; Информация о соответствии нормативам радиосвязи; Информация о соответствии нормативам радиосвязи Бразилии
- 133 Сертификация TCO
- 134 Соответствие требованиям Европейского Союза; Заявление о директиве по ЭМС.; Заявление о директиве по радиооборудованию.
- 135 Замечание по шнуру питания для Японии
- 139 Информация по утилизации для Бразилии; Информация об утилизации аккумуляторов для Европейского союза
- 140 Утилизация аккумуляторов из продуктов Lenovo; Информация об утилизации аккумуляторов для Тайваня (Китай)












