Навигаторы Lexand SG-615 Pro HD Навител - инструкция пользователя по применению, эксплуатации и установке на русском языке. Мы надеемся, она поможет вам решить возникшие у вас вопросы при эксплуатации техники.
Если остались вопросы, задайте их в комментариях после инструкции.
"Загружаем инструкцию", означает, что нужно подождать пока файл загрузится и можно будет его читать онлайн. Некоторые инструкции очень большие и время их появления зависит от вашей скорости интернета.

Глава
1.
Эксплуатация
1.1
Компоненты
и
разъемы
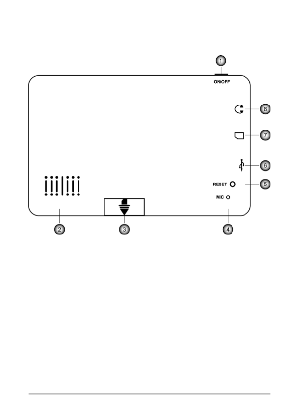
1
Кнопка
включения
/
выключения
Навигатора
,
вывода
устройства
из
спящего
режима
2
Динамик
3
Слот
для
SIM-
карты
4
Микрофон
5
Кнопка
"Reset"
для
перезагрузки
устройства
6
Разъем
для
подключения
кабеля
mini USB,
автомобильного
зарядного
устройства
или
сетевого
зарядного
устройства
(
дополнительная
опция
).
Используется
для
связи
с
ПК
и
зарядки
7
Слот
для
карт
памяти
microSD
8
Разъем
jack 3,5
мм
(
стерео
)
для
подключения
наушников
1