Настольные часы Citizen BM6514-51A (E) - инструкция пользователя по применению, эксплуатации и установке на русском языке. Мы надеемся, она поможет вам решить возникшие у вас вопросы при эксплуатации техники.
Если остались вопросы, задайте их в комментариях после инструкции.
"Загружаем инструкцию", означает, что нужно подождать пока файл загрузится и можно будет его читать онлайн. Некоторые инструкции очень большие и время их появления зависит от вашей скорости интернета.

С
.
Функции
часов
с
солнечной
батареей
Если
заряд
становится
недостаточным
,
начинает
работать
функция
оповещения
,
и
дисплей
изменяется
,
как
показано
ниже
.
Если
продолжится
разрядка
Дисплей
нормального
времени
Дисплей
,
оповещающий
о
недостаточном
заряде
Если
недостаточно
заряжен
Остановка
Если
достаточно
заряжен
Если
будучи
недостаточно
заряженными
,
часы
были
заряжены
и
время
было
установлено
шаг
в
1
секунду
шаг
в
2
секунды
Когда
часы
подвергнутся
свету
,
Функция
Быстрого
Старта
начнет
работать
и
секундная
стрелка
придет
в
движение
.
Правильное
время
может
быть
установлено
в
случае
полной
зарядки
часов
.
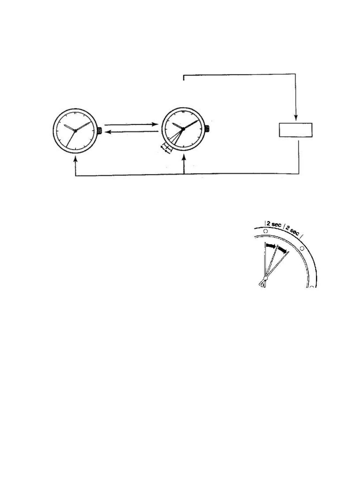
•
Функция
информирования
о
недостаточном
заряде
Секундная
стрелка
делает
шаговый
интервал
в
2
секунды
,
чтобы
обозначить
,
что
часы
недостаточно
заряжены
.
В
этом
случае
всегда
часы
сохраняют
верное
время
,
но
спустя
4
х
дней
после
начала
2
х
секундного
интервала
,
часы
останавливаются
.
После
подвергания
часов
свету
,
происходит
подзарядка
,
и
часы
возвращаются
к
шаговому
интервалу
в
1
секунду
.
шаг
в
2
секунды
•
Функция
быстрого
старта
Часы
остановятся
в
случае
полной
разрядки
.
Вскоре
после
того
,
как
они
будут
подвергнуты
свету
,
часы
начнут
работать
.
(
Однако
время
начала
работы
часов
может
варьироваться
в
зависимости
от
яркости
света
.)
•
Функция
предотвращения
перезарядки
батареи
Когда
специальная
солнечная
батарея
полностью
заряжена
,
начинает
работать
функция
предотвращения
перезарядки
батареи
и
предотвращает
перегрузку
солнечного
элемента
.
D.
Уход
и
обращение
во
время
зарядки
Замечания
по
использованию
Чтобы
сохранять
оптимальную
работу
,
не
забывайте
подвергать
часы
свету
регулярно
.
Просьба
иметь
ввиду
,
что
если
Вы
надеваете
длинные
рукава
,
Ваши
часы
могут
быть
скрыты
от
света
и
в
результате
может
быть
недостаточная
зарядка
батареи
.
В
этом
случае
,
подвергание
часов
свету
может
быть
необходимо
.
Когда
Вы
снимаете
Ваши
часы
,
убедитесь
,
что
положили
их
на
как
можно
более
яркое
место
.