Насосы Техноприбор Ручеёк-1М - инструкция пользователя по применению, эксплуатации и установке на русском языке. Мы надеемся, она поможет вам решить возникшие у вас вопросы при эксплуатации техники.
Если остались вопросы, задайте их в комментариях после инструкции.
"Загружаем инструкцию", означает, что нужно подождать пока файл загрузится и можно будет его читать онлайн. Некоторые инструкции очень большие и время их появления зависит от вашей скорости интернета.

Лист
15
П
одп. и дата
И
нв
. № д
убл.
В
зам. и
нв
.№
П
одп. и дата
И
нв
. № подл.
ИЯУБ.2.13.00.00.000 РЭ
Лист
Дата
Подп.
№ докум.
Изм
Формат А4
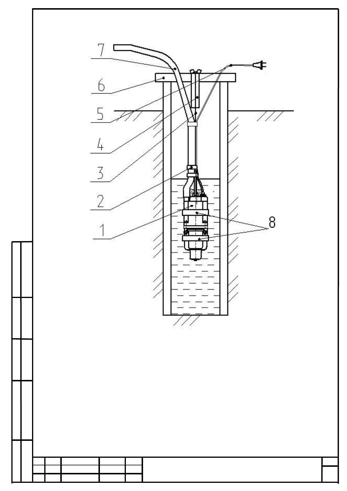
1 – Электронасос, 2 – Связка для шланга и подвески*, 3 – Подвеска, 4 – Подвеска
пружинящая из резины (применять при глубине менее 10 м)*, 5 – Шнур питания,
6 – Перекладина*, 7 – Шланг*, 8 – Защитное кольцо*.
____________
* В комплект поставки не входит.
Рисунок 3 – Схема подключения электронасоса
Содержание
- 3 Комплектующие
- 4 ВНИМАНИЕ! ПРИ ПОВРЕЖДЕНИИ ШНУРА ПИТАНИЯ, ЕГО
- 5 ром 17 мм, на котором с помощью хомутика крепится шланг.
- 6 ) на конец подвески поз. 1, как показано на рисунке 4, наденьте трубку
- 8 Наличие следов трения на корпусе под шнуром питания указывает на
- 10 телем за дополнительную плату.
- 11 Свидетельство о приемке и продаже; наименование и тип изделия; Выдан Сертификат соответствия Таможенного союза
- 14 Рисунок 3 – Схема подключения электронасоса
- 17 ТАЛОН No; ли
Характеристики
Остались вопросы?Не нашли свой ответ в руководстве или возникли другие проблемы? Задайте свой вопрос в форме ниже с подробным описанием вашей ситуации, чтобы другие люди и специалисты смогли дать на него ответ. Если вы знаете как решить проблему другого человека, пожалуйста, подскажите ему :)








