Музыкальные центры Samsung Sound Tower MX-T70 - инструкция пользователя по применению, эксплуатации и установке на русском языке. Мы надеемся, она поможет вам решить возникшие у вас вопросы при эксплуатации техники.
Если остались вопросы, задайте их в комментариях после инструкции.
"Загружаем инструкцию", означает, что нужно подождать пока файл загрузится и можно будет его читать онлайн. Некоторые инструкции очень большие и время их появления зависит от вашей скорости интернета.

RUS - 3
02 ОБЗОР ПРОДУКЦИИ
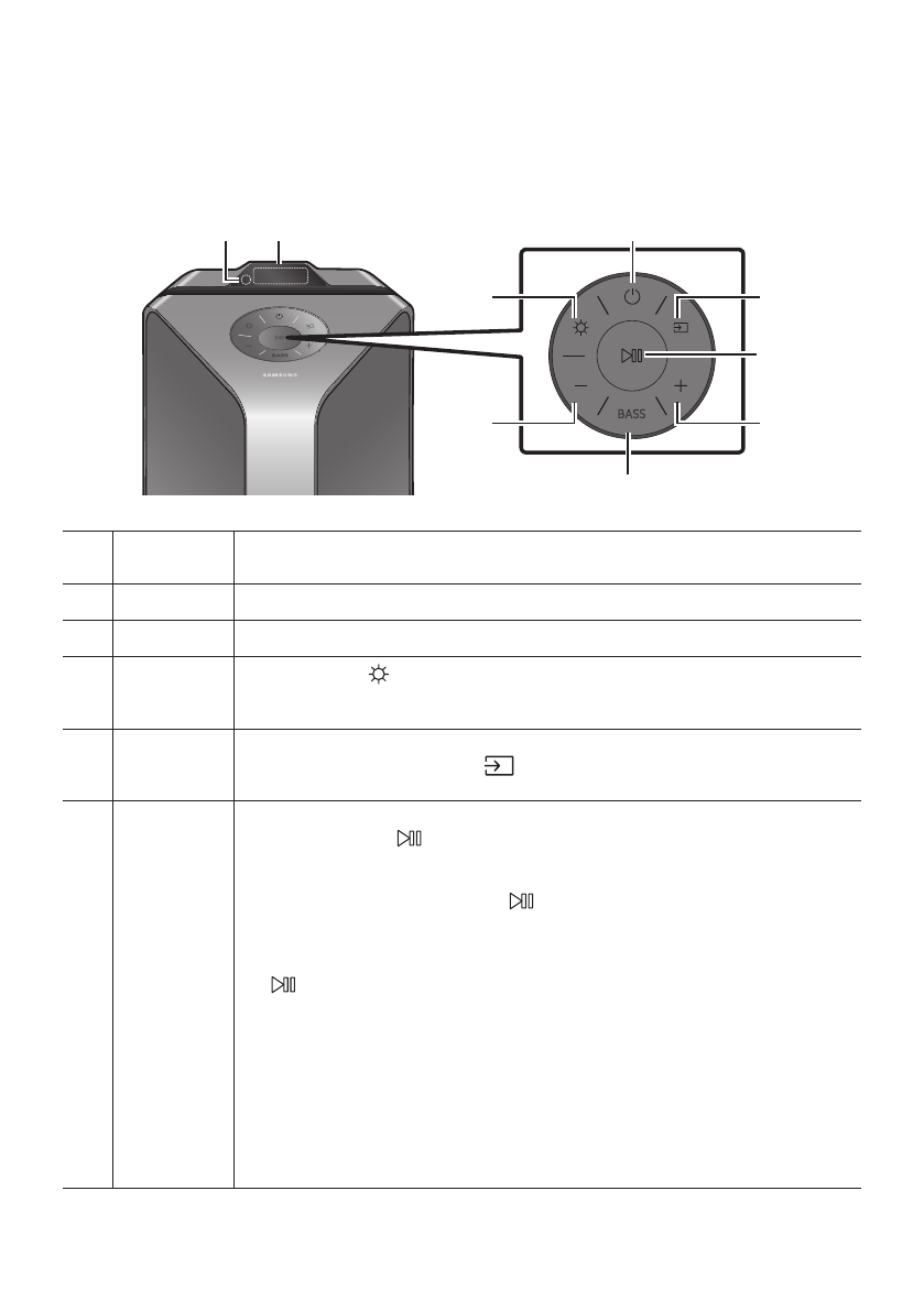
Верхняя панель Party Audio
BASS
Дистанционный
датчик
При эксплуатации Party Audio, пожалуйста, направьте переднюю часть пульта
дистанционного управления на дистанционный датчик.
Окно дисплея
Отображает рабочие сообщения или текущее состояние Party Audio.
Питание
Включает и выключает Party Audio.
Подсветка
Нажмите кнопку
(Подсветка)
, чтобы включить режим подсветки.
Нажмите кнопку несколько раз, чтобы переключиться между доступными режимами
освещения:
AMBIENT
,
PARTY
,
DANCE
,
THUNDERBOLT
,
STAR
или
OFF.
Источник
Нажмите эту кнопку для выбора источника, подключенного к Party Audio.
Нажмите и удерживайте кнопку
(Источник)
в течение более 5 секунд, чтобы
войти в режим “
BT PAIRING
”.
Воспроизведение
/ Пауза
•
Воспроизведение / Пауза
Нажмите кнопку
для приостановки воспроизведения музыкального файла.
При повторном нажатии кнопки воспроизводится музыкальный файл.
•
Демонстрационное воспроизведение
Нажмите и удерживайте кнопку
в течение более 5 секунд, чтобы начать
Демонстрационное воспроизведение, пока система включена. “
DEMO
”
появляется на дисплее и воспроизводит демо-музыку в течение 60 секунд. Для
отмены Демонстрационное воспроизведение, нажмите и удерживайте кнопку
в течение более 5 секунд во время Демонстрационное воспроизведение.
–
Если вы вводите какие-либо команды во время Демонстрационное
воспроизведение, таймер, установленный на 60 секунд, обновляется.
–
Все кнопки на пульте дистанционного управления и задней панели
отключаются во время Демонстрационное воспроизведение. Если вы
хотите использовать пульт дистанционного управления, отмените
демонстрационное воспроизведение.
–
Демонстрационное воспроизведение демонстрационное
воспроизведение отменяется при смене источника питания или
выключении системы.













