Музыкальные центры JVC UX-G4 - инструкция пользователя по применению, эксплуатации и установке на русском языке. Мы надеемся, она поможет вам решить возникшие у вас вопросы при эксплуатации техники.
Если остались вопросы, задайте их в комментариях после инструкции.
"Загружаем инструкцию", означает, что нужно подождать пока файл загрузится и можно будет его читать онлайн. Некоторые инструкции очень большие и время их появления зависит от вашей скорости интернета.

12
Polski
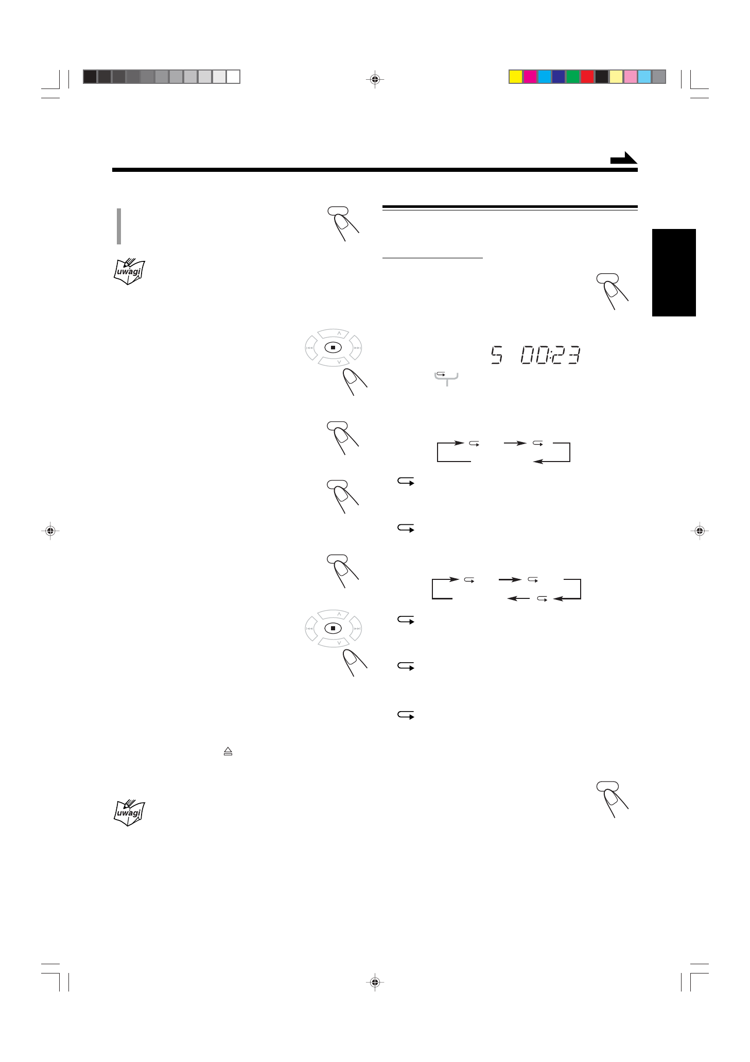
Powtarzanie utworów—Odtwarzanie powtarzalne
Możesz powtarzać odtwarzanie utworu, płyty lub programu
tak wiele razy, ile zechcesz.
TYLKO na
pilocie
:
Na
cis
kaj kilka razy REPEAT
przed lub w trak
cie
odtwarza
nia
.
• Za każdym naciśnięciem tego przycisku tryb
powtarzania i komunikat na wyświetlaczu
zmieniają się w następujący sposób:
Podczas odtwarzania audio CD:
ALL:
Przy odtwarzaniu normalnym powtarzanie
wszystkich utworów.
Przy odtwarzaniu programowalnym,
powtarzanie wszystkich utworów z programu.
:
Powtarzanie jednego utworu.
Podczas odtwarzania płyty MP3:
ALL
: Przy odtwarzaniu normalnym powtarzanie
wszystkich utworów.
W trybie odtwarzania zaprogramowanego,
powtarza wszystkie ścieżki z programu.
GR.:
Przy odtwarzaniu normalnym powtarzanie
wszystkich utworów z grupy.
Przy odtwarzaniu programowalnym i
losowym funkcja jest niedostępna.
:
Powtarzanie jednego utworu.
Przy odtwarzaniu losowym funkcja jest
niedostępna.
Aby wyłączyć odtwarza
nie
powtarzalne,
naciskaj kilka razy REPEAT, aż z wyświetlacza
zniknie wskaźnik powtarzania.
PROGRAM
PRESET
GROUP
PRESET
GROUP
UP
DOWN
RDS SEARCH
REPEAT
Wyłączone
ALL
Wskaźniki powtarzania
ON
DAILY 123
OFF
ALL
GR.
RDS
MHz
kHz
SLEEP SNOOZE
REC
ST
MP3
MONO
SOUND BASS REC
A.STANDBY
PRGM RANDOM
ALL
GR.
PROGRAM
5
Naciś
nij
CD
3
3
3
3
3
/
8
8
8
8
8
.
Utwory zostają odtworzone w
zaprogramowanej kolejności.
Gdy zaprogramujesz 60-tą ś
cie
żkę
Na wyświetlaczu pojawi się na chwilę komunikat „FULL” .
Aby zatrzymać odtwarza
nie
,
naciśnij
7
.
Aby sprawdzić zawartość programu
Można sprawdzić zawartość programu, naciskając
PROGRAM przed lub po odtwarzaniu.
Modyfikowanie programu
Naciskaj kilka razy PROGRAM, aby wybrać krok
programu, który zamierzasz zmienić, następnie
powtórz krok
3
procedury programowania.
• Naciśnięcie 0 powoduje skasowanie danego kroku.
Aby dodać utwory do programu,
naciskaj
kilka razy PROGRAM, aż jako numer utworu
pojawi się „0”. Następnie powtórz krok
3
procedury programowania.
Wyjście z trybu odtwarzania
zaprogramowanego
Naciśnij przycisk
7
, gdy odtwarzanie jest
zatrzymane.
Wskaźnik
PRGM
zniknie z wyświetlacza.
Aby skasować program
Naciśnij i przytrzymaj przez co najmniej 2 sekundy przycisk
r7
, gdy na wyświetlaczu pali się wskaźnik
PRGM
.
• Jeśli naciśniesz przycisk , aby wyjąć płytę, gdy
odtwarzacz CD jest wybrany jako źródło, program również
zostanie skasowany.
Gdy pali się wskaźnik
PRGM
Nie działa funkcja automatycznego wyłączania.
CD
s6
PRESET
GROUP
PRESET
GROUP
UP
DOWN
PROGRAM
RDS SEARCH
REPEAT
Ciąg dalszy
Wyłączone
10-14_UX-H330&H300[B]3.p65
2005-05-19, 11:21
12