Мультиметры PEAKMETER PM18C 17117 - инструкция пользователя по применению, эксплуатации и установке на русском языке. Мы надеемся, она поможет вам решить возникшие у вас вопросы при эксплуатации техники.
Если остались вопросы, задайте их в комментариях после инструкции.
"Загружаем инструкцию", означает, что нужно подождать пока файл загрузится и можно будет его читать онлайн. Некоторые инструкции очень большие и время их появления зависит от вашей скорости интернета.

PeakMeter
ИНСТРУКЦИЯ
ПО
ЭКСПЛУАТАЦИИ
: PM18
С
6
4.2.7.
Коэффициент
усиления
транзисторов
Режим
Описание
Условия
измерения
hFE
На
дисплее
отображается
при
-
близительное
значение
коэф
-
фициента
усиления
транзистора
(hFE)
в
диапазоне
0–1000
Ток
базы
:
около
10
мкА
Напряжение
коллектор
-
эмиттер
V
ce
около
2,8
В
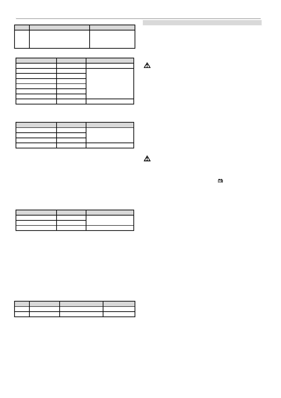
4.2.8.
Емкость
Предел
измерения
Разрешение
Точность
6
нФ
0,001
нФ
±(4,0%+30)
60
нФ
0,01
нФ
±(4,0%+3)
600
нФ
0,1
нФ
6
мкФ
1
нФ
60
мкФ
10
нФ
600
мкФ
100
нФ
6
мФ
1
мкФ
100
мФ
0,01
мФ
±(5,0%+3)
Защита
от
перегрузки
:
постоянное
или
переменное
напряжение
600
В
4.2.9.
Постоянный
ток
Предел
измерения
Разрешение
Точность
60
мкА
0,01
мкА
±(0,8%+3)
60
мА
0,01
мА
600
мА
0,1
мА
20,00
А
10
мА
±(1,2%+3)
Защита
от
перегрузки
:
в
диапазонах
мА
сверхбыстрый
предохранитель
FF 630
мА
/250
В
;
в
диапазоне
20
А
сверхбыстрый
предохранитель
FF 20
А
/250
В
.
Максимальный
входной
ток
:
в
диапазонах
мА
–
постоянный
и
переменный
ток
600
мА
(
дей
-
ствительное
значение
);
в
диапазоне
20
А
–
постоянный
и
переменный
ток
20
А
(
действи
-
тельное
значение
).
Если
измеряемый
ток
превышает
5
А
,
продолжительность
не
-
прерывных
измерений
не
должна
быть
более
10
с
.
При
этом
сле
-
дующее
измерение
должно
выполняться
не
менее
,
чем
через
минуту
после
завершения
предыдущего
измерения
.
4.2.10.
Переменный
ток
Предел
измерения
Разрешение
Точность
60
мА
0,01
мА
±(1%+3)
600
мА
0,1
мА
20,00
А
10
мА
±(1,5%+3)
Защита
от
перегрузки
:
в
диапазонах
мА
сверхбыстрый
предохранитель
FF 630
мА
/250
В
;
в
диапазоне
20
А
сверхбыстрый
предохранитель
FF 20
А
/250
В
.
Максимальный
входной
ток
:
в
диапазонах
мА
–
постоянный
и
переменный
ток
600
мА
(
дей
-
ствительное
значение
);
в
диапазоне
20
А
–
постоянный
и
переменный
ток
20
А
(
действи
-
тельное
значение
).
Если
измеряемый
ток
превышает
5
А
,
продолжительность
не
-
прерывных
измерений
не
должна
быть
более
10
с
.
При
этом
сле
-
дующее
измерение
должно
выполняться
не
менее
,
чем
через
минуту
после
завершения
предыдущего
измерения
.
Частотный
диапазон
: 40
Гц
– 1
кГц
Отклик
:
истинное
среднеквадратичное
значение
.
4.2.11.
Температура
Шкала
Разрешение
Диапазон
измерения
Точность
°
С
1°
С
-20°
С
–1000°
С
±(1,0%+3)
°F
1°F
-4°F–1832°F
±(1,0%+3)
Защита
от
перегрузки
:
постоянное
или
переменное
напряжение
600
В
5.
ТЕХНИЧЕСКОЕ
ОБСЛУЖИВАНИЕ
В
этом
разделе
дана
базовая
информация
по
обслуживанию
мультиметра
,
включая
описания
процедур
замены
предохрани
-
телей
и
батарей
.
Не
пытайтесь
выполнять
обслуживание
муль
-
тиметра
,
если
вы
не
имеете
достаточного
опыта
и
не
ознакомле
-
ны
с
информацией
о
калибровке
,
проверке
качества
работы
и
техническом
обслуживании
прибора
.
5.1.
Общее
обслуживание
Предупреждение
Во
избежание
поражения
электрическим
током
или
повре
-
ждения
мультиметра
не
пытайтесь
очищать
внутренние
эле
-
менты
мультиметра
.
Прежде
чем
открывать
корпус
,
отсо
-
едините
от
него
измерительные
провода
.
Регулярно
протирайте
корпус
мультиметра
влажной
тканью
с
небольшим
количеством
моющего
средства
.
Не
используйте
абразивов
и
химических
растворителей
.
Грязь
или
влага
во
входных
гнездах
могут
повлиять
на
показания
прибора
.
Для
очистки
входных
гнезд
нужно
выполнить
следующие
дей
-
ствия
:
•
Выключите
мультиметр
и
отсоедините
измерительные
про
-
вода
.
•
Вытрясите
грязь
,
которая
могла
попасть
в
гнезда
.
•
Пропитайте
чистый
тампон
чистящим
или
смазочным
сред
-
ством
и
протрите
тампоном
каждое
гнездо
.
Смазочное
сред
-
ство
изолирует
гнезда
от
загрязнений
,
содержащих
влагу
.
5.2.
Замена
батарей
и
предохранителей
Предупреждение
Во
избежание
поражения
электрическим
током
или
получе
-
ния
травм
в
результате
неверных
измерений
батареи
следу
-
ет
заменять
на
новые
сразу
,
как
только
на
дисплее
появля
-
ется
индикатор
разряженной
батареи
«
»
.
Допускается
использование
предохранителей
только
с
ука
-
занными
в
данной
инструкции
характеристиками
(
сверх
-
быстрые
FF 630
мА
/250
В
, FF 20
А
/250
В
).
Во
избежание
поражения
электрическим
током
и
получения
травм
не
пытайтесь
открывать
крышку
батарейного
отсека
,
пока
удостоверитесь
,
что
мультиметр
выключен
,
а
измери
-
тельные
провода
отсоединены
от
любых
обследуемых
це
-
пей
.
Для
замены
батареи
выполните
следующие
действия
:
1.
Отключите
питание
мультиметра
2.
Отсоедините
от
него
измерительные
провода
.
3.
С
помощью
отвертки
выверните
винты
,
фиксирующие
крышку
батарейного
отсека
.
4.
Снимите
крышку
батарейного
отсека
.
5.
Извлеките
разряженные
батареи
или
перегоревшие
предохра
-
нители
.
6.
Вставьте
на
их
место
четыре
свежие
батареи
на
1,5
В
(
АА
)
или
новые
предохранители
.
7.
Установите
на
место
крышку
батарейного
отсека
и
закрепите
ее
винтами
.