Мотоциклы HONDA XL700VA Transalp - инструкция пользователя по применению, эксплуатации и установке на русском языке. Мы надеемся, она поможет вам решить возникшие у вас вопросы при эксплуатации техники.
Если остались вопросы, задайте их в комментариях после инструкции.
"Загружаем инструкцию", означает, что нужно подождать пока файл загрузится и можно будет его читать онлайн. Некоторые инструкции очень большие и время их появления зависит от вашей скорости интернета.

103
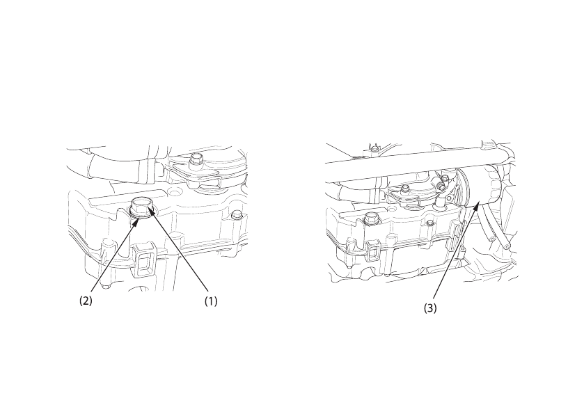
(1) Сливная пробка (2) Уплотнительная шайба (3) Масляный фильтр
1.Для слива масла выверните пробку за*
ливного отверстия и сливную пробку (1)
с уплотнительной шайбой (2).
2.Снимите нижний кожух (стр. 75).
3.С помощью специального ключа откру*
тите масляный фильтр (3) и дайте стечь
остаткам масла. Сдайте использованный
масляный фильтр в утилизацию.
Содержание
- 3 РУКОВОДСТВО ПО ЭКСПЛУАТАЦИИ; каких.либо обязательств со своей стороны.
- 4 ДОБРО ПОЖАЛОВАТЬ; Вашей наградой будет свобода.
- 6 НЕСКОЛЬКО СЛОВ О БЕЗОПАСНОСТИ; •Предупреждающие таблички
- 7 •Заголовки, относящиеся к безопасности; – такие, как важные предостережения или; •Раздел “Безопасность”; – относящийся к безопасности, связанной с мотоциклом.; •Инструкции; – объясняющие, как правильно и безопасно пользоваться мотоциклом.; ОПАСНОСТЬ; ПРЕДУПРЕЖДЕНИЕ
- 8 УПРАВЛЕНИЕ
- 10 ВАНИЕ; ПО ХРАНЕНИЮ
- 11 ЩАЯСЯ К БЕЗОПАСНОСТИ
- 17 Аксессуары и модификации
- 20 УЗЛЫ И ИХ РАСПОЛОЖЕНИЕ
- 23 ПРИБОРЫ И ИНДИКАТОРЫ; Индикаторы и сигнализаторы располага*
- 24 Функционирование
- 30 Используйте эту кнопку для:
- 31 Исходный режим индикации
- 32 Многофункциональный дисплей; Сигнализатор высокой температуры
- 35 Спидометр; Показывает скорость движения.; Переключение единиц; указатель обратного пробега отобража*
- 36 Дисплей может выполнять три функции:
- 38 Указатель обратного пробега
- 39 Пример
- 41 Дисплей цифровых часов/секундомера; вых часов и секундомера.
- 42 Цифровые часы
- 45 Секундомер
- 47 Указатель уровня топлива
- 50 ПРИМЕЧАНИЕ
- 51 ОСНОВНЫЕ АГРЕГАТЫ; Задняя подвеска
- 53 ТОРМОЗА
- 56 СЦЕПЛЕНИЕ
- 59 Проверка
- 60 ВНИМАНИЕ; ТОПЛИВО
- 66 Износ протектора
- 67 Ремонт и замена камеры
- 68 Замена шин
- 69 ЗАМОК ЗАЖИГАНИЯ
- 70 КЛЮЧИ; Данный мотоцикл укомплектован дву*
- 75 Выключатель двигателя
- 76 света фары
- 77 аварийной сигнализации
- 78 ПРОЧЕЕ ОБОРУДОВАНИЕ; Для блокирования руля поверните его; Разблокировать
- 79 СЕДЛО
- 80 ДЕРЖАТЕЛЬ ШЛЕМА; Держатель шлема находится под седлом.
- 81 ЦЕНТРАЛЬНЫЙ БАГАЖНЫЙ ОТСЕК; кг
- 83 БОКОВАЯ ПАНЕЛЬ
- 84 ПРАВЫЙ КОЖУХ; Для проведения технического обслужива*
- 85 НИЖНИЙ КОЖУХ; Установка выполняется в порядке,
- 87 ОСМОТР ПЕРЕД ПОЕЗДКОЙ
- 89 ПУСК ДВИГАТЕЛЯ
- 92 ОБКАТКА
- 93 ВОЖДЕНИЕ
- 95 ТОРМОЖЕНИЕ
- 98 Сигнализатор антиблокировочной
- 99 СТОЯНКА
- 101 ТЕХНИЧЕСКОЕ ОБСЛУЖИВАНИЕ
- 102 МЕРЫ БЕЗОПАСНОСТИ
- 104 ПЕРИОДИЧНОСТЬ ТЕХНИЧЕСКОГО ОБСЛУЖИВАНИЯ
- 107 КОМПЛЕКТ ИНСТРУМЕНТА
- 108 ИДЕНТИФИКАЦИОННЫЕ НОМЕРА
- 109 Она понадобится при заказе запасных час*
- 112 Моторное масло и масляный фильтр
- 116 ВЕНТИЛЯЦИЯ КАРТЕРА
- 122 ОХЛАЖДАЮЩАЯ ЖИДКОСТЬ
- 123 ПРИВОДНАЯ ЦЕПЬ
- 125 мм
- 129 Ознакомьтесь с правилами техники безо*
- 131 БОКОВОЙ УПОР
- 134 Установка переднего колеса; Нм
- 136 Снятие заднего колеса
- 139 Задний тормоз; са какой*либо из колодок равна глубине
- 140 АККУМУЛЯТОРНАЯ БАТАРЕЯ
- 145 РЕГУЛИРОВКА ВЫКЛЮЧАТЕЛЯ
- 146 ЗАМЕНА ЛАМП
- 147 Лампа фары; против часовой стрелки.
- 148 Лампа стояночного фонаря; операции в обратном порядке.
- 149 Лампа стоп.сигнала и заднего фонаря; 0° против часовой стрелки и потяните на
- 150 её против часовой стрелки.
- 151 ря освещения регистрационного знака,
- 152 УХОД; Мойка мотоцикла
- 153 Уход за лакокрасочным покрытием
- 155 РЕКОМЕНДАЦИИ; ХРАНЕНИЕ
- 158 ТЕХНИЧЕСКИЕ ХАРАКТЕРИСТИКИ; РАЗМЕРЫ
- 159 ДВИГАТЕЛЬ
- 160 ШАССИ И ПОДВЕСКА; ТРАНСМИССИЯ
