Мотоциклы HONDA PCBR600FA 2011 - инструкция пользователя по применению, эксплуатации и установке на русском языке. Мы надеемся, она поможет вам решить возникшие у вас вопросы при эксплуатации техники.
Если остались вопросы, задайте их в комментариях после инструкции.
"Загружаем инструкцию", означает, что нужно подождать пока файл загрузится и можно будет его читать онлайн. Некоторые инструкции очень большие и время их появления зависит от вашей скорости интернета.

25
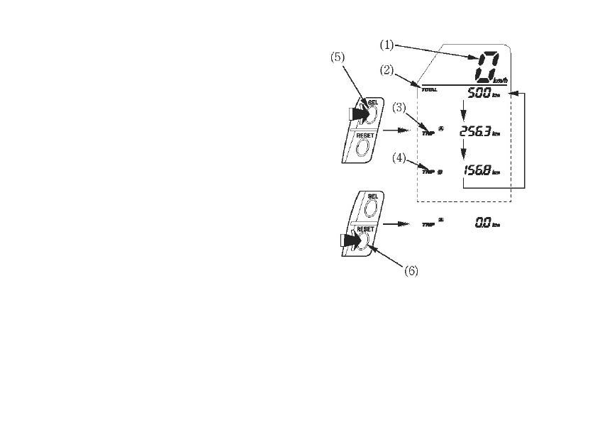
Спидометр/Одометр/Указатель пробега за
поездку/Блок переключения показаний ско:
рости и пробега
Спидометр
Показывает скорость движения.
Дисплей одометра/Указателя пробега за
поездку
Одометр (2) отображает совокупный пробег.
Указатель пробега за поездку показывает
пробег за данную поездку
Существует два указателя пробега за поездку:
указатель пробега за поездку А (3) и указа>
тель пробега за поездку В (4).
Для переключения показаний дисплея между
одометром, указателем пробега за поездку А и
указателем пробега за поездку В необходи>мо
нажать кнопку SEL.
Для сброса показаний указателей пробега за
поездку А или В (когда дисплей находится в
режиме отображения показаний соответст >
вующего указателя) нажмите и удерживайте
нажатой кнопку сброса RESET (6).
(1) Спидометр
(2) Одометр
(3) Указатель пробега за поездку А
(4) Указатель пробега за поездку В
(5) Кнопка SEL (ВЫБОР)
(6) Кнопка RESET (СБРОС)
Содержание
- 3 РУКОВОДСТВО ПО ЭКСПЛУАТАЦИИ
- 4 ДОБРО ПОЖАЛОВАТЬ; ущерба чужой собственности и окружающей среде.
- 6 НЕСКОЛЬКО СЛОВ О БЕЗОПАСНОСТИ; • Предупреждающие таблички; > перед которой помещен символ внимания и одно; ОПАСНОСТЬ, ПРЕДОСТЕРЕЖЕНИЕ или ПРЕДУПРЕЖДЕНИЕ.; Эти сигнальные слова означают следующее:
- 7 Заголовки, относящиеся к безопасности; > такие, как важные предостережения или требования; Инструкции; ОПАСНОСТЬ; ПРЕДОСТЕРЕЖЕНИЕ
- 8 ЭКСПЛУАТАЦИЯ; БЕЗОПАСНОСТЬ МОТОЦИКЛА
- 9 cтраница; 2 ПРОЧЕЕ ОБОРУДОВАНИЕ; ФАРЫ ПО ВЫСОТЕ; 1 ЭКСПЛУАТАЦИЯ МОТОЦИКЛА; МОТОЦИКЛА ОТ ПОХИЩЕНИЯ
- 11 Всегда надевайте шлем
- 12 ЗАЩИТНАЯ ОДЕЖДА
- 13 Шлемы и защитные очки
- 14 Загрузка
- 18 Изменения конструкции
- 19 УЗЛЫ И ИХ РАСПОЛОЖЕНИЕ
- 22 ПРИБОРЫ И ИНДИКАТОРЫ; руля с электронным управлением HESD
- 23 Функционирование; топлива
- 24 ПРИМЕЧАНИЕ
- 25 Спидометр
- 29 Исходный режим индикации
- 30 Указатель уровня топлива; Деление F
- 32 Многофункциональный дисплей
- 33 Индикация температуры:; кости
- 34 дающей жидкости
- 35 Показывает скорость движения.
- 37 Цифровые часы; Для установки показаний часов нажмите и
- 39 (1) Регулятор предварительного сжатия пружины
- 40 ляторов с обеих сторон вилки.
- 42 Задняя подвеска
- 43 Поворот регулятора на 20 щелчков против
- 45 ТОРМОЗА
- 48 СЦЕПЛЕНИЕ; Если регулятор вывернут почти до предела,
- 51 Проверка; бачка
- 56 БЕСКАМЕРНЫЕ ШИНЫ; Давление воздуха в шинах
- 57 Чрезмерный износ протектора.
- 58 Износ протектора; Минимальная глубина протектора
- 59 Ремонт шины
- 62 МЕХАНИЗМЫ И ОРГАНЫ УПРАВЛЕНИЯ; ЗАМОК ЗАЖИГАНИЯ; Положение ключа зажигания; нельзя извлечь из замка
- 72 ПРОЧЕЕ ОБОРУДОВАНИЕ; БЛОКИРАТОР РУЛЯ
- 74 Заднее седло
- 75 ДЕРЖАТЕЛЬ ШЛЕМА
- 76 ПАКЕТ ДЛЯ ДОКУМЕНТОВ
- 78 НИЖНИЙ КОЖУХ
- 79 ЦЕНТРАЛЬНЫЙ КОЖУХ; Осторожно отсоедините фиксаторы.
- 81 ЭКСПЛУАТАЦИЯ МОТОЦИКЛА; ОСМОТР ПЕРЕД ПОЕЗДКОЙ; Уровень охлаждающей жидкости > добавьте
- 83 ПУСК ДВИГАТЕЛЯ
- 84 Подготовка к работе; Сигнализатор системы HESD не горит.
- 85 Процедура запуска; закрытой дроссельной заслонке.
- 86 Заливание цилиндров топливом; Полностью откройте дроссельную заслон>; Отключение зажигания
- 87 ОБКАТКА МОТОЦИКЛА
- 88 ЕЗДА НА МОТОЦИКЛЕ; цикл готов к поездке.
- 89 Для плавного снижения скорости коорди>
- 90 ТОРМОЖЕНИЕ; Важная информация по безопасности:
- 91 СТОЯНКА МОТОЦИКЛА; После остановки мотоцикла включите
- 93 ВАЖНОСТЬ ТЕХНИЧЕСКОГО ОБСЛУЖИВАНИЯ
- 96 РЕГЛАМЕНТ ТЕХНИЧЕСКОГО ОБСЛУЖИВАНИЯ
- 99 КОМПЛЕКТ ИНСТРУМЕНТОВ
- 100 ИДЕНТИФИКАЦИОННЫЕ НОМЕРА; РАМА No
- 101 ЭТИКЕТКА С ОБОЗНАЧЕНИЕМ КРАСКИ; ЦВЕТ
- 102 Вязкость; НЕ РЕКОМЕНДУЕТСЯ РЕКОМЕНДУЕТСЯ
- 103 масло
- 104 Моторное масло и масляный фильтр
- 106 С помощью специального ключа для
- 107 (8) Уплотнительное кольцо масляного фильтра
- 109 Выкрутите верхний крепежный болт радиа>
- 110 Снимите защитную панель магистрали сис>; дения
- 112 (15) Зазор между электродами свечи зажигания
- 114 Измерьте свободный ход рукоятки управле>
- 116 ПРИВОДНАЯ ЦЕПЬ; Проверьте прогиб нижней петли приводной
- 120 Приводная цепь для замены:
- 122 НАПРАВЛЯЮЩАЯ ПРИВОДНОЙ ЦЕПИ
- 123 ПРОВЕРКА ПЕРЕДНЕЙ И ЗАДНЕЙ ПОДВЕСКИ; Проверьте состояние узла передней вилки,
- 124 БОКОВОЙ УПОР; Проверка функционирования:
- 125 Приподнимите переднее колесо над опор>
- 126 нее колесо и боковые втулки.
- 127 Установка переднего колеса
- 128 Затяните стяжные болты на правом пере
- 129 Снятие заднего колеса; Приподнимите заднее колесо над опорной
- 132 Задний тормоз
- 134 Проверьте надежность затяжки всех болтов
- 139 ЗАМЕНА ЛАМП
- 140 Лампа фары; вернув ее против часовой стрелки.
- 141 Стояночный фонарь
- 144 Освещение регистрационного знака; (1) Фонарь освещения регистрационного знака
- 146 Мойка мотоцикла
- 147 Промойте мотоцикл холодной водой
- 148 Очистка матовых поверхностей
- 149 Уход за выхлопной трубой и глушителем
- 150 Замените масло в двигателе и масляный
- 153 ТЕХНИЧЕСКИЕ ХАРАКТЕРИСТИКИ МОТОЦИКЛА; РАЗМЕРЫ
- 154 ДВИГАТЕЛЬ
- 155 ШАССИ И ПОДВЕСКА
- 156 ТРАНСМИССИЯ; Первичная понижающая передача
- 158 КАТАЛИТИЧЕСКИЙ НЕЙТРАЛИЗАТОР; Правильно регулируйте двигатель.
