Мотоциклы HONDA GL1800 2012 - инструкция пользователя по применению, эксплуатации и установке на русском языке. Мы надеемся, она поможет вам решить возникшие у вас вопросы при эксплуатации техники.
Если остались вопросы, задайте их в комментариях после инструкции.
"Загружаем инструкцию", означает, что нужно подождать пока файл загрузится и можно будет его читать онлайн. Некоторые инструкции очень большие и время их появления зависит от вашей скорости интернета.

138
На иллюстрации показаны мотоциклы, оборудованные навигационной системой. Функ-
ции и последовательность действий в случае мотоциклов, не оборудованных навигаци-
онной системой, такие же, как и в случае мотоциклов, оборудованных навигационной
системой.
ПРОЧЕЕ ОБОРУДОВАНИЕ
(Не требуемое для работы мотоцикла)
Воспроизведение
первой композиции
выбранного альбома
Воспроизведение
первой композиции
выбранного
списка
Нажмите рычажок TUNE/CH:
Нажмите и удерживайте нажатым
рычажок TUNE/CH:
Нажмите рычажок TUNE/CH вверх:
Нажмите рычажок TUNE/CH вниз:
Содержание
- 4 ДОБРО ПОЖАЛОВАТЬ; ПРИМЕЧАНИЕ; . Эта информация поможет избежать повреждения мотоцикла и причи-
- 6 НЕСКОЛЬКО СЛОВ О БЕЗОПАСНОСТИ; Предупреждающие таблички; – перед которой помещен символ внима-; ОПАСНОСТЬ; или; ВНИМАНИЕ; Эти сигнальные слова означают следующее:
- 7 Заголовки, относящиеся к безопасности; бования осторожности.; Раздел «Безопасность»; – относящийся к безопасности, связанной с мотоциклом.; Инструкции; – объясняющие, как правильно и безопасно пользоваться данным мото-
- 8 СОДЕРЖАНИЕ; ЭКСПЛУАТАЦИЯ
- 9 ПРОЧЕЕ ОБОРУДОВАНИЕ
- 12 БЕЗОПАСНОСТЬ ЭКСПЛУАТАЦИИ МОТОЦИКЛА; ВАЖНАЯ ИНФОРМАЦИЯ, ОТНОСЯЩАЯСЯ К БЕЗОПАСНОСТИ
- 14 Дополнительные предметы защитного снаряжения
- 15 МАКСИМАЛЬНАЯ ДОПУСТИМАЯ НАГРУЗКА И РЕКОМЕНДАЦИИ; ПРЕДУПРЕЖДЕНИЕ
- 16 груз и дополнительное оборудование.
- 18 Внесение изменений в конструкцию мотоцикла
- 19 ПИКТОГРАММЫ; Внимательно ознакомьтесь с Руководством по эксплуатации.
- 20 подушкой безопасности); Устойчивость и управляемость мотоцикла могут; ТАБЛИЧКА НА ДЕМПФЕРЕ БОКОВОГО КОФРА; СОДЕРЖИМОЕ НАХОДИТСЯ ПОД ДАВЛЕНИЕМ
- 21 BRIDGESTONE
- 22 ТАБЛИЧКА С УКАЗАНИЕМ ТИПА ТОПЛИВА; ТОЛЬКО НЕЭТИЛИРОВАННЫЙ БЕНЗИН
- 23 ТАБЛИЧКА НА АККУМУЛЯТОРНОЙ БАТАРЕЕ; Не приближайте к аккумуляторной батарее источ-
- 29 Кроме KO
- 31 УЗЛЫ И ИХ РАСПОЛОЖЕНИЕ
- 35 Центральный кофр
- 36 ПРИБОРЫ И ИНДИКАТОРЫ
- 39 Загорается при включении дальнего света фары.
- 42 Стрелка
- 43 МНОГОФУНКЦИОНАЛЬНЫЙ ДИСПЛЕЙ
- 44 Заставка начала/завершения сеанса работы
- 45 Заставку начала/завершения сеанса работы можно отключить.
- 46 Одометр/Счетчик пробега за поездку; Одометр
- 47 Регулировка интенсивности подсветки дисплея
- 49 Цифровые часы; желаемого результата.; Кнопка INFO
- 50 Указатель температуры воздуха; Индикация температуры
- 51 Индикатор незакрытого центрального и боковых кофров; Незакрыт центральный кофр; Индикатор незакрытых кофров
- 52 Выбор типа отображаемой на дисплее информации; онного дисплея в сжатом виде отображается в строке под картой.; Кнопка DISP
- 53 Выбор режимов работы информационного дисплея
- 54 ОСНОВНЫЕ УЗЛЫ И АГРЕГАТЫ; ЗАДНЯЯ ПОДВЕСКА
- 59 свободном вращении. Повторите эту операцию несколько раз.; Рычаг тормоза
- 61 СЦЕПЛЕНИЕ; Уровень рабочей жидкости:
- 64 Проверка; Пробка-щуп расширительного бачка
- 65 Емкость топливного бака, включая резервный объем, составляет:; Остановите двигатель и не при-; Ключ зажигания
- 67 Использование спиртосодержащих видов топлива; Повреждению лакокрасочного покрытия топливного бака
- 68 Крышка-щуп маслозаливной горловины
- 69 БЕСКАМЕРНЫЕ ШИНЫ; Давление воздуха в шинах
- 70 Необходимо обратить внимание на следующее:
- 71 Износ протектора; Минимальная глубина протектора; Ремонт шины; Индикатор износа
- 72 Замена шины; Для данного мотоцикла рекомендованы шины, указанные ниже.; BRIDGESTONE G709 RADIAL; Задняя; BRIDGESTONE G704 RADIAL; Тип; радиальная, бескамерная
- 73 Важная информация по безопасности
- 74 МЕХАНИЗМЫ И ОРГАНЫ УПРАВЛЕНИЯ; ЗАМОК ЗАЖИГАНИЯ; ON
- 75 КЛЮЧИ; Старайтесь не ронять ключи и не ставьте на них тяжелые предметы.; Ключи
- 78 Директивы ЕС
- 79 ключатель находится в любом из положений; Кнопка стартера/заднего хода; Выключатель двигателя
- 80 Выключатель круиз-контроля; Для включения системы:; Индткаторы
- 82 Изменение заданной скорости:
- 83 ОРГАНЫ УПРАВЛЕНИЯ НА ЛЕВОЙ РУКОЯТКЕ РУЛЯ; На левой рукоятке руля расположены следующие органы управления:; Переключатель света фар; Нажмите на сторону; Кнопка сигнализации дальним светом фары; Нажмите на кнопку для включения звукового сигнала.; Выключатель указателей поворота; Кнопка звукового сигнала
- 84 ВЫКЛЮЧАТЕЛЬ АВАРИЙНОЙ СИГНАЛИЗАЦИИ; затели поворота начнут мигать одновременно.
- 85 Блокировка
- 86 ЦЕНТРАЛЬНЫЙ И БОКОВЫЕ КОФРЫ; Запереть
- 87 Рычаги защелок; Левый кофр
- 89 СИСТЕМА ДИСТАНЦИОННОГО УПРАВЛЕНИЯ ЗАМКАМИ; Кнопка запирания
- 90 Обращение с пультом дистанционного управления; Кнопка открывания кофра
- 91 Светодиод
- 93 КАРМАН В ОБТЕКАТЕЛЕ / ВЕЩЕВОЙ ОТСЕК; в кармане обтекателя
- 94 КАРМАНЫ В БОКОВИНАХ ЦЕНТРАЛЬНОГО КОФРА; Карманы в боковинах центрального кофра
- 95 РЕГУЛИРОВКА ВЫСОТЫ ВЕТРОВОГО СТЕКЛА; Передвиньте ветровое стекло вверх в необходимое вам положение.; Верхний край
- 97 Вентиляционные решетки обдува ног; Открыть
- 98 Выключатель электроподогрева руля
- 99 Электроподогрев седел
- 100 ДОКУМЕНТАЦИЯ
- 101 РЕГУЛИРОВКА НАПРАВЛЕНИЯ СВЕТА ФАРЫ ПО ВЕРТИКАЛИ; Регулятор светового пучка фары; Подъем
- 102 ГНЕЗДО ПОДКЛЮЧЕНИЯ ДОПОЛНИТЕЛЬНОГО ОБОРУДОВАНИЯ; При длительном потреблении сила тока не должна превышать 5 А.; Блок предохранителей
- 103 АУДИОСИСТЕМА
- 104 Расположение дисплея
- 111 Функции рукоятки/кнопки MODE; ‘‘iPod Menu’’; При выключенной аудиосистеме
- 112 Функции рукоятки/кнопки регулировки громкости; ‘‘NAVI VOL’’; Однократно нажмите рукоятку/кнопку MODE
- 113 Расположение элементов аудиосистемы
- 114 Управление системой; Кнопка AUDIO
- 115 Переключение выхода; Переключение выхода осуществляется нажатием кнопки AUDIO.
- 116 Регулирование уровня громкости; Рычажок регулировки громкости
- 117 Регулировка тембра звука; со скоростью мотоцикла.; РЕЖИМ
- 119 SRS; Для перехода в режим регулировки
- 120 Установка режима короткого звукового сигнала:
- 121 Автоматическая регулировка уровня громкости (AVC)
- 122 Временное уменьшение громкости аудиосистемы; Кнопка MUTE
- 123 Для складывания радиоантенны:; Радиоантенна
- 124 Выбор диапазона; Нажмите кнопку U для переключения между U1/U2.
- 125 Выбор радиостанции
- 126 Предварительная настройка радиостанций; для сохранения этой радиостанции. Нажмите и удерживайте кнопку.
- 127 Автоматический выбор
- 128 Кнопка U
- 129 Рычажок AF
- 130 Рычажок ТА
- 131 Сигнал тревоги
- 132 Функция индикации типа программы PTY; Кнопка PTY
- 133 Установка жанра программы:; Повторите шаги с 3 по 6 для установки других жанров PTY.
- 134 Нажмите кнопку FM для переключения между диапазонами FM1/FM2.
- 137 Кнопки предварительной настройки
- 139 Для выключения этой функции — нажмите другую кнопку.; Кнопка AUX
- 140 Установка входного разъема внешнего источника сигнала; дне кармана обтекателя.
- 143 Поддерживаемые форматы аудиофайлов; Пункт
- 145 Кабель USB; Подключение; Переходник
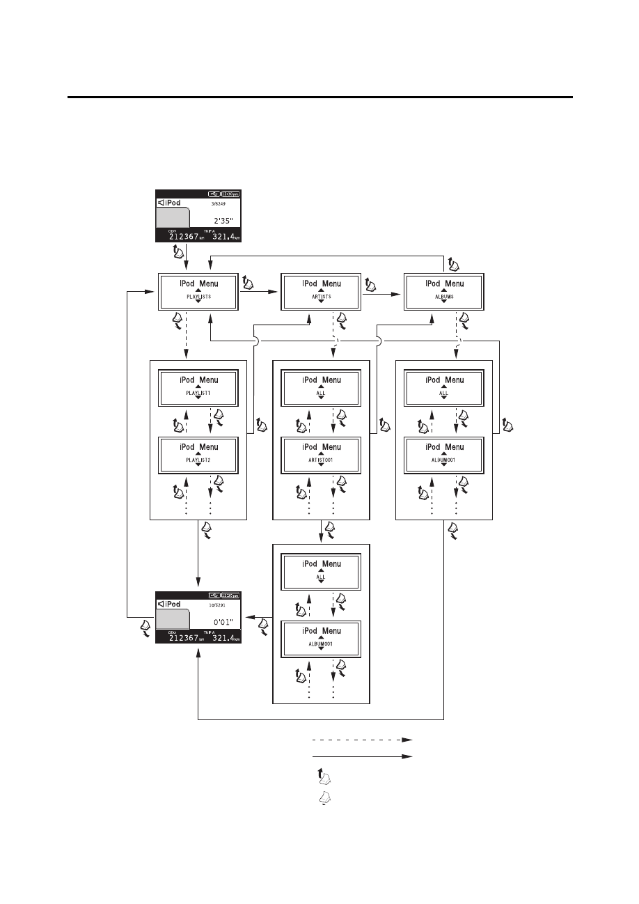
- 146 Воспроизведение аудиофайлов с iPod®; Индикатор iPod®
- 147 Кнопка RETURN
- 150 RPT
- 151 Воспроизведение аудиофайлов с устройства USB; Если вы выберете RETURN, то вернетесь на предыдущий экран.; Индикатор USB
- 154 Сообщения об ошибках устройства USB; Сообщение
- 155 Для включения системы
- 156 Рукоятка/кнопка регулировки громкости
- 157 Временное понижение громкости интеркома
- 158 Переключение выхода осуществляется нажатием кнопки NAVI.; Кнопка NAVI
- 159 Регулировка громкости навигационной системы
- 160 ОСМОТР ПЕРЕД ПОЕЗДКОЙ; Сцепление – проверьте уровень рабочей жидкости сцепления.
- 161 ПУСК ДВИГАТЕЛЯ
- 162 Подготовка к пуску; Горит сигнализатор падения давления масла.
- 163 Процедура запуска двигателя; Независимо от температуры окружающего воздуха:; Заливание свечей зажигания топливом
- 164 ОБКАТКА
- 165 ЕЗДА
- 166 ЗАДНИЙ ХОД; боковая опора поднята.
- 167 хода дольше одной минуты.
- 168 ТОРМОЖЕНИЕ; Важная информация по безопасности:
- 169 Комбинированная антиблокировочная система
- 170 Сигнализатор антиблокировочной системы (ABS)
- 171 СТОЯНКА; извлеките ключ из замка зажигания.
- 172 РЕКОМЕНДАЦИИ ПО ЗАЩИТЕ ОТ УГОНА; простое правило, но многие забывают ему следовать.
- 177 ТЕХНИЧЕСКОЕ ОБСЛУЖИВАНИЕ
- 180 КОМПЛЕКТ ИНСТРУМЕНТА; Ремень инструментальной сумки
- 181 СЕРИЙНЫЕ НОМЕРА; Номер рамы
- 182 ЭТИКЕТКА С ОБОЗНАЧЕНИЕМ КРАСКИ; Табличка с кодом краски
- 183 СНЯТИЕ КОЖУХОВ; Ознакомьтесь с правилами техники безопасности на стр. 164.; Боковой кожух двигателя
- 184 Втулки
- 185 освободятся из прорезей крепления.
- 186 Установка выполняется в порядке, обратном процедуре снятия.; Боковой кожух головки цилиндра
- 187 Передний нижний кожух; Фиксатор
- 188 ФИКСАТОР
- 191 Моторное масло и масляный фильтр
- 192 из картера и уплотнительную шайбу.; Сливная пробка картера
- 193 масляный фильтр и затяните его моментом:
- 194 САПУН КАРТЕРА; Пробка вентиляционной трубки картера
- 195 СВЕЧИ ЗАЖИГАНИЯ; провода высокого напряжения при снятии наконечников.; Свечной ключ
- 198 ПРОВЕРКА ПЕРЕДНЕЙ И ЗАДНЕЙ ПОДВЕСКИ
- 199 БОКОВОЙ УПОР; Пружина
- 200 СНЯТИЕ КОЛЕСА; Снятие переднего колеса; тормозном шланге. Не перекручивайте тормозной шланг.
- 201 Изоляционная лента
- 203 УСТАНОВКА ПЕРЕДНЕГО КОЛЕСА; Углубленная поверхность
- 204 Удалите защитную пленку с переднего колеса.; Плоский щуп
- 205 Снятие заднего колеса; пульсное кольцо датчика антиблокировочной системы.
- 207 Установка заднего колеса
- 208 ИЗНОС ТОРМОЗНЫХ КОЛОДОК; Передний тормоз; Канавки
- 209 ПРОВЕРКА ТОРМОЗНОЙ СИСТЕМЫ; Левый суппорт в сборе
- 210 АККУМУЛЯТОРНАЯ БАТАРЕЯ
- 211 Проверьте надежность затяжки всех болтов и соединений.
- 213 Главный предохранитель:; Главный предохранитель А
- 214 ЗАМЕНА ЛАМП
- 215 Лампа дальнего света фары
- 216 Лампа фары ближнего света; Шпилька
- 217 Гайки
- 218 Лампы передних указателей поворота; Зеркало заднего вида
- 219 Лампы задних указателей поворота/заднего фонаря
- 220 Лампа фонаря освещения регистрационного знака; Винты
- 221 УХОД; Дайте двигателю и системе выпуска остыть.
- 222 После очистки просушите мягкой сухой ветошью.
- 223 Уход за лакокрасочным покрытием
- 225 РЕКОМЕНДАЦИИ ПО ХРАНЕНИЮ; ХРАНЕНИЕ
- 226 РАСКОНСЕРВАЦИЯ ПОСЛЕ ХРАНЕНИЯ
- 227 В СЛУЧАЕ АВАРИИ
- 228 ТЕХНИЧЕСКИЕ ХАРАКТЕРИСТИКИ; РАЗМЕРЫ; мм; ЗАПРАВОЧНЫЕ ЕМКОСТИ; Водитель и один пассажир; ДВИГАТЕЛЬ; Выпускные
- 229 ШАССИ И ПОДВЕСКА; ТРАНСМИССИЯ
- 231 КАТАЛИТИЧЕСКИЙ НЕЙТРАЛИЗАТОР; Поддерживайте двигатель в исправном состоянии.
