Морозильные камеры Electrolux LYB1AE9W0 - инструкция пользователя по применению, эксплуатации и установке на русском языке. Мы надеемся, она поможет вам решить возникшие у вас вопросы при эксплуатации техники.
Если остались вопросы, задайте их в комментариях после инструкции.
"Загружаем инструкцию", означает, что нужно подождать пока файл загрузится и можно будет его читать онлайн. Некоторые инструкции очень большие и время их появления зависит от вашей скорости интернета.

регульованих ніжок, розташованих
спереду знизу.
3.6 Установлення дверцят на
інший бік
Дивіться окремі інструкції щодо
встановлення й перевішування
дверцят на інший бік.
УВАГА
На кожному етапі
перевішування дверцят на
інший бік захищайте
підлогу міцним матеріалом.
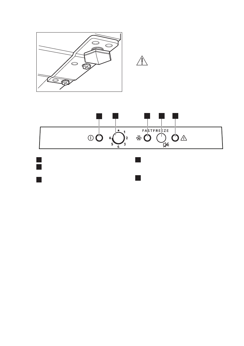
4. ПАНЕЛЬ КЕРУВАННЯ
1
2
3
4
5
1
Індикатор живлення
2
Регулятор температури та
перемикач «Увімк./Вимк.»
3
Індикатор FastFreeze
4
Перемикач FastFreeze і кнопка
скидання попереджувального
сигналу
5
Сигнальна підсвітка
4.1 Увімкнення
1. Вставте вилку у стінну розетку.
2. Поверніть регулятор температури
за годинниковою стрілкою в
середнє положення.
Якщо всередині приладу надто висока
температура, почне блимати
сигнальна лампочка й лунатиме
звуковий сигнал.
3. Натисніть перемикач FastFreeze, і
звуковий сигнал вимкнеться.
Сигнальна лампочка блиматиме,
доки температура у відділенні не
досягне рівня, необхідного для
безпечного зберігання
заморожених продуктів.
4.2 Вимикання
1. Поверніть регулятор температури
в положення «O».
Індикатор живлення згасне.
2. Витягніть вилку з електричної
розетки.
4.3 Регулювання температури
Температура регулюється
автоматично. Проте можна встановити
температуру всередині приладу
самостійно.
Виберіть необхідне значення з
урахуванням того, що температура
всередині приладу залежить від
наступних чинників:
• температури у приміщенні;
• частота відкривання дверцят;
• кількість продуктів, що зберігаються
всередині приладу;
• розташування приладу.
Середнє значення в налаштуваннях
зазвичай є найбільш оптимальним.
Керування приладом:
1. Для отримання нижчої
температури всередині приладу
поверніть регулятор температури
за годинниковою стрілкою.
www.electrolux.com
28
Содержание
- 3 возможностями
- 4 Общие правила техники безопасности
- 5 УКАЗАНИЯ ПО БЕЗОПАСНОСТИ; электросети
- 7 Габаритные размеры
- 8 Выбор места установки
- 9 Подключение к сети
- 10 превышения температуры
- 11 ЕЖЕДНЕВНОЕ ИСПОЛЬЗОВАНИЕ; Замораживание свежих; Хранение замороженных; продуктов
- 13 покупкам
- 14 Чистка внутренних; поверхностей; Периодическая чистка; морозильника
- 15 Перерыв в эксплуатации; ПОИСК И УСТРАНЕНИЕ НЕИСПРАВНОСТЕЙ
- 18 Закрывание дверцы
- 19 ОРГАНИЗАЦИЙ; ОХРАНА ОКРУЖАЮЩЕЙ СРЕДЫ
Характеристики
Остались вопросы?Не нашли свой ответ в руководстве или возникли другие проблемы? Задайте свой вопрос в форме ниже с подробным описанием вашей ситуации, чтобы другие люди и специалисты смогли дать на него ответ. Если вы знаете как решить проблему другого человека, пожалуйста, подскажите ему :)