Морозильные камеры Electrolux EU 8206 C - инструкция пользователя по применению, эксплуатации и установке на русском языке. Мы надеемся, она поможет вам решить возникшие у вас вопросы при эксплуатации техники.
Если остались вопросы, задайте их в комментариях после инструкции.
"Загружаем инструкцию", означает, что нужно подождать пока файл загрузится и можно будет его читать онлайн. Некоторые инструкции очень большие и время их появления зависит от вашей скорости интернета.

"RCGKEFNFWBZ VJHJPBKMYBRF
Drk/xtybt gbnfybz b htuekbhjdfybt
ntvgthfnehs
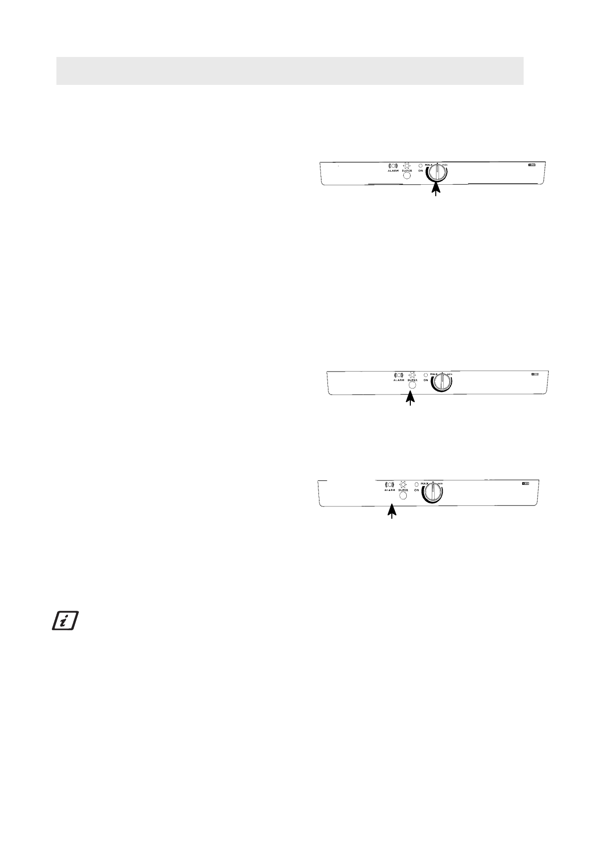
Ecnfyjdbnt htuekznjh ntvgthfnehs d ;tkftvjt
gjkj;tybt.
Min
%
vbybvfkmyjt
j[kf;ltybt>
n.t.
yfb,jktt
dscjrfz
ntvgthfnehf dyenhb vjhjpbkmybrf.
Max
% vfrcbvfkmyjt j[kf;ltybt> n.t. yfb,jktt ybprfz
ntvgthfnehf dyenhb vjhjpbkmybrf.
¤ % dsrk/xtyyjt gjkj;tybt.
Gjckt dscnfdktybz ntvgthfnehs vjhjpbkmybre
cktletn lfnm gjhf,jnfnm d ntxtybt cenjr> lkz njuj
xnj,s ntvgthfnehf ecgtkf c,fkfycbhjdfnmcz.
Jnrk/xtybt gbnfybz
Gjdthybnt htuekznjh gbnfybz lj otkxrf d gjkj;tybt
¤ . Dsymnt dbkre bp hjptnrb bkb dsdthybnt
ghtlj[hfybntkm.
FDFHBQYSQ CBUYFK B LHEUBT AEYRWBB
Fdfhbqysq cbuyfk ntvgthfnehs
dsit -12·C> hfplf=ncz pderjdjq cbuyfk b rhfcyfz
cbuyfkmyfz kfvgjxrf yfxbyftn vbufnm. Lkz njuj
xnj,s dsrk/xbnm pderjdjq cbuyfk> yf;vbnt yf
ryjgre tuj c,hjcf. Rhfcyfz cbuyfkmyfz kfvgjxrf
gjufcytn> rjulf ntvgthfnehf dyenhb vjhjpbkmybrf
jgecnbncz yb;t -13·C.
PFVJHF:BDFYBT
Tckb d ntxtybt 24 xfcjd pfvjhf;bdf/ncz njkmrj
kbim yt,jkmibt rjkbxtcndf ghjlernjd> d yf;fnbb yf
ryjgre ,scnhjuj pfvjhf;bdfybz ytn ytj,[jlbvjcnb.
D ghjnbdyjv ckexft yf ryjgre cktletn yf;fnm
g h b , k b p b n t k m y j p f c e n r b l j g j v t o t y b z
pfvjhf;bdftvs[ ghjlernjd d vjhjpbkmybr.
Gj bcntxtybb ghb,kbpbntkmyj cenjr dsrk/xbnt
ht;bv
,scnhjuj
pfvjhf;bdfybz
gjdnjhysv
yf;fnbtv
yf ryjgre.
:=knfz cbuyfkmyfz kfvgjxrf ujhbn dc= dhtvz ghb
drk/x=yyjv ht;bvt pfvjhf;bdfybz.
D n t x t y b t g t h d s [ c e n j r c k t l e t n
e l j c n j d t h b n m c z d b c g h f d y j c n b
a e y r w b j y b h j d f y b z v j h j p b k m y b rf b
cnf,bkmyjcnb ecnfyjdktyyjq ntvgthfnehs.
Njkmrj gjckt 'njuj tuj vj;yj bcgjkmpjdfnm
lkz pfvjhf;bdfybz cdt;b[ ghjlernjd.
4
Tckb ntvgthfnehf
vjhjpbkmybrf gjlybvftncz
внутри
Electrolux 818 21 89-00/4