Monsher Tele II 60 GB - Инструкция по эксплуатации

Monsher Tele II 60 GB

Вытяжка Monsher Tele II 60 GB - инструкция пользователя по применению, эксплуатации и установке на русском языке. Мы надеемся, она поможет вам решить возникшие у вас вопросы при эксплуатации техники.

Если остались дополнительные вопросы — свяжитесь с нами через контактную форму.

1 Страница 1
2 Страница 2
3 Страница 3
4 Страница 4
5 Страница 5
6 Страница 6
7 Страница 7
8 Страница 8
9 Страница 9
10 Страница 10
11 Страница 11
12 Страница 12
13 Страница 13
14 Страница 14
15 Страница 15
16 Страница 16
17 Страница 17
18 Страница 18
19 Страница 19
20 Страница 20
21 Страница 21
22 Страница 22
23 Страница 23
24 Страница 24
25 Страница 25
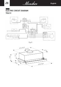
26 Страница 26
27 Страница 27
28 Страница 28
29 Страница 29
30 Страница 30
31 Страница 31
32 Страница 32
33 Страница 33
34 Страница 34
35 Страница 35
36 Страница 36
37 Страница 37
38 Страница 38
39 Страница 39
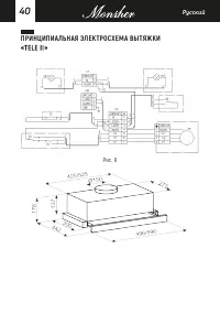
40 Страница 40
41 Страница 41
42 Страница 42
43 Страница 43
44 Страница 44
45 Страница 45
46 Страница 46
47 Страница 47
48 Страница 48
Страница: / 48

Содержание:

  • Страница 30 – Русский; К СВЕДЕНИЮ ПОКУПАТЕЛЕЙ!; тяжки и ламп освещения.; УВАЖАЕМЫЙ ПОКУПАТЕЛЬ!; НАХОДИТЬСЯ ПРИ КОМНАТНОЙ ТЕМПЕРАТУРЕ НЕ МЕНЕЕ ДВУХ ЧАСОВ.
  • Страница 31 – — в режиме рециркуляции (замкнутой круговой циркуляции воздуха на; Не начинайте монтаж вытяжки, пока Вы не подключили ее
  • Страница 32 – ОСНОВНЫЕ ТЕХНИЧЕСКИЕ ХАРАКТЕРИСТИКИ
  • Страница 33 – ТРЕБОВАНИЯ БЕЗОПАСНОСТИ; категорически запрещается:
  • Страница 36 – ИНСТРУКЦИЯ ПО МОНТАЖУ ВЫТЯЖКИ; и проверьте все ее функции.
  • Страница 37 – С целью дополнительной защиты от перепадов; таким образом воздух на кухне будет очищен
  • Страница 38 – с символом лампочки; , предназначенный для; Внимание! Перед очисткой вытяжки отключите ее от электросети.; а после мойки протрите поверхности мягкой салфеткой.; Не устанавливайте фильтры после мойки до их полного высыхания.
  • Страница 39 – необходимо менять каждые 3–6 месяцев; в зависимости от экс-
  • Страница 41 – ВОЗМОЖНЫЕ НЕИСПРАВНОСТИ ВЫТЯЖКИ
  • Страница 42 – ООО «КУППЕРСБЕРГ-СЕРВИС»; УСЛОВИЯ ГАРАНТИИ
  • Страница 44 – УПОЛНОМОЧЕННОЕ ИЗГОТОВИТЕЛЕМ ЛИЦО/ИМПОРТЕР:; конструкцию, комплектацию и дизайн приборов.
Загрузка инструкции

TELE II 50 / 60

Eingebaute Dunstabzugshaube Built in

Built in Cooker Hood

Встраиваемая кухонная вытяжка

Bedienungsanweisung

User manual

Инструкция по эксплуатации

"Загрузка инструкции" означает, что нужно подождать пока файл загрузится и можно будет его читать онлайн. Некоторые инструкции очень большие и время их появления зависит от вашей скорости интернета.

Краткое содержание

Страница 30 - Русский; К СВЕДЕНИЮ ПОКУПАТЕЛЕЙ!; тяжки и ламп освещения.; УВАЖАЕМЫЙ ПОКУПАТЕЛЬ!; НАХОДИТЬСЯ ПРИ КОМНАТНОЙ ТЕМПЕРАТУРЕ НЕ МЕНЕЕ ДВУХ ЧАСОВ.

Русский 30 К СВЕДЕНИЮ ПОКУПАТЕЛЕЙ! Для подтверждения права на гарантийное обслуживание просим Вас сохранять товарный чек вместе с гарантийным талоном, который должен быть полностью заполненным с обязательно указанной датой продажи, подписью и штампом магазина. Не выполнение этого требования лишает В...

Страница 31 - — в режиме рециркуляции (замкнутой круговой циркуляции воздуха на; Не начинайте монтаж вытяжки, пока Вы не подключили ее

Русский 31 1.4 Изделие является воздухоочистительным устройством вытяжного типа с диаметральным вентилятором (турбиной), оснащенным жироулавливающим алюминиевым (в комплекте) и имеет опцию доукомплектования запахопогло-щающим угольным фильтром. Изготавливается шириной 500/600мм из листовой углеродис...

Страница 32 - ОСНОВНЫЕ ТЕХНИЧЕСКИЕ ХАРАКТЕРИСТИКИ

Русский 32 2. ОСНОВНЫЕ ТЕХНИЧЕСКИЕ ХАРАКТЕРИСТИКИ НАПРЯЖЕНИЕ, В 220–230 ЧАСТОТА, ГЦ 50 КОЛИЧЕСТВО РЕЖИМОВ РАБОТЫ 2 НОМИНАЛЬНАЯ ПОТРЕБЛЯЕМАЯ МОЩНОСТЬ, ВТ ЭЛЕКТРОДВИГАТЕЛЯ 150 ЛАМП ОСВЕЩЕНИЯ 2х3 (LED) ПРОИЗВОДИТЕЛЬНОСТЬ ПРИ ПОДКЛЮЧЕНИИ К СТАНДАРТНОЙ СИСТЕМЕ ВЕНТИЛЯЦИИ, М3/Ч 480 ГАБАРИТНЫЕ РАЗМЕРЫ ВЫТЯ...

Характеристики

Другие модели - Вытяжки Monsher

Все вытяжки Monsher