Моноблоки Lenovo C455 - инструкция пользователя по применению, эксплуатации и установке на русском языке. Мы надеемся, она поможет вам решить возникшие у вас вопросы при эксплуатации техники.
Если остались вопросы, задайте их в комментариях после инструкции.
"Загружаем инструкцию", означает, что нужно подождать пока файл загрузится и можно будет его читать онлайн. Некоторые инструкции очень большие и время их появления зависит от вашей скорости интернета.

4
Руководство пользователя
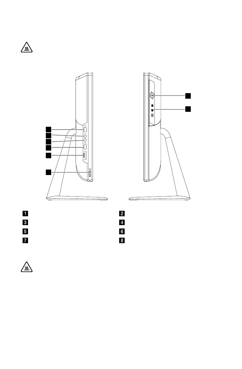
Вид компьютера слева и справа
Внимание!
Не закрывайте вентиляционные отверстия
компьютера. Если вентиляционные отверстия закрыты, то
перегрев может вывести компьютер из строя.
1
2
3
6
5
4
7
8
USB-разъем
Разъем наушников
Разъем микрофона
USB-разъем
Устройство чтения карт памяти
Кнопка питания
Кнопка извлечения на дисководе
оптических дисков
Дисковод оптических дисков
Внимание!
Не вставляйте 3-дюймовые диски в дисковод
оптических дисков.
Содержание
- 4 Содержание; Важная информация по технике безопасности
- 5 ii
- 6 Использование
- 7 Вид компьютера спереди
- 9 Вид компьютера слева и справа
- 10 Вид компьютера сзади
- 11 Установка подставки компьютера
- 13 Основные инструкции к разъемам
- 14 Подключение компьютера; Подключение шнура питания
- 16 Подключение к Интернету
- 18 Использование Windows 8.1
- 19 Выключение компьютера
- 20 Переключение между приложениями; Открытие других системных программ; Справка и поддержка
- 23 Замечание о служебном разделе:; OneKey Recovery
- 24 Установка драйверов и приложений; Метод 1: автоматическая установка
- 27 Служба поддержки Lenovo; Регистрация; Обслуживание и гарантия
- 29 Разрешение проблем
- 30 Диагностика проблем, связанных со звуком
- 34 BIOS setup utility
- 35 Задачи ежедневного обслуживания
- 37 Введение
- 38 Дополнительные информационные ресурсы
- 40 Замена аппаратной части; Общая информация; Что нужно сделать перед тем, как разбирать компьютер; Снятие подставки
- 41 Снятие нижней панели
- 43 Замена модуля памяти
- 44 Замена жесткого диска
- 46 Замена дисковода оптических дисков
- 48 Замена адаптера
- 50 Замена клавиатуры и мыши
- 52 Заявление
- 53 Торговые марки
- 54 Заявление Energy Star
- 55 Включение режима совместимости ErP