Моноблоки Lenovo C445 - инструкция пользователя по применению, эксплуатации и установке на русском языке. Мы надеемся, она поможет вам решить возникшие у вас вопросы при эксплуатации техники.
Если остались вопросы, задайте их в комментариях после инструкции.
"Загружаем инструкцию", означает, что нужно подождать пока файл загрузится и можно будет его читать онлайн. Некоторые инструкции очень большие и время их появления зависит от вашей скорости интернета.

34
Руководство пользователя
3. Отсоедините от компьютера все кабели. В том числе отсоедините шнуры
питания, кабели ввода/вывода и все остальные кабели, подсоединенные
к компьютеру. См. разделы «Вид слева и справа» и «Вид сзади» для
поиска различных разъемов.
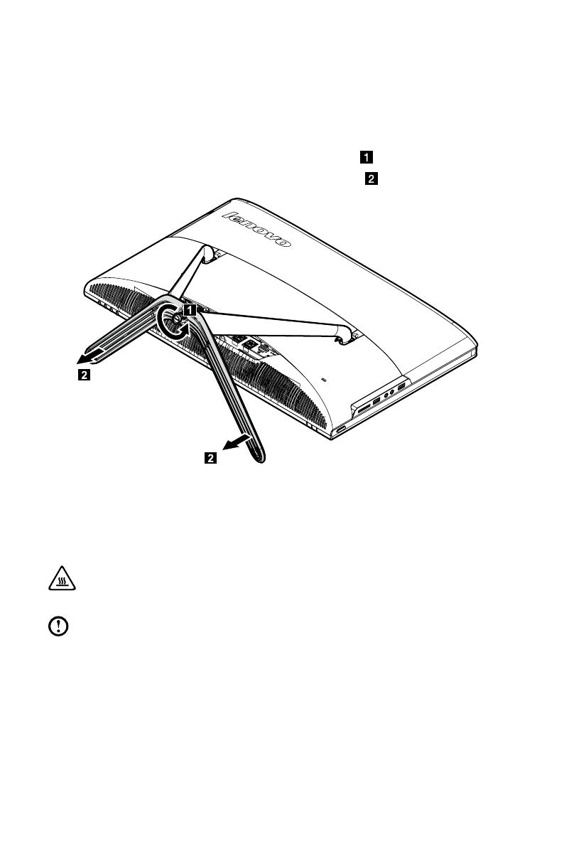
4. Чтобы снять подставку с держателя, поверните винт против часовой
стрелки, пока крепление подставки не ослабнет.
5. Выдвиньте подставку из держателя и уберите ее.
6. См. «Установка подставки компьютера» для получения информации
по установке подставки.
Снятие нижней панели
Внимание!
Выключите компьютер и дайте ему остыть (3 - 5 мин)
перед тем, как снять кожух.
Примечание.
При выполнении этой операции удобнее положить
компьютер экраном вниз на мягкую ровную поверхность. Lenovo
рекомендует подложить под экран одеяло, полотенце или другую
мягкую ткань, чтобы не поцарапать поверхность сенсорного
экрана или не повредить ее иным образом.
1. Извлеките из дисководов все носители (дискеты, компакт-диски и карты
памяти), закройте операционную систему, выключите компьютер и все
подсоединенные устройства.
2. Выньте из розеток вилки всех шнуров питания.
Содержание
- 4 Содержание; Важная информация по технике безопасности
- 5 ii
- 6 Использование
- 7 Вид компьютера спереди
- 8 Вид компьютера слева и справа
- 9 Вид компьютера сзади
- 10 Установка подставки компьютера
- 12 Подключение компьютера
- 15 Подключение к Интернету
- 18 Использование Windows 8
- 19 Charms Bar; Выключение компьютера; Переключение между приложениями
- 20 Закрытие приложений
- 23 Замечание о служебном разделе:; OneKey Recovery
- 24 Установка драйверов и приложений; Метод 1: автоматическая установка
- 27 Разрешение проблем
- 28 Диагностика проблем, связанных со звуком
- 31 Справка и поддержка
- 32 BIOS setup utility
- 33 Задачи ежедневного обслуживания
- 35 Введение
- 36 Дополнительные информационные ресурсы
- 38 Замена аппаратной части; Общая информация; Что нужно сделать перед тем, как разбирать компьютер; Снятие подставки
- 39 Снятие нижней панели
- 40 Замена модуля памяти
- 42 Замена жесткого диска
- 43 Замена дисковода оптических дисков
- 46 Замена адаптера
- 48 Замена клавиатуры и мыши
- 49 Заявление
- 50 Торговые марки
- 51 Заявление Energy Star
- 52 Включение режима совместимости ErP












