Моноблоки Lenovo C365 - инструкция пользователя по применению, эксплуатации и установке на русском языке. Мы надеемся, она поможет вам решить возникшие у вас вопросы при эксплуатации техники.
Если остались вопросы, задайте их в комментариях после инструкции.
"Загружаем инструкцию", означает, что нужно подождать пока файл загрузится и можно будет его читать онлайн. Некоторые инструкции очень большие и время их появления зависит от вашей скорости интернета.

50
Руководство пользователя
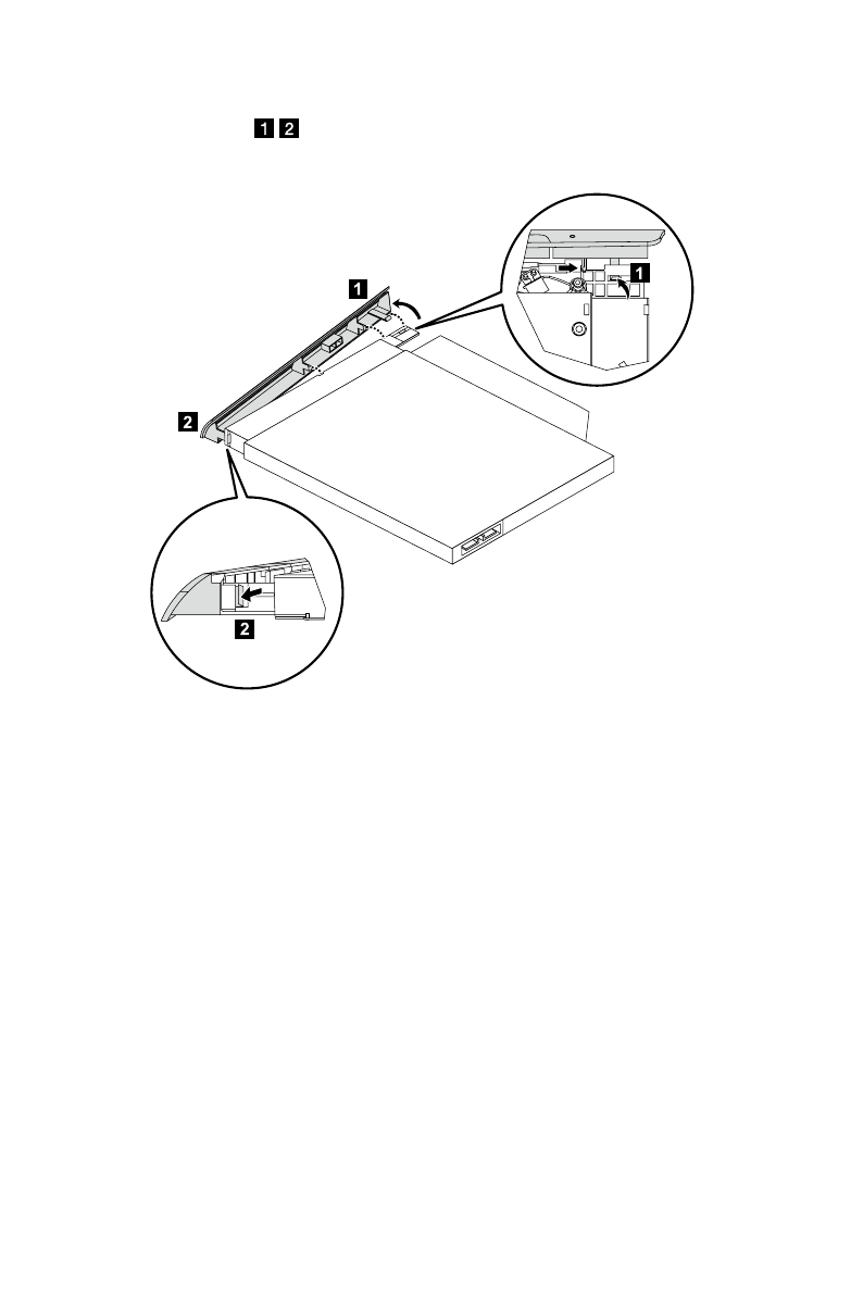
9. С помощью плоской отвертки прижмите и вытащите штифты, крепящие
крышку к диску.
10. Снимите крышку с неисправного дисковода оптических дисков.
11. Установка нового дисковода оптических дисков:
a. Совместите новый дисковод оптических дисков с крышкой и
прижмите крышку.
б. Подсоедините скобу к дисководу оптических дисков.
в. Установите новый дисковод оптических дисков в отсек.
12. Установите нижнюю панель и подставку на место.
Содержание
- 4 Содержание; Важная информация по технике безопасности
- 5 ii
- 6 Использование
- 7 Вид компьютера спереди
- 8 Вид компьютера слева и справа
- 9 Вид компьютера сзади
- 10 Установка подставки компьютера
- 11 Подставка компьютера
- 12 Основные инструкции к разъемам
- 13 Подключение компьютера; Подключение шнура питания
- 14 Подключение к Интернету
- 16 Использование Windows 8.1
- 17 Выключение компьютера
- 18 Переключение между приложениями; Открытие других системных программ; Справка и поддержка
- 22 Основные движения рук
- 25 Настройки сенсорного экрана
- 26 Правила по работе с сенсорным экраном
- 29 Замечание о служебном разделе:; OneKey Recovery
- 30 Установка драйверов и приложений; Метод 1: автоматическая установка
- 33 Служба поддержки Lenovo; Регистрация; Обслуживание и гарантия
- 35 Разрешение проблем
- 36 Диагностика проблем, связанных со звуком
- 40 BIOS setup utility
- 41 Задачи ежедневного обслуживания
- 43 Введение
- 44 Дополнительные информационные ресурсы
- 46 Замена аппаратной части; Общая информация; Что нужно сделать перед тем, как разбирать компьютер; Снятие подставки
- 47 Снятие нижней панели
- 49 Замена модуля памяти
- 50 Замена жесткого диска
- 52 Замена дисковода оптических дисков
- 56 Замена адаптера
- 57 Замена клавиатуры и мыши
- 58 Заявление
- 59 Торговые марки
- 60 Заявление Energy Star
- 61 Включение режима совместимости ErP