Мониторы MSI MAG321QR - инструкция пользователя по применению, эксплуатации и установке на русском языке. Мы надеемся, она поможет вам решить возникшие у вас вопросы при эксплуатации техники.
Если остались вопросы, задайте их в комментариях после инструкции.
"Загружаем инструкцию", означает, что нужно подождать пока файл загрузится и можно будет его читать онлайн. Некоторые инструкции очень большие и время их появления зависит от вашей скорости интернета.
Загружаем инструкцию

6
Начало работы
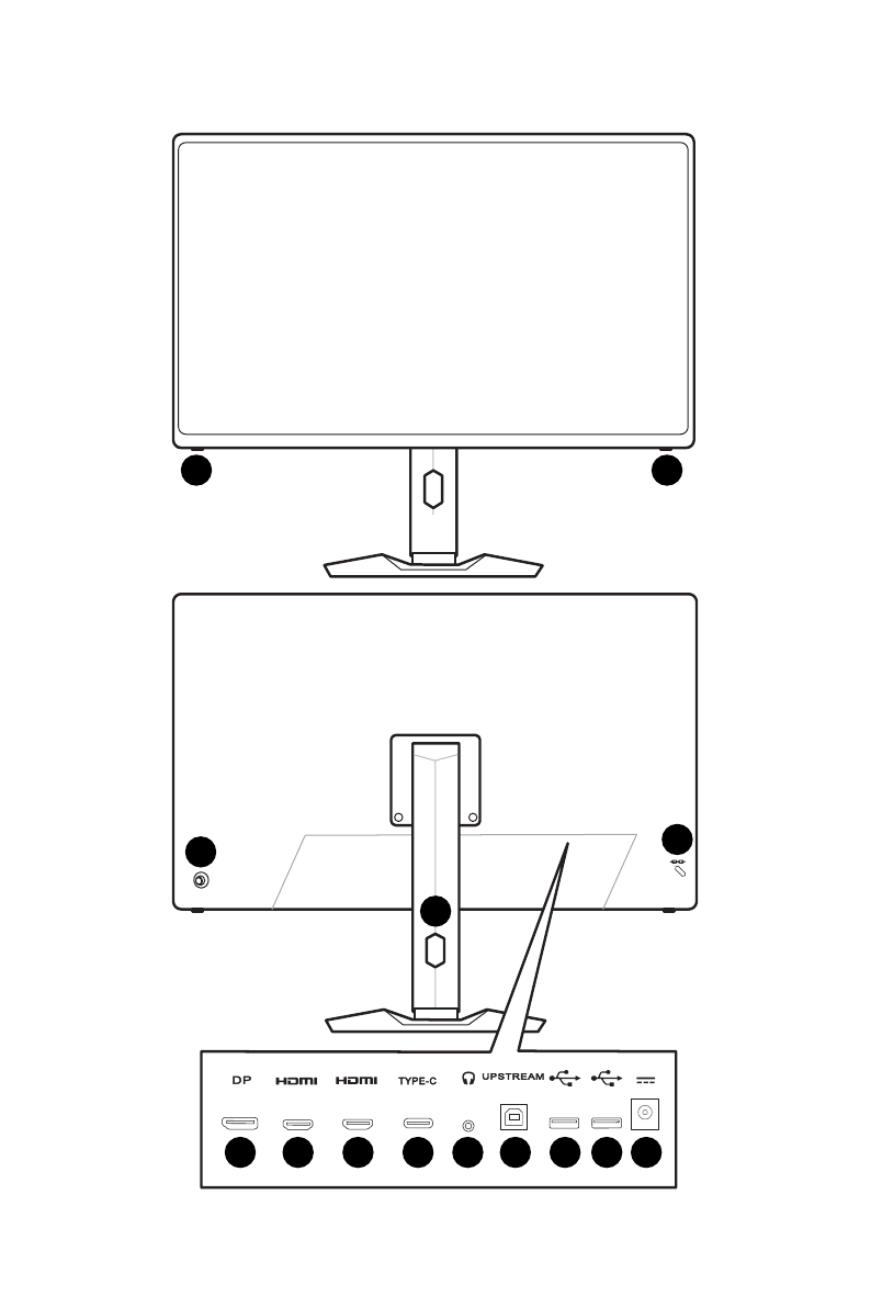
Обзор монитора
1
2
3
4
6
7
8
9 10 11
12
5
7
11
Содержание
- 3 Начало работы; Комплектация
- 4 Установка монитора на подставку
- 5 Настройка положения экрана
- 8 Подключение монитора к ПК
- 9 Экранное меню; Джойстик навигации
- 10 Настройка экранного меню; Игры
- 13 Профессиональный
- 14 Изображение
- 15 Источник сигнала
- 16 Настройка
- 18 Технические характеристики*
- 21 Устранение неполадок
- 22 Безопасное использование монитора; Подключение электропитания
- 24 Сертификация TÜV Rheinland; Сертификат TÜV Rheinland Low Blue Light
- 25 Соответствие нормативным; Соответствие стандартам CE
- 26 Директива WEEE
- 27 Уведомление об авторских правах и товарных знаках
- 28 Приложение к руководству
Характеристики
Остались вопросы?Не нашли свой ответ в руководстве или возникли другие проблемы? Задайте свой вопрос в форме ниже с подробным описанием вашей ситуации, чтобы другие люди и специалисты смогли дать на него ответ. Если вы знаете как решить проблему другого человека, пожалуйста, подскажите ему :)
Часто задаваемые вопросы
Как посмотреть инструкцию к MSI MAG321QR?
Необходимо подождать полной загрузки инструкции в сером окне на данной странице
Руководство на русском языке?
Все наши руководства представлены на русском языке или схематично, поэтому вы без труда сможете разобраться с вашей моделью
Как скопировать текст из PDF?
Чтобы скопировать текст со страницы инструкции воспользуйтесь вкладкой "HTML"













