Мониторы MSI MAG281URF - инструкция пользователя по применению, эксплуатации и установке на русском языке. Мы надеемся, она поможет вам решить возникшие у вас вопросы при эксплуатации техники.
Если остались вопросы, задайте их в комментариях после инструкции.
"Загружаем инструкцию", означает, что нужно подождать пока файл загрузится и можно будет его читать онлайн. Некоторые инструкции очень большие и время их появления зависит от вашей скорости интернета.
Загружаем инструкцию

7
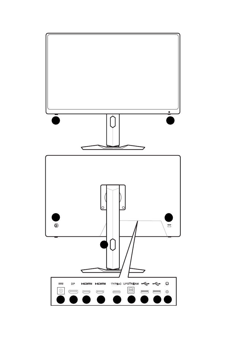
Начало работы
Optix MAG281URV
DP
TYPE-C UPSTREAM
1
2
4
3
6
7
8
9
7
10
5
11 11 12
Содержание
- 3 Начало работы; Комплектация; Важно
- 4 Установка монитора на подставку
- 5 Настройка положения экрана
- 9 Подключение монитора к ПК
- 10 Экранное меню; Джойстик навигации
- 11 Настройка экранного меню
- 12 Игры
- 14 Профессиональный
- 16 Изображение
- 18 Кнопка навигации
- 19 Настройка
- 21 Технические характеристики*
- 25 Устранение неполадок
- 26 Безопасное использование монитора; Подключение электропитания
- 28 Сертификация TÜV Rheinland; Сертификат TÜV Rheinland Low Blue Light
- 29 Соответствие нормативным требованиям; Соответствие стандартам CE
- 30 Директива WEEE
- 31 Уведомление об авторских правах и товарных знаках
- 32 Приложение к руководству пользователя
Характеристики
Остались вопросы?Не нашли свой ответ в руководстве или возникли другие проблемы? Задайте свой вопрос в форме ниже с подробным описанием вашей ситуации, чтобы другие люди и специалисты смогли дать на него ответ. Если вы знаете как решить проблему другого человека, пожалуйста, подскажите ему :)
Часто задаваемые вопросы
Как посмотреть инструкцию к MSI MAG281URF?
Необходимо подождать полной загрузки инструкции в сером окне на данной странице
Руководство на русском языке?
Все наши руководства представлены на русском языке или схематично, поэтому вы без труда сможете разобраться с вашей моделью
Как скопировать текст из PDF?
Чтобы скопировать текст со страницы инструкции воспользуйтесь вкладкой "HTML"