Мониторы MSI G2412 - инструкция пользователя по применению, эксплуатации и установке на русском языке. Мы надеемся, она поможет вам решить возникшие у вас вопросы при эксплуатации техники.
Если остались вопросы, задайте их в комментариях после инструкции.
"Загружаем инструкцию", означает, что нужно подождать пока файл загрузится и можно будет его читать онлайн. Некоторые инструкции очень большие и время их появления зависит от вашей скорости интернета.

5
Начало работы
G2422 / G2722
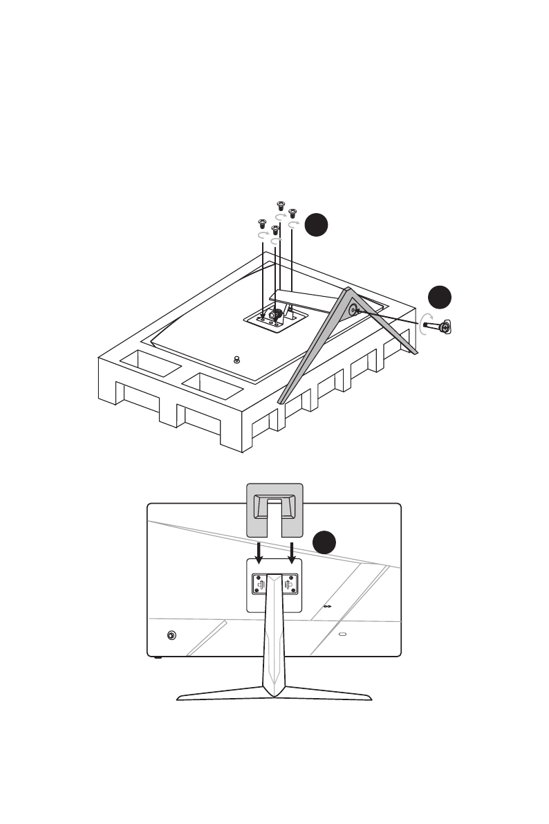
1.
Положите монитор в защитную упаковку из пенопласта. Совместите подставку с
пазом на мониторе. Зафиксируйте подставку винтами.
2.
Присоедините основание к подставке и зафиксируйте его винтами.
3.
Задвиньте подставку с основанием в паз, чтобы закрепить ее.
4.
Перед расположением монитора вертикально убедитесь, что подставка
полностью зафиксирована.
1
2
3
Содержание
- 3 Начало работы; Комплектация
- 4 Установка монитора на подставку
- 7 Настройка положения экрана
- 13 Подключение монитора к ПК
- 15 Экранное меню; Джойстик навигации
- 16 «Горячая» клавиша
- 17 Настройка экранного меню; Игры
- 19 Профессиональный
- 21 Изображение
- 24 Технические характеристики*
- 26 Поддерживаемые режимы изображения
- 27 Устранение неполадок
- 28 Безопасное использование монитора; Подключение электропитания
- 30 Сертификация TÜV Rheinland; Сертификат TÜV Rheinland Low Blue Light
- 31 Соответствие нормативным требованиям; Соответствие стандартам CE
- 32 Директива WEEE
- 33 Уведомление об авторских правах и товарных знаках
- 34 Приложение к руководству пользователя
Характеристики
Остались вопросы?Не нашли свой ответ в руководстве или возникли другие проблемы? Задайте свой вопрос в форме ниже с подробным описанием вашей ситуации, чтобы другие люди и специалисты смогли дать на него ответ. Если вы знаете как решить проблему другого человека, пожалуйста, подскажите ему :)