Мониторы MSI 9S6-3PA1CT-055 - инструкция пользователя по применению, эксплуатации и установке на русском языке. Мы надеемся, она поможет вам решить возникшие у вас вопросы при эксплуатации техники.
Если остались вопросы, задайте их в комментариях после инструкции.
"Загружаем инструкцию", означает, что нужно подождать пока файл загрузится и можно будет его читать онлайн. Некоторые инструкции очень большие и время их появления зависит от вашей скорости интернета.

5
Начало работы
PRO MP242P / PRO MP271P / PRO MP271QP
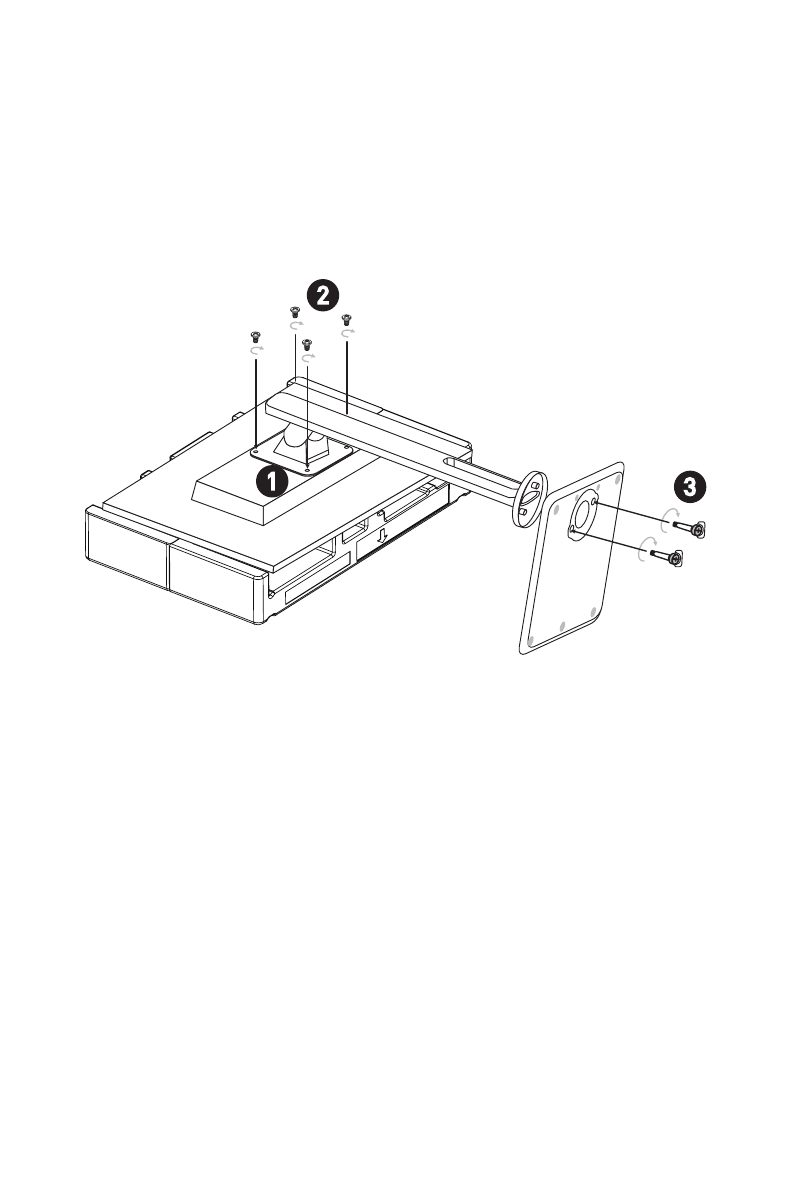
1.
Положите монитор в защитную упаковку из пенопласта. Совместите кронштейн
подставки с пазом на мониторе.
2.
Зафиксируйте кронштейн подставки винтами.
3.
Присоедините основание к подставке и зафиксируйте его винтами.
4.
Перед расположением монитора вертикально убедитесь, что подставка
полностью зафиксирована.
2
3
1
⚠
Важно
Паз для установки кронштейн подставки также можно использовать для крепления
монитора на стену. Пожалуйста, обратитесь к поставщику оборудования или в
магазин для приобретения подходящего настенного крепления.
Содержание
- 2 Содержание
- 3 Начало работы; Комплектация
- 4 Установка монитора на подставку
- 6 Настройка положения экрана
- 10 Подключение монитора к ПК
- 11 Экранное меню; Кнопки управления монитором
- 12 Настройка экранного меню; Яркость экрана
- 16 Технические характеристики*
- 22 Устранение неполадок
- 23 Безопасное использование монитора
- 24 Сертификация TÜV Rheinland; Сертификат TÜV Rheinland Low Blue Light; Сертификация ENERGY STAR
- 25 Соответствие нормативным требованиям; Соответствие стандартам CE
- 26 Директива WEEE
- 27 Уведомление об авторских правах и товарных знаках
- 28 Приложение к руководству пользователя
Характеристики
Остались вопросы?Не нашли свой ответ в руководстве или возникли другие проблемы? Задайте свой вопрос в форме ниже с подробным описанием вашей ситуации, чтобы другие люди и специалисты смогли дать на него ответ. Если вы знаете как решить проблему другого человека, пожалуйста, подскажите ему :)













