Мониторы Acer P191W - инструкция пользователя по применению, эксплуатации и установке на русском языке. Мы надеемся, она поможет вам решить возникшие у вас вопросы при эксплуатации техники.
Если остались вопросы, задайте их в комментариях после инструкции.
"Загружаем инструкцию", означает, что нужно подождать пока файл загрузится и можно будет его читать онлайн. Некоторые инструкции очень большие и время их появления зависит от вашей скорости интернета.

P191W
RU-13
ЛЕМЕНТЫ
УПРАВЛЕНИЯ
ДЛЯ
ПОЛЬЗОВАТЕЛЯ
ОРГАНЫ
УПРАВЛЕНИЯ
НА
ПЕРЕДНЕЙ
ПАНЕЛИ
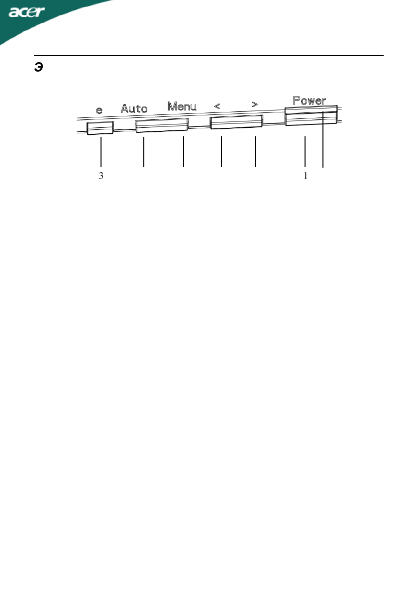
1.
Сетевая
кнопка
:
Нажмите
эту
кнопку
,
чтобы
включить
/
выключить
сетевое
питание
.
2.
Сетевой
индикатор
:
Синий
—
сетевое
напряжение
включено
.
Оранжевый
—
режим
энергосбережения
.
Светло
-
синий
—
режим
выключено
.
3. empowering (
Включение
)/
Выход
:
1)
Когда
экранное
меню
выведено
на
экран
,
эта
кнопка
будетработать
как
кнопка
ВЫХОДА
(
удаление
с
экрана
экранного
меню
).
2)
При
отключенном
экранном
меню
нажмите
эту
кнопку
для
выбора
режима
сценария
.
4.
Кнопка
автоматической
настройки
/
Выход
1)
Когда
экранное
меню
выведено
на
экран
,
эта
кнопка
будетработать
как
кнопка
ВЫХОДА
(
удаление
с
экрана
экранного
меню
).
2)
Когда
экранное
меню
выключено
,
нажмите
на
эту
кнопку
и
держите
ее
в
нажатом
состоянии
более
2
сек
.,
чтобы
активизировать
функцию
автоматической
настройки
.
Функция
автоматической
настройки
используется
для
установки
горизонтального
,
положения
,
вертикального
положения
,
синхрогенератора
и
фокусировки
.
6.</> :
Чтобы
переместиться
к
желаемой
функции
,
нажимайте
кнопку
<
или
кнопку
>.
Чтобы
изменить
установки
текущей
функции
,
нажимайте
кнопку
<
или
кнопку
>.
6.
Меню
/
Ввод
:
нажав
на
эту
кнопку
,
можно
вывести
экранное
меню
или
,
если
экранное
меню
уже
выведено
,
включить
или
выключить
функцию
настройки
.
4
5
6
2
5












