Микроволновые печи Scarlett SC-293 - инструкция пользователя по применению, эксплуатации и установке на русском языке. Мы надеемся, она поможет вам решить возникшие у вас вопросы при эксплуатации техники.
Если остались вопросы, задайте их в комментариях после инструкции.
"Загружаем инструкцию", означает, что нужно подождать пока файл загрузится и можно будет его читать онлайн. Некоторые инструкции очень большие и время их появления зависит от вашей скорости интернета.

www.scarlett-europe.com
SC-293
28
·
Valmistamise katkestamiseks võib ka avada ust. Protsessi jätkamiseks, tuleb ust sulgeda.
MITMEFUNKTSIONAALNE REGULAATOR
·
On mõeldud jooksva aja paigaldamiseks, töötlemisre iimi ja -aja valimiseks.
·
Pärast valmistamisaja paigaldamist (ja enne selle möödumist), pärast
nupu vajutamist on sisse lülitatud kambri sisemine valgustus ja
ventilatsioon.
·
Antud töötlemisaja möödumisel ilmub displeile tekst
End
ja iga 3 minuti pärast kostab helisignaal kuni ukse avamise või mis tahes nupu
vajutamiseni.
·
Valmistamise katkestamise vajadusel vajutage
nuppu.
JOOKSVA AJA PAIGALDUS
·
Ahju vooluvõrku ühendamisel vilgub displei ja näitab
88:88
, 3 sekundi pärast ilmub
- : -
, mille pärast võib paigaldada jooksva aja.
·
Kell töötab 24-tunnilises ajaformaadis.
·
Vajutage
nuppu.
·
Keerates mitmefunktsionaalset regulaatorit paigaldage jooksev aeg (päripäeva suurendamine, ning vastupidi).
·
Vajutage
nuppu uuesti.
·
Keerates mitmefunktsionaalset regulaatorit paigaldage jooksvad minutid.
·
Korralduste kinnitamiseks vajutage
nuppu.
·
Displeile ilmub paigaldatud aeg.
VÕIMSUSE TASEMED
·
Järgides tabelit, valige võimsus, vajutades
nuppu, valige vajalik võimsus. Iga järgneva vajutusega näitab displei väljundvõimsust
protsentides maksimaalsest:
100
ž
80
ž
60
ž
40
ž
20
.
·
Mitmefunktsionaalse regulaatoriga määrake töötlemise kestus.
·
Vajutage
nuppu.
AUTOMAATNE VALMISTAMINE
·
Mõnede toiduainete võimsuse tase ja valmistamisaeg määratakse automaatselt.
·
Valige sobiv re iim keerates mitmefunktsionaalset regulaatorit.
·
Vajutage
nuppu.
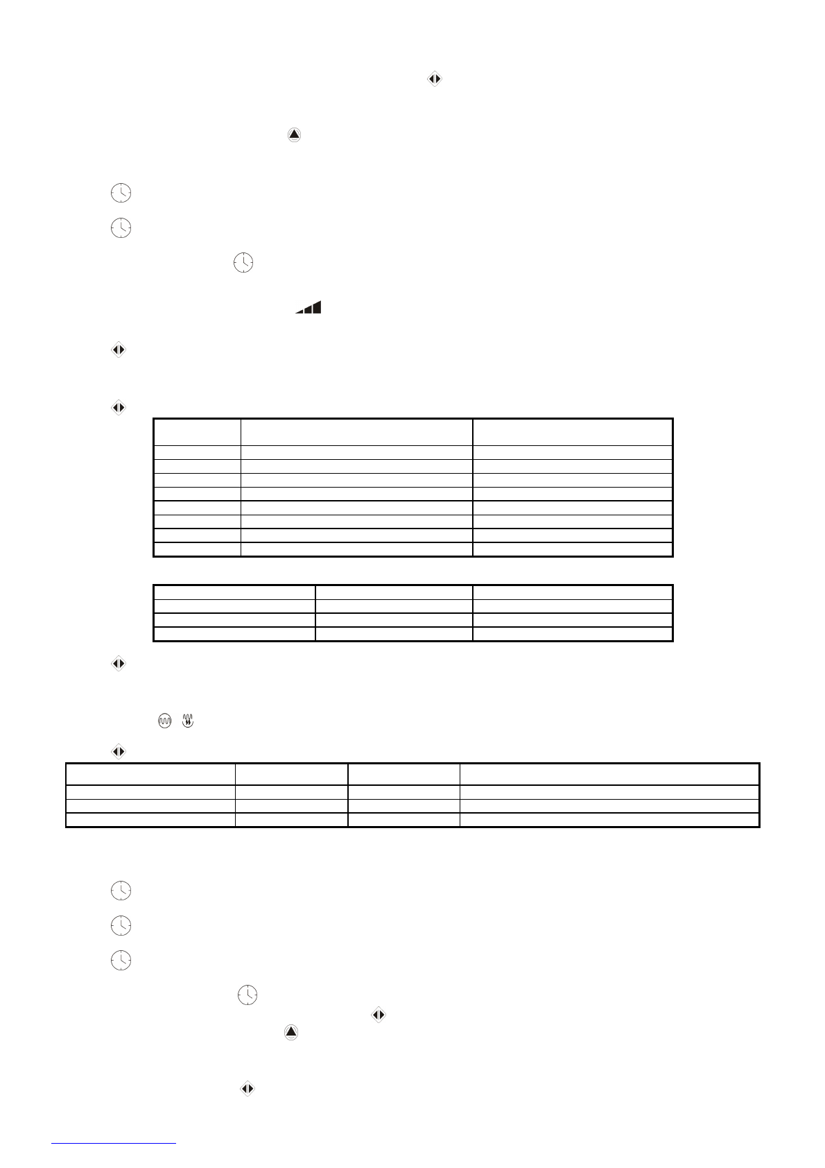
Displei näit
Toiduained, milledele on häälestatud
automaatne re iim
Programmeeritud valmistamisaeg,
min : s
1
Popkorn (85 g)
2:30
2
Popkorn (100 g)
2: 40
3
Pitsa
1:00
4
Supid (250 ml)
2:20
5
Supid (500 ml)
4:40
6
Kartul (0,45 kg)
7:12
7
Kartul (0,65 kg)
10:12
8
Kala (0,45 kg)
6:30
LAHTISULATAMINE
·
LAHTISULATAMISE nupu vajutamisega valige sobiv re iim:
Lahtisulatamise re iim
Toiduaine
Toiduaine kaal
D1
liha
100 g...2 kg
D2
linnuliha
100 g...3 kg
D3
mereannid
100 g...900 g
·
Mitmefunktsionaalse regulaatoriga valige toiduaine kaal.
·
Vajutage
nuppu.
·
Kui lahtisulatamise ajal kostab lühikeste helisignaalide seeria, siis tuleb avada ahjuust ja keerata toiduained ümber või tõsta need välja.
·
Lahtisulatamise lõppemisel kostab lühikeste signaalide seeria.
GRILL/KOMBI RE IIM
·
Valige sobiv re iim
nupu vajutusega.
·
Mitmefunktsionaalse regulaatoriga paigaldage valmistamisaeg.
·
Vajutage
nuppu.
GRILL/KOMBI nupu vajutus
Displei näit
Re iim
Mikrolainete
kiirgaja
/
Kuumutuselement
1
G
Grill
Kuumutuselement töötab koguaeg
2
C1
Kombi 1
Mikrolained - 10 s / Kuumutuselement - 23 s
3
C2
Kombi 2
Mikrolained - 18 s / Kuumutuselement - 15 s
VALMISTAMISE EDASILÜKKAMINE
·
Võimaldab töötlemise alustamisaega programmeerida.
·
Näiteks, kui on vaja alustada toiduvalmistamist kell 10:30.
·
Paigaldage jooksev aeg ja valige töötlemisre iim.
·
Vajutage
nuppu ja hoidke 3 sekundi jooksul.
·
Mitmefunktsionaalse regulaatoriga paigaldage 10 tundi.
·
Vajutage
nuppu veel kord.
·
Mitmefunktsionaalse regulaatoriga paigaldage 30 minutit.
·
Vajutage
nuppu üks kord valmistamise alustamisaja kinnitamiseks.
·
Kell 10:30 lülitub ahi automaatselt sisse.
·
Määratud aja ülevaatuseks vajutage
nuppu ja laske see lahti.
·
Selleks, et alustada tööd programmeeritud ajast varem, vajutage
nuppu.
·
Programmeeritud ajast loobumiseks vajutage
nuppu.
AUTOMAATNE MEELDETULETUS
·
Töötlemise lõppemisel kostavad lühikesed helisignaalid iga 3 minuti pärast kuni avatakse uks või vajutakse mis tahes nuppu.
TÖÖTLEMISAJA PIKENDAMINE
·
Kui töötlemise protsessis vajutada
nuppu, antud aeg pikeneb iga vajutusega 10 sekundiks. 5 minuti pärast pikeneb aeg iga vajutusega 30
sekundiks.