Микроволновые печи Scarlett SC-1703 - инструкция пользователя по применению, эксплуатации и установке на русском языке. Мы надеемся, она поможет вам решить возникшие у вас вопросы при эксплуатации техники.
Если остались вопросы, задайте их в комментариях после инструкции.
"Загружаем инструкцию", означает, что нужно подождать пока файл загрузится и можно будет его читать онлайн. Некоторые инструкции очень большие и время их появления зависит от вашей скорости интернета.

IM006
SC-1703
7
NEVHODNÉ
•
Folie a teplovzdorné plastové sá
č
ky
– nejsou vhodné pro smažení
masa a jekýchkoliv jiných potravin.
•
Kovové nádobí (hliníkové, nerez aj.) a alobal*
– stíní mikrovlny;
p
ř
i kontaktu se vnit
ř
ní plochou trouby mohou zp
ů
sobit jisk
ř
ení a zkrat
b
ě
hem p
ř
ípravy pokrm
ů
.
* M
ů
žete používat na jednovrstvé balení n
ě
kterých
č
ástí pokrm
ů
pro
zamezení p
ř
eh
ř
átí a p
ř
ipalování. Dbejte na to, aby se alobal
nedotýkal vnit
ř
ní plochy trouby, minimální vzdálenost je 2 cm.
•
Tavitelné plasty
– jsou nevhodné pro p
ř
ípravu pokrm
ů
v mikrovlnné
troub
ě
.
•
Lakované nádobí
– p
ů
sobením vysoké teploty se m
ů
že lak roztavit.
•
Oby
č
ejné sklo (v
č
etn
ě
tvarového a silného)
– p
ů
sobením vysoké
teploty se mohou deformovat.
•
Papír, sláma, d
ř
evo
– p
ů
sobením vysoké teploty mohou za
č
ít ho
ř
et.
•
Melaminové nádobí
– m
ů
že pohltit mikrovlnné zá
ř
ení, mohlo by to
zp
ů
sobit pukání nebo termodestrukci nádobí a prodloužit dobu
p
ř
ípravy pokrm
ů
.
JAK ZJISTÍTE, ŽE TOTO NÁDOBÍ JE VHODNÉ PRO MIKROVLNNOU
TROUBU?
•
Zapn
ě
te mikrovlnnou troubu a nastavte p
ř
epína
č
provozních režim
ů
na maximální výkon (maximální teplotu), dejte do troubu na dobu 1
minuta nádobí a vedle n
ě
ho postavte sklenici s vodou (~ 250 ml).
•
Nádobí vhodné pro p
ř
ípravu pokrm
ů
v mikrovlnné troub
ě
bude mít
stejnou teplotu, jako p
ř
ed tím, co jste ho dali do trouby, a voda ve
sklenici se oh
ř
eje.
PRAKTICKÉ RADY
•
Pro rovnom
ě
rné oh
ř
ívání pokrm
ů
obracejte je b
ě
hem p
ř
ípravy.
•
Nepoužívejte nádobí s úzkým hrdlem, láhve, protože mohou
explodovat.
•
Nepoužívejte teplom
ě
r
ů
pro m
ěř
ení teploty pokrm
ů
. Používejte
pouze speciální teplom
ě
ry ur
č
ené pro mikrovlnné trouby.
NEŽ SE OBRÁTÍTE NA SERVISNÍ SR
Ř
EDISKO
•
Nezapíná-li se trouba, p
ř
ekontrolujte, zda:
– je zásuvka v provozu a v elektrické sít
ě
je proud;
– je
č
asova
č
nastaven správn
ě
;
– dví
ř
ka dolehla.
RADIOVÉ PORUCHY
•
Mikrovllné trouby mohou zp
ů
sobit poruchy p
ř
i p
ř
íjemu televizního a
rozhlasového signálu.
•
Aby poruchy byly minimální:
– pravideln
ě
č
ist
ě
te dví
ř
ka a kovové t
ě
snicí podložky;
– stavte televizor co nejdále od mikrovlnné trouby;
– nastavte p
ř
ijímací anténu pro nejlepší výsledek.
– p
ř
ipojte mikrovlnnou troubu a p
ř
ijíma
č
do r
ů
zných línek elektrické
sít
ě
.
NASTAVENÍ
•
P
ř
ekontrolujte, zda uvnit
ř
pe
č
ící trouby nejsou balicí materiál a jiné
p
ř
edm
ě
ty.
•
Pžekontrolujte, zda nejsou poškozeny b
ě
hem p
ř
evážení:
– dví
ř
ka a kovové t
ě
snicí podložky;
– t
ě
leso spot
ř
ebi
č
e nebo pr
ů
zor;
– vnit
ř
ní plochy trouby a dví
ř
ek.
•
Má-li nová mikrovlnná trouba jakékoliv vady, obra
ť
te se k prodejci.
•
Postavte mikrovlnnou troubu na rovnou horizontální plochu. Musí být
dost pevná, aby vydržela váhu trouby (i s potravinami a nádobím).
•
Neumís
ť
ujte mikrovlnnou troubu v blízkosti zdroj
ů
tepla.
•
Nestavte nic na mikrovlnnou troubu ani nezavírejte v
ě
trací otvory.
•
Pro normální provoz pe
č
ící trouby je pot
ř
eba volná prostora
minimáln
ě
20 cm shora, 10 cm zezadu a 5 cm z bok
ů
.
P
Ř
ÍPRAVA POKRM
Ů
V MIKROVLNNÉ TROUB
Ě
•
Potraviny dávejte do mikrovlnné trouby jednou vrstvou, siln
ě
jší kusy
dávejte blíže k okraji.
•
Kontrolujte dobu p
ř
ípravy, nastavujte minimální
č
as a postupn
ě
ho
p
ř
idávejte, pokud je to t
ř
eba. Je-li doba p
ř
ípravy p
ř
íliš dlouhá,
pokrmy za
č
nou kou
ř
it a ho
ř
et.
UPOZORN
Ě
NÍ:
Doba p
ř
ípravy m
ů
že být zm
ě
n
ě
na vzhledem k tvaru,
velikosti a polohy potravin. Velké a silné kusy se p
ř
ípravují déle,
menší – rychleji.
•
P
ř
ikrývejte potraviny speciálními poklicemi nebo plastem, ohn
ě
te
jeden z roh
ů
pro vypoušt
ě
ní zbytk
ů
páry. Poklice se velmi oh
ř
ívají –
bu
ď
te opatrní!
•
Pro rovnom
ě
rn
ě
jší oh
ř
ívání a rychlejší p
ř
ípravu obracejte a míchejte
pokrmy.
•
Kulaté/zaoblené mísy na rozdíl od htanatých/obdélníkových také
zajiš
ť
ují rovnom
ě
rn
ě
jší oh
ř
ívání.
•
Rozmrazujte potraviny bez obalu ve m
ě
lké nádob
ě
nebo na roštu
pro mikrovlnnou troubu, nutn
ě
používejte oto
č
nou sklen
ě
nou mísu.
P
ř
i zamrazování potravin dbejte na to, aby m
ě
ly kompaktn
ě
jší tvar.
•
Minimální vzdálenost mezi potravinami, nap
ř
. zeleninou, pe
č
ivem
apod. má být 2,5 cm, aby p
ř
íprava byla rovnom
ě
rná.
•
Propíchn
ě
te silný obal, aby se potraviny neroztrhly.
•
Oh
ř
ívejte pouze hotové nebo studené pokrmy, míchejte je.
•
Popkorn – p
ř
esn
ě
sledujte návod výrobce a nenechávejte
mikrovlnnou troubu bez dohledu. Není-li popkorn hotový za
stanovenou dobu, p
ř
erušte p
ř
ípravu. P
ř
íliš dlouhá doba p
ř
ípravy
m
ů
že zp
ů
sobit požár.
VAROVÁNÍ:
Nepoužívejte obaly z hn
ě
dého papíru pro p
ř
ípravu
popkorna a nepoužívejte zbytky zrn. Nedávejte sá
č
ek
s popkornem p
ř
ímo na sklen
ě
nou mísu, dejte jej na talí
ř
.
PROVOZ
•
Zapojte mikrovlnnou troubu do elektrické s
ě
.
ít
•
Dejte potraviny do trouby a zav
ř
ete dví
ř
ka.
UPOZORN
Ě
NÍ
:
S otev
ř
enými dví
ř
ky nebude mikrovlnná trouba
pracovat.
•
P
ř
epína
č
em nastavte režim p
ř
ípravy potravin podle tabulky.
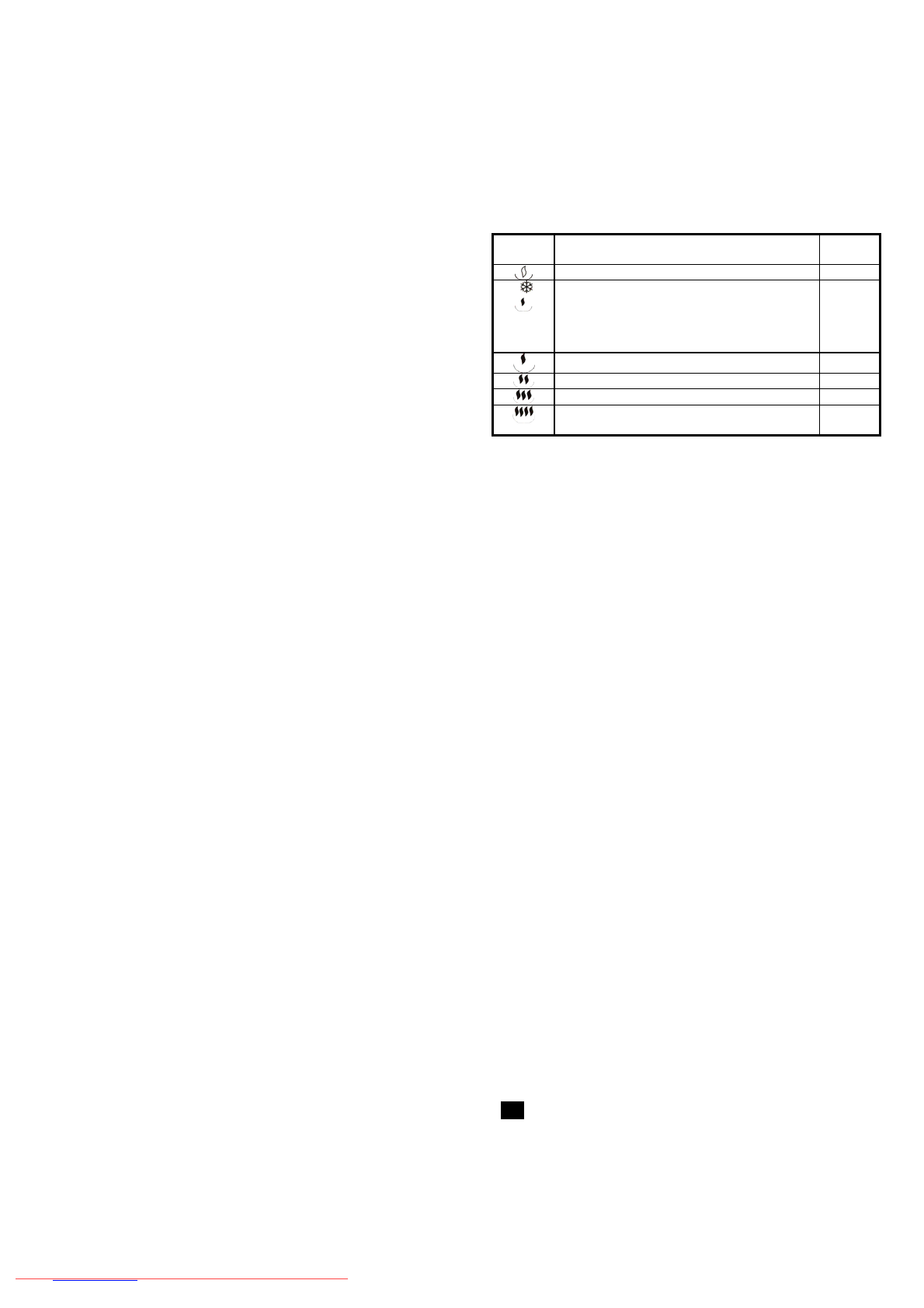
Symbol Provozní
režim
Úrove
ň
výkonu
Oh
ř
ev 17%
ROZMRAZOVÁNÍ. Rozmrazujte potraviny
bez obalu na m
ě
lké míse nebo na roštu pro
mikrovlnnou troubu, povinn
ě
používejte
oto
č
né sklen
ě
né mísy. Pokud je to možné,
zamrazujte potraviny kompaktn
ě
.
40%
Maso a dr
ů
bež
48%
Omelety, pe
č
ivo, krémy
66%
Sendvi
č
e, pizza
85%
Pe
č
ivo, maso a ryba, pe
č
ené brambory a
jiná zelenina, popkorn
100%
•
Nastavte
č
asový spína
č
na požadovanou dobu.
Č
ASOVÝ SPÍNA
Č
•
Je ur
č
en pro nastavení doby p
ř
ípravy potravin v rozmezí
30
minut
.
•
Chcete-li zapnout troubu, oto
č
te ru
č
i
č
ku
č
asového spína
č
e ve
sm
ě
ru hodinových ru
č
i
č
ek.
•
Otá
č
ejte ru
č
i
č
kou dále a nastavte požadovanou dobu p
ř
ípravy.
•
Jakmile nastavíte dobu p
ř
ípravy potravin se mikrovlnná trouba
zapne, rozsvítí se vnit
ř
ní osv
ě
tlení a za
č
ne pracovat ventilace.
•
Je-li nutno zastavit p
ř
ípravu potravin, nastavte
č
asový spína
č
do
polohy «0» nebo otev
ř
ete dví
ř
ka.
UPOZORN
Ě
NÍ:
Vždy vra
ť
te
č
asový spína
č
do polohy «0», pokud
jste vyndali potraviny p
ř
ed ukon
č
ením doby p
ř
ípravy a nebudete
pokra
č
ovat v p
ř
íprav
ě
potravin.
UPOZORN
Ě
NÍ:
Je-li doba p
ř
ípravy menší než 2 minuty, nejd
ř
íve
oto
č
te
č
asový spína
č
do polohy 3 minuty a pak ho vra
ť
te do
požadované polohy.
•
Po uplynutí nastavené doby se mikrovlnná trouba automaticky
vypne a zazní akustický signál.
ZASTAVENÍ P
Ř
ÍPRAVY
•
Tato funkce je vhodná pro kontrolu stupn
ě
hotovosti pokrm
ů
.
•
M
ů
žete zastavit p
ř
ípravu potravin pouhým otev
ř
ením dví
ř
ek.
Když je zase zav
ř
ete, p
ř
íprava potravin bude pokra
č
ovat.
Č
IŠT
Ě
NÍ A ÚDRŽBA
•
Pravideln
ě
č
ist
ě
te troubu a pokaždé odstra
ň
ujte z jejího povrchu
všechny zbytky pokrm
ů
.
•
P
ř
ed
č
išt
ě
ním vypn
ě
te mikrovlnnou troubu a odpojte ji od
elektrické sít
ě
.
•
Po
č
kejte, až mikrovlnná trouba úpln
ě
vychladne.
•
Ot
ř
ete ovládací panel, vn
ě
jší a vnit
ř
ní plochy vlhkým hadrem
s mycím prost
ř
edkem.
•
Nepoužívejte úto
č
né látky ani brusné materiály.
•
Pro odstran
ě
ní nep
ř
íjemných zápach
ů
nalijte do n
ě
jaké hluboké
nádoby vhodné do mikrovlnné trouby jednu sklenici vody se
š
ť
ávou jednoho citrónu a dejte ji uvnit
ř
trouby. Nastavte
č
asova
č
na 5 minut, p
ř
epína
č
režim
ů
do maximální polohy. Až uslyšíte
zvukové signál a mikrovlnná trouba se vypne, vyndejte nádobu a
vyt
ř
ete mikrovlnnou troubu suchým hadrem.
SKLADOVÁNÍ
•
P
ř
ekontrolujte, zda je mikrovlnná trouba odpojena od elektrické
sít
ě
a úpln
ě
vychladla.
•
Spln
ě
te všechny pokyny
č
ásti
Č
IŠT
Ě
NÍ A ÚDRŽBA.
•
Skladujte mikrovlnnou troubu s pootev
ř
enými dví
ř
ky v suchem a
chladném míst
ě
.
BGG
РЪКОВОДСТВО
ЗА
ЕКСПЛОАТАЦИЯ
ПРАВИЛА
ЗА
БЕЗОПАСНОСТ
•
Неправилна
експлоатация
може
да
доведе
до
неизправности
в
работата
на
уреда
или
да
причини
здравословни
и
материални
щети
.
•
Преди
първо
включване
проверете
,
дали
посочените
технически
характеристики
на
уреда
съответстват
с
захранването
във
Вашата
мрежа
.












