Микроволновые печи Samsung MW872R - инструкция пользователя по применению, эксплуатации и установке на русском языке. Мы надеемся, она поможет вам решить возникшие у вас вопросы при эксплуатации техники.
Если остались вопросы, задайте их в комментариях после инструкции.
"Загружаем инструкцию", означает, что нужно подождать пока файл загрузится и можно будет его читать онлайн. Некоторые инструкции очень большие и время их появления зависит от вашей скорости интернета.

12
RU
Отключение
звукового
сигнала
При
желании
,
вы
в
любое
время
можете
отключить
звуковой
сигнал
.
Блокировка
вашей
микроволновой
печи
для
безопасности
В
вашу
микроволновую
печь
встроена
специальная
программа
для
обеспечения
безопасности
детей
,
которая
позволяет
вам
“
запереть
”
печь
для
того
,
чтобы
ее
не
могли
случайно
включить
дети
и
лица
,
не
знающие
как
пользоваться
печью
.
Печь
может
быть
“
заперта
”
в
любое
время
.
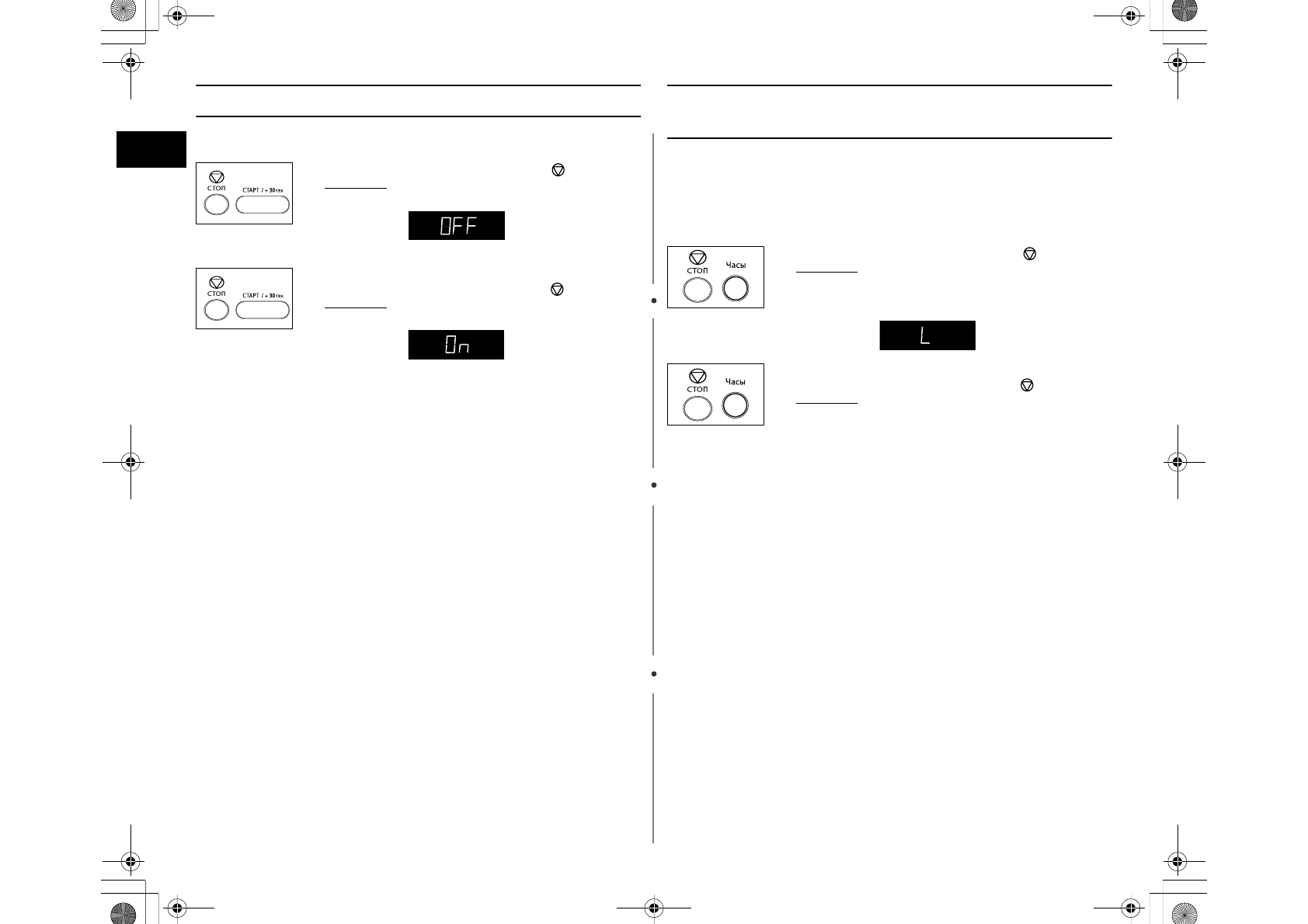
1.
Одновременно
нажмите
кнопки
СТОП
(
)
и
CTAPT
.
Результат
:
◆
На
дисплее
появляется
сообщение
.
чь
не
подает
звуковой
сигнал
при
нажатии
вами
какой
-
либо
кнопки
..
2.
Чтобы
вновь
включить
звуковой
сигнал
,
еще
раз
одновременно
нажмите
кнопки
СТОП
(
)
и
CTAPT
.
Результат
:
◆
На
дисплее
появляется
сообщение
.
◆
Печь
вновь
работает
с
подачей
звукового
сигнала
.
1.
Одновременно
нажмите
кнопки
СТОП
(
)
и
Часы
.
Результат
:
◆
Печь
блокируется
(
невозможно
выбрать
никакие
функции
).
◆
На
дисплее
появляется
сообщение
"L”.
2.
тобы
разблокировать
вашу
печь
,
еще
раз
одновременно
нажмите
кнопки
СТОП
(
)
и
Часы
.
Результат
:
Печью
можно
нормально
пользоваться
.
t~_^Yyi~{TWZY\Why|UGGwGXYGG{ SGt GY\SGYWW]GGYa[XGwt