Микроволновые печи Zelmer 29Z023 - инструкция пользователя по применению, эксплуатации и установке на русском языке. Мы надеемся, она поможет вам решить возникшие у вас вопросы при эксплуатации техники.
Если остались вопросы, задайте их в комментариях после инструкции.
"Загружаем инструкцию", означает, что нужно подождать пока файл загрузится и можно будет его читать онлайн. Некоторые инструкции очень большие и время их появления зависит от вашей скорости интернета.

10
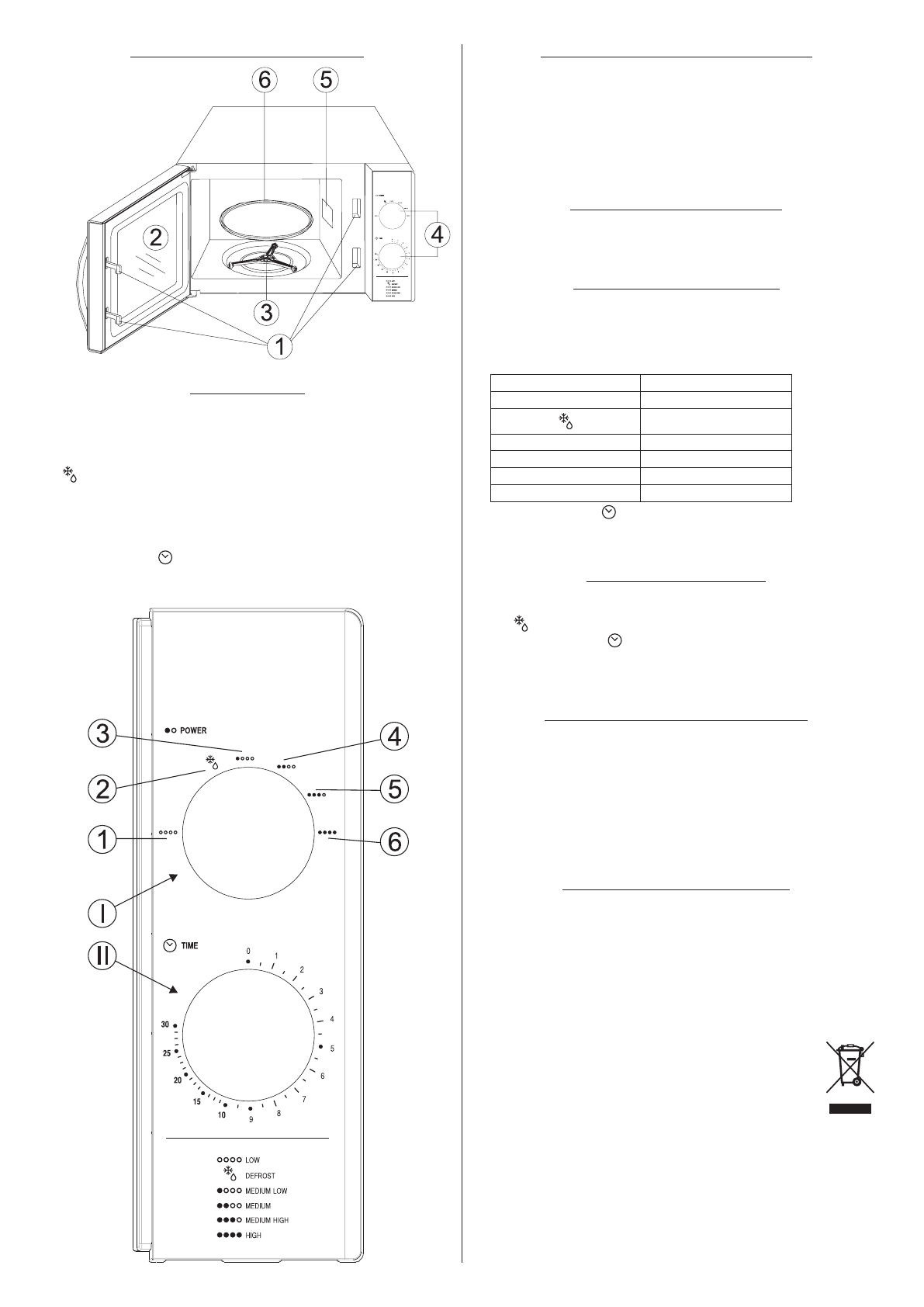
1. Zámok dvierok
2. Okno mikrovlnnej rúry
3. Otočná os
4. Ovládací panel
5. Sľudová doštička
6. Sklený tanier
KONŠTRUKCIA MIKROVLNNEJ RÚRY
MONTÁŽ OTOČNÉHO SKLENÉHO TANIERA
1. Sklený tanier sa nesmie umiestňovať opačne. Nesmie sa obmedzo
-
vať pohyb taniera.
2. Počas varenia sa musia v mikrovlnnej rúre vždy nachádzať sklený
tanier a sada otočného prstenca.
3. Počas varenia potraviny alebo nádoby s potravinami vždy umiestňuj
-
te na sklenom tanieri.
4. V prípade prasknutia alebo poškodenia skleného taniera, obráťte sa
na najbližší servis.
ZAPÍNANIE MIKROVLNNEJ RÚRY
Pripojte zariadenie do vhodného zdroja napájania.
Pred začatím programovania mikrovlnnej rúry najprv umiestnite pri
-
pravované jedlo v jej komore a zatvorte dvierka.
VARENIE POMOCOU MIKROVĹN
Táto funkcia má 6 úrovní výkonu, ktoré je potrebné nastaviť v závislosti od
pripravovaného jedla.
Pre nastavenie požadovanej úrovne výkonu (pozri nižšie uvedenú tabuľ
-
ku), otočte regulátor
POWER (I)
v smere hodinových ručičiek, aby ste vy
-
brali vhodný symbol.
Popis
Výkon varenia (úroveň)
○○○○
17%
40%
●○○○
48%
●●○○
66%
●●●○
85%
●●●●
100%
Potom otočte prepínač
Time (II)
v smere hodinových ručičiek a nastav
-
te požadovaný čas práce.
Maximálny čas pre jeden cyklus je 30 minút.
POZOR! Mikrovlnná rúra sa zapne hneď po nastavení času práce.
ROZMRAZOVANIE (Defrost)
Táto funkcia umožňuje rozmraziť zmrazené potraviny.
Pre nastavenie funkcie rozmrazovania, otočte regulátor ●○
Power (I)
do
polohy
(2)
.
Potom otočte prepínač
TIME (II)
v smere hodinových ručičiek a na
-
stavte požadovaný čas práce alebo hmotnosť jedla.
Maximálny čas roz
-
mrazovania pre jeden cyklus je 30 minút.
POZOR! Mikrovlnná rúra sa zapne hneď po nastavení času práce.
UKONČENIE PRÁCE MIKROVLNNEJ RÚRY
Po každom ukončení funkcie sa zapne zvukový signál, ktorý oznamu
-
je koniec práce.
Pre pozastavenie prevádzky mikrovlnnej rúry otvorte dvierka ťaha
-
ním za držadlo. Ich opätovné zatvorenie automaticky zapne mikro
-
vlnnú rúru podľa predchádzajúcich nastavení.
Ak ste vybrali jedlo z mikrovlnnej rúry pred uplynutím nastaveného
času programu, VŽDY OTOČTE REGULÁTOR DO POLOHY NULA.
Zapnutie prázdnej mikrovlnnej rúry sa spája s nebezpečenstvom po
-
škodenia zariadenia.
EKOLOGICKY VHODNÁ LIKVIDÁCIA
Obalový materiál nevyhadzujte. Obaly a baliace prostriedky elektrospotre
-
bičov ZELMER sú recyklovateľné a zásadne by mali byť vrátené na nové
zhodnotenie. Kartónový obal odovzdajte do zberne starého papiera. Vrec
-
ká z polyetylénu (PE, PE-HD, PE-LD) odovzdajte do zberne PE na opätov
-
né zužitkovanie.
Po ukončení životnosti spotrebič zlikvidujte prostredníctvom na to urče
-
ných recyklačných stredísk. Ak má byť prístroj deinitívne vyradený z pre
-
vádzky, doporučuje sa po odpojení prívodnej šnúry od elektrickej siete jej
odstránenie (odrezanie), prístroj tak bude nepoužiteľný.
Informujte sa láskavo na Vašej obecnej správe, ku ktorému recyklačnému
stredisku patríte.
Tento elektrospotrebič nepatrí do komunálneho odpadu. Spot
-
rebiteľ prispieva na ekologickú likvidáciu výrobku. ZELMER
SLOVAKIA s.r.o. je zapojená do systému ekologickej likvidácie
elektrospotrebičov u irmy ENVIDOM – združenie výrobcov.
Viac na
www.envidom.sk
.
Opravy spotrebičov si uplatnite u odborníkov v servisných stredis
-
kách. Záručné a pozáručné opravy doručené osobne alebo zaslané
poštou prevádzajú servisné strediská irmy ZELMER – viď ZOZNAM
ZÁRUČNÝCH SERVISOV.
OVLÁDACÍ PANEL
I. Otočný regulátor ●○
POWER
− Používa sa na nastavenie mikrovlnného programu spolu s úrovňou vý
-
konu (6 programov).
1. ○○○○ (Nízky výkon – 17%)
2.
(Rozmrazovanie – 40%)
3. ●○○○ (Stredne nízky výkon – 48%)
4. ●●○○ (Stredný výkon – 66%)
5. ●●●○ (Stredne vysoký výkon – 85%)
6. ●●●● (Vysoký výkon – 100%)
II. Otočný regulátor
TIME
− Používa sa na nastavenie doby fungovania zvoleného programu.
Maxi
-
málny čas pre jeden cyklus je 30 minút.
Dovozca/výrobca nenesie zodpovednosť za prípadné škody vzniknuté vo výsledku
použitia zariadenia v rozpore s jeho určením alebo vo výsledku nesprávnej obsluhy.
Dovozca/výrobca si vyhradzuje právo výrobok kedykoľvek upravovať bez predchá
-
dzajúceho oznámenia za účelom prispôsobenia právnym predpisom, normám, smer
-
niciam alebo z konštrukčných, obchodných, dizajnových alebo iných dôvodov.