Микроволновые печи Midea MM720CKE - инструкция пользователя по применению, эксплуатации и установке на русском языке. Мы надеемся, она поможет вам решить возникшие у вас вопросы при эксплуатации техники.
Если остались вопросы, задайте их в комментариях после инструкции.
"Загружаем инструкцию", означает, что нужно подождать пока файл загрузится и можно будет его читать онлайн. Некоторые инструкции очень большие и время их появления зависит от вашей скорости интернета.

9
ПОРЯДОК РАБОТЫ
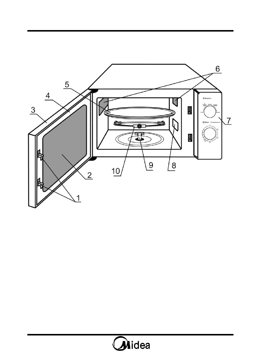
УСТРОЙСТВО ПЕЧИ
Устройство печи приведено на рисунке 2.
1
Защелки дверцы
2
Окно печи
3
Дверца
4
Уплотнительная прокладка дверцы
5
Стеклянное блюдо
6
Вентиляционные отверстия
7
Панель управления
8
Слюдяная пластина.
НЕ УДАЛЯТЬ!
9
Муфта вала мотора
10
Кольцо роликовое
Рисунок 2