Микроволновые печи Midea AG820AXG - инструкция пользователя по применению, эксплуатации и установке на русском языке. Мы надеемся, она поможет вам решить возникшие у вас вопросы при эксплуатации техники.
Если остались вопросы, задайте их в комментариях после инструкции.
"Загружаем инструкцию", означает, что нужно подождать пока файл загрузится и можно будет его читать онлайн. Некоторые инструкции очень большие и время их появления зависит от вашей скорости интернета.

9
ПОРЯДОК РАБОТЫ
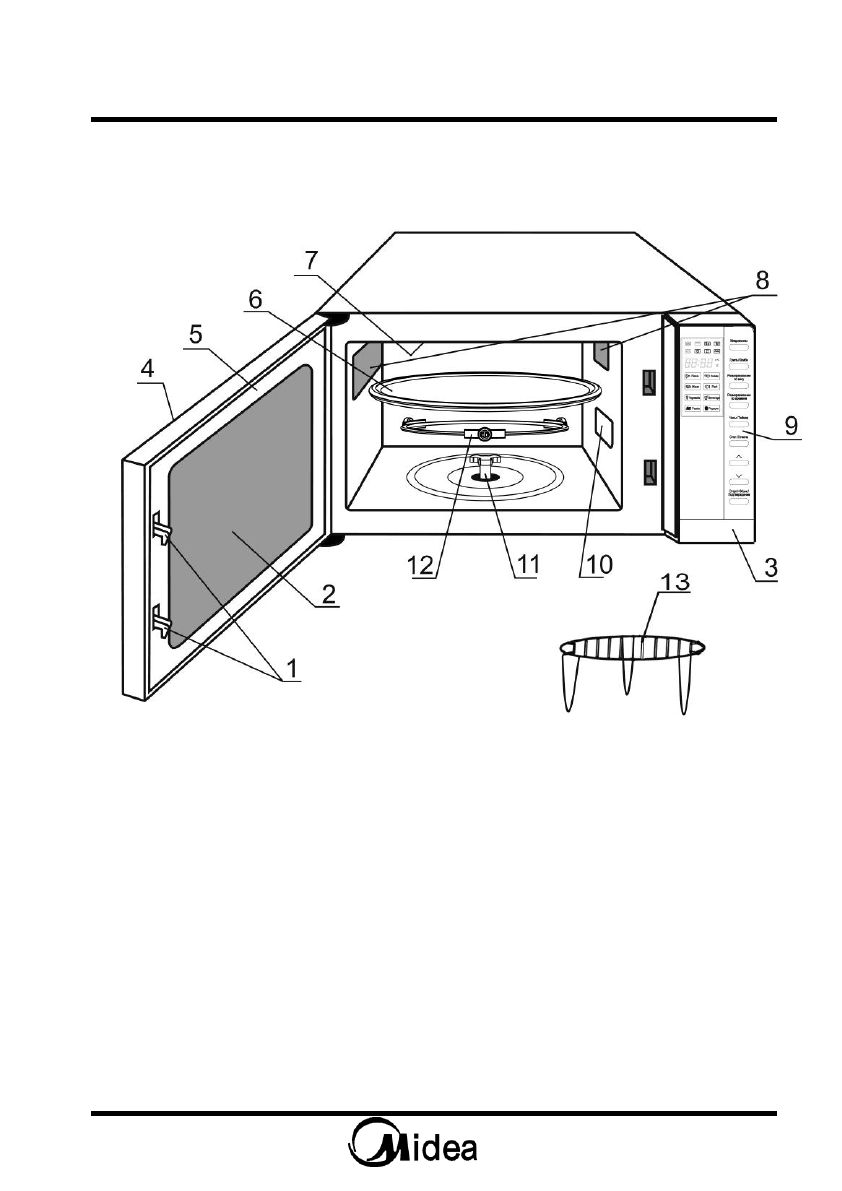
УСТРОЙСТВО ПЕЧИ
Устройство печи приведено на рисунке 2.
1
Защелки дверцы
2
Окно печи
3
Кнопка открывания двери
4
Дверца
5
Уплотнительная прокладка дверцы
6
Стеклянное блюдо
7
Нагревательный элемент гриля
8
Вентиляционные отверстия
9
Панель управления
10
Слюдяная пластина.
НЕ УДАЛЯТЬ!
11
Муфта вала мотора
12
Кольцо роликовое
13
Решетка для гриля
Рисунок 2
Характеристики
Остались вопросы?Не нашли свой ответ в руководстве или возникли другие проблемы? Задайте свой вопрос в форме ниже с подробным описанием вашей ситуации, чтобы другие люди и специалисты смогли дать на него ответ. Если вы знаете как решить проблему другого человека, пожалуйста, подскажите ему :)