Микроволновые печи LG MS2024JL - инструкция пользователя по применению, эксплуатации и установке на русском языке. Мы надеемся, она поможет вам решить возникшие у вас вопросы при эксплуатации техники.
Если остались вопросы, задайте их в комментариях после инструкции.
"Загружаем инструкцию", означает, что нужно подождать пока файл загрузится и можно будет его читать онлайн. Некоторые инструкции очень большие и время их появления зависит от вашей скорости интернета.

Панель управления
2
1
3
2
MS-1929G
MS2024JL
MS1929G
M
B3929G
MB-3929G
MB4024JL
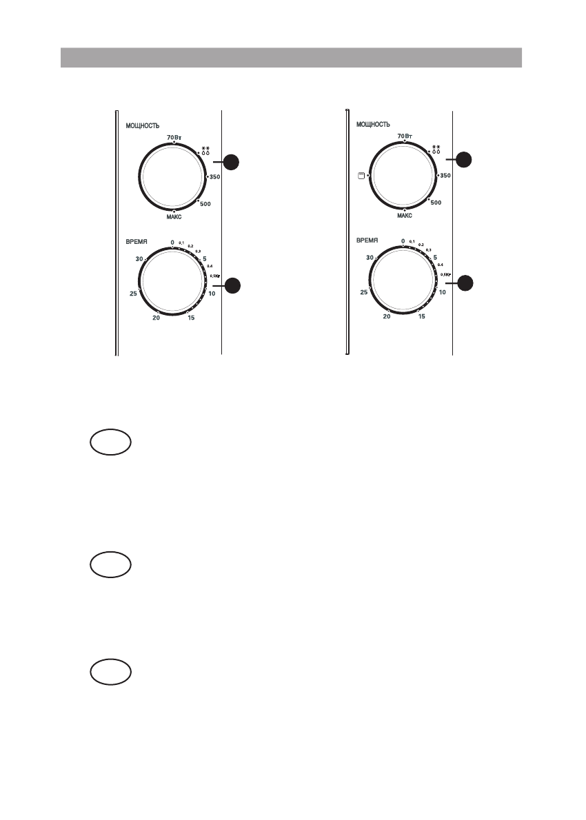
Переключатель уровня мощности
Позволяет выбирать желаемый уровень мощности.
Таймер
Позволяет задавать желаемое время приготовления.
Переключатель функций и уровня мощности
“
“ó
óà
àò
òò
òû
ûë
ëû
û”
” ä
äå
å’
’ã
ãå
åé
é³³ à
àó
óû
ûñ
ñò
òû
ûð
ðû
ûï
ï--”
Ӕ
îñ
ñ”
”û
ûø
øû
û
¾åðåêò³ ”óàòòûëû” äå’ãåé³í òà’äàó¼à ì°ìê³íä³ê áåðåä³.
Ò
Òà
àé
éì
ìå
åð
ð
¾åðåêò³ äàÿðëàó óà”ûòûí òà’äàó¼à ì°ìê³íä³ê áåðåä³.
Ô
Ôó
óí
íê
êö
öè
èÿ
ÿë
ëà
àð
ð ì
ìå
åí
í ”
”ó
óà
àò
òò
òû
ûë
ëû
û”
” ä
äå
å’
’ã
ãå
åé
é³³ à
àó
óû
ûñ
ñò
òû
ûð
ðû
ûï
ï--”
Ӕ
îñ
ñ”
”û
ûø
øû
û
RU
KZ
Перемикач рiвня потужностi
Дозволяє вибирати бажаний рiвень потужностi.
Таймер
Дозволяє задавати бажаний час готування.
Перемикач функцiй i рiвня потужностi
UA
4
Содержание
- 2 Составные части печи
- 4 Переключатель уровня мощности; Позволяет выбирать желаемый уровень мощности.; Позволяет задавать желаемое время приготовления.; Переключатель функций и уровня мощности; Дозволяє вибирати бажаний рiвень потужностi.; Таймер; Дозволяє задавати бажаний час готування.; Перемикач функцiй i рiвня потужностi
- 5 Установка; ПРЕДУПРЕЖДЕНИЕ: ЭТО ИЗДЕЛИЕ ДОЛЖНО БЫТЬ ЗАЗЕМЛЕНО; МЕРЫ ПРЕДОСТОРОЖНОСТИ, ЧТОБЫ ИЗБЕЖАТЬ; ПРЕДУПРЕЖДЕНИЕ
- 6 Меры предосторожности; : Жидкости или другие продукты не должны
- 7 ПОСУДА ДЛЯ МИКРОВОЛНОВОЙ ПЕЧИ; Посуда для микроволновой печи; Принадлежности для приготовления
- 9 Инструкции по эксплуатации
- 10 Ответы на наиболее часто возникающие вопросы
- 11 Технические характеристики; Предупреждение












