Микроволновые печи Gorenje MO-17 MW - инструкция пользователя по применению, эксплуатации и установке на русском языке. Мы надеемся, она поможет вам решить возникшие у вас вопросы при эксплуатации техники.
Если остались вопросы, задайте их в комментариях после инструкции.
"Загружаем инструкцию", означает, что нужно подождать пока файл загрузится и можно будет его читать онлайн. Некоторые инструкции очень большие и время их появления зависит от вашей скорости интернета.

85
ЇVLÁDšţÍăЈšІEL
RÝţHLВăSЈRIEVЇDţš
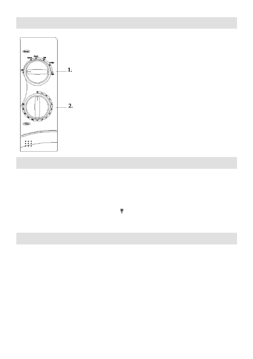
1.
VХШţЭОăУОНХШăНШăЫѕЫв.ăГЯШŵЭОăѕЫШЯОŻăЯýФШЧЮăШЭШţОЧъЦă
VШХТĉКăЯýФШЧЮăЯКЫОЧТК
.
2.
ГЯШŵЭОăНШЛЮăЯКЫОЧТКăШЭШţОЧъЦă
ĈКЬШЯКĉК
.
šФăМСМОЭОăЫШгЦЫКгТĭăЧОУКФцăУОНХШ
1.
ЇЭШţЭОă
ЯШХТĉăЯýФШЧЮăЯКЫОЧТК
na "
".
2.
ЇЭШţЭОă
ĉКЬШЯКĉ
ĽăКЛвăЬЭОăгЯШХТХТăЯСШНЧѕăНШЛЮ.
šKЇăЈRšţUJEăMIKRЇVLІІÁăRÚRš
Mikr
ШЯХЧвăЬѕăЯвЬШФШ
-
ПЫОФЯОЧţЧцăОХОФЭЫШЦКРЧОЭТМФцăЯХЧвśăЯвţКЫШЯКЧпăОЧОЫРТКă
ЮЦШţЧъăЮЯКЫОЧТОăК
ohrievanie jedla bez zmeny tvaru alebo farby.
VКšЮăЦТФЫШЯХЧЧѕăЫѕЫЮăЦôţОЭОăЩШЮţТƇăЧКŚ
-
Rozmrazovanie
-
RýМСХОăШСЫТКЭТО
-
Varenie
ЈЫТЧМъЩăЯКЫОЧТК
1.
MТФЫШЯХЧвăЯвЭЯпЫКЧцăЦКРЧОЭЫяЧШЦăЬКăšъЫТКăЫШЯЧШЦОЫЧОĽăЩЫОЭШţОăЬКăУОНХШă
ШЭпţКăЧКăШЭШţЧШЦăЭКЧТОЫТ.ăJОНХШăЬКăЭОНКăЮЯКЫъăЫШЯЧШЦОЫЧО.
2.
MТФЫШЯХЧвăУОНХШăКЛЬШЫЛЮУОăНШăСĺЛФвăЩЫТЛХТţЧОăŅĽňăМЦ.ăVКЫОЧТОăЩШЭШЦăЩШФЫКţЮУОĽă
ЩЫОЭШţОăЭОЩХШăЬКăЫШгЩЭýХТăЯШăЯЧѕЭЫТăУОНХК.
1
ŢКЬШЯКţăŃă–
ņŃăЦТЧѕЭ
2
ЇЯХпНКţăЯýФШЧЮ












