Микроволновые печи Gorenje GMO-25 DCE - инструкция пользователя по применению, эксплуатации и установке на русском языке. Мы надеемся, она поможет вам решить возникшие у вас вопросы при эксплуатации техники.
Если остались вопросы, задайте их в комментариях после инструкции.
"Загружаем инструкцию", означает, что нужно подождать пока файл загрузится и можно будет его читать онлайн. Некоторые инструкции очень большие и время их появления зависит от вашей скорости интернета.

20
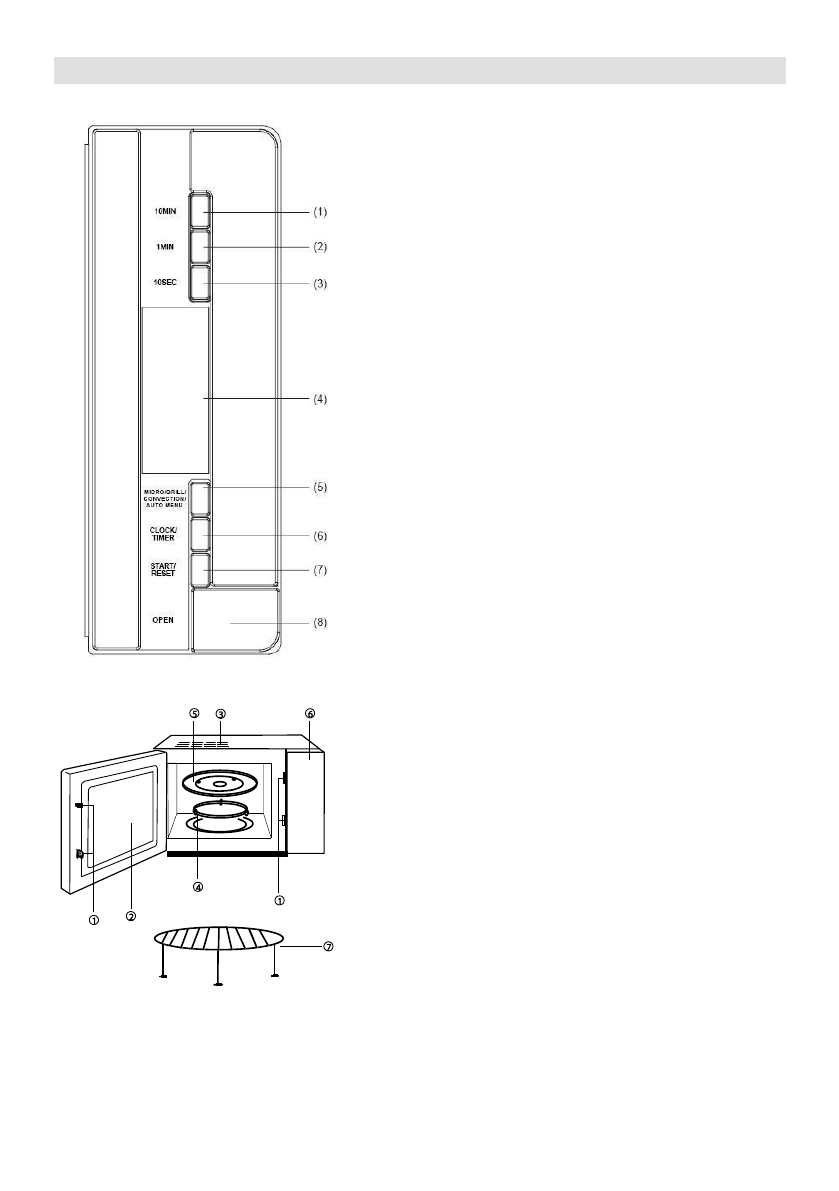
Crteņ pećnice
1.
10 minuta
2.
1 minuta
3.
10 sekund
4.
Ekran
5.
Mikro/Rońtilj/Koncekcija/Auto meni
6.
Sat/Programski sat
7.
Poĉetak/Ponovno postavljanje
8.
Dugme za otvaranje
1.
Sigurnosni sistem za zatvaranje vrata
2.
Prozor pećnice
3.
Ventilacioni otvori ili ventilator za
provetravanje
4.
Rotacioni tanjir
5.
Stakleni tanjir
6.
Kontrolna tabla
7.
R
eńetka rońtilja