Микроволновые печи Gorenje GMO-23 Ora Ito W - инструкция пользователя по применению, эксплуатации и установке на русском языке. Мы надеемся, она поможет вам решить возникшие у вас вопросы при эксплуатации техники.
Если остались вопросы, задайте их в комментариях после инструкции.
"Загружаем инструкцию", означает, что нужно подождать пока файл загрузится и можно будет его читать онлайн. Некоторые инструкции очень большие и время их появления зависит от вашей скорости интернета.

28
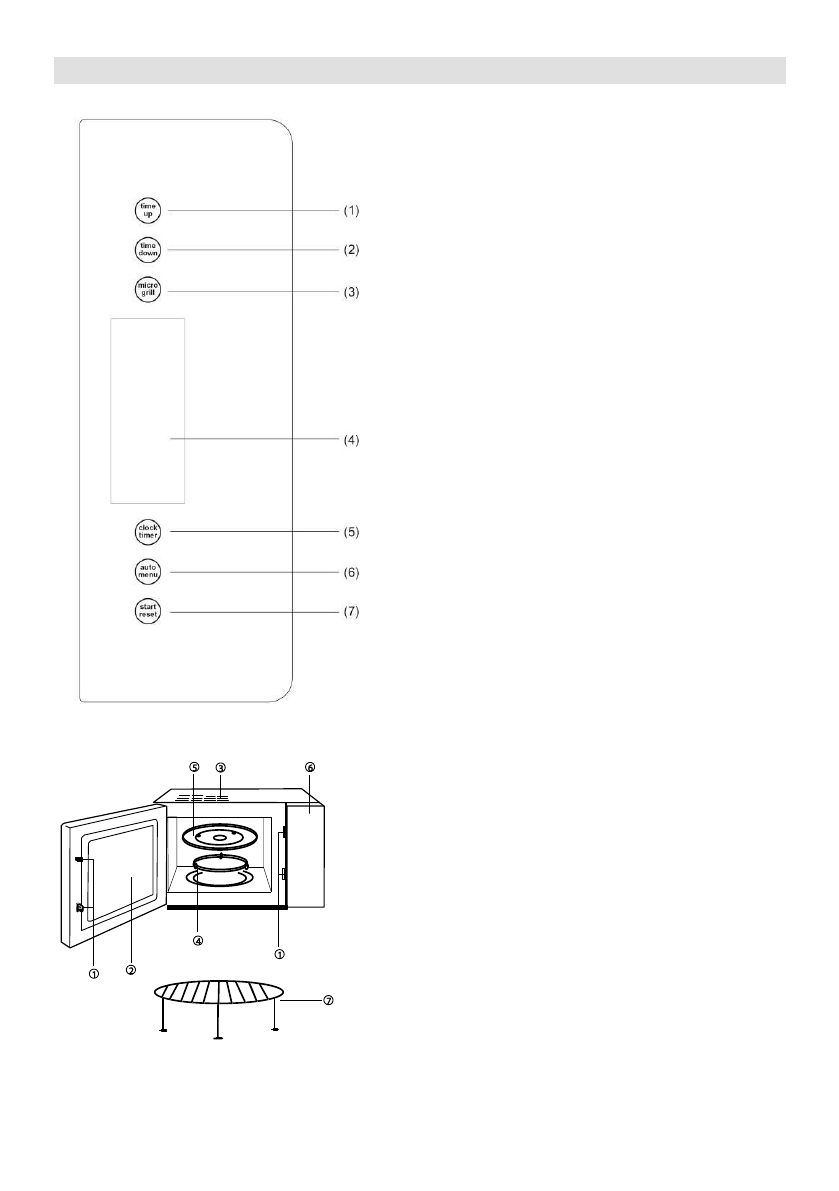
Дијаграм на печката
1.
Избирање време +
2.
Избирање време -
3.
Избирање начин на приготвување храна
(
микробранови, одмрзнување, жар и
комбинација)
4.
Покажувач
5.
Дотерување време и програмски
часовник
6.
Избирање мени
7.
Задвижување и прекинување на
работењето
1.
Затворач на вратата
2.
Прозорец на печката
3.
Отвори за вентилација вентилатор за
проветрување
4.
Обрач на основата
5.
Стаклена основа
6.
Контролна плоча
7.
Решетка за жар