Микроволновые печи Electrolux EMS30400OX - инструкция пользователя по применению, эксплуатации и установке на русском языке. Мы надеемся, она поможет вам решить возникшие у вас вопросы при эксплуатации техники.
Если остались вопросы, задайте их в комментариях после инструкции.
"Загружаем инструкцию", означает, что нужно подождать пока файл загрузится и можно будет его читать онлайн. Некоторые инструкции очень большие и время их появления зависит от вашей скорости интернета.

матеріали, жорсткі ганчірки, їдкі
речовини та металеві предмети.
• Якщо ви користуєтеся аерозолями
для чищення духових шаф,
обов’язково дотримуйтеся
інструкцій, наведених на упаковці.
2.5 Утилізація
ПОПЕРЕДЖЕННЯ!
Існує небезпека
задушення.
• Відключіть прилад від
електромережі.
• Відріжте кабель живлення і
викиньте його.
Цей продукт по змісту небезпечних
речовин відповідає вимогам
Технічного регламенту обмеження
використання деяких небезпечних
речовин в електричному та
електронному обладнанні (постанова
Кабінета Міністрів України №1057 від 3
грудня 2008р.)
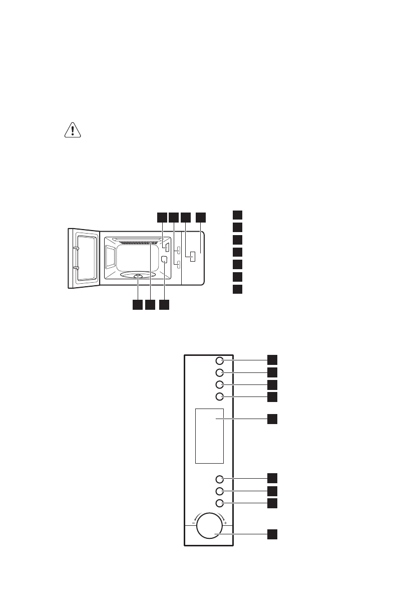
3. ОПИС ВИРОБУ
3.1 Загальний огляд
1
3
4
7
5
6
2
1
Лампочка
2
Система блокування
3
Дисплей
4
Панель керування
5
Кришка хвилеводу
6
Гриль
7
Вал для поворотного столика
3.2 Панель керування
1
2
3
4
5
6
7
8
9
www.electrolux.com
100
Содержание
- 74 ПОДДЕРЖКА ПОТРЕБИТЕЛЕЙ И СЕРВИСНОЕ
- 75 возможностями
- 76 Общие правила техники безопасности
- 78 УКАЗАНИЯ ПО БЕЗОПАСНОСТИ; электросети
- 80 Панель управления
- 81 Комплект с вращающимся; ПЕРЕД ПЕРВЫМ ИСПОЛЬЗОВАНИЕМ
- 82 Установка текущего; времени; ЕЖЕДНЕВНОЕ ИСПОЛЬЗОВАНИЕ; Общие сведения по; эксплуатации прибора
- 84 Включение и выключение; микроволновой печи
- 85 Таблица уровней мощности
- 86 приготовление; Приготовление в режиме; конвекции
- 87 АВТОМАТИЧЕСКИЕ ПРОГРАММЫ; программы
- 89 ИСПОЛЬЗОВАНИЕ ДОПОЛНИТЕЛЬНЫХ; ПРИНАДЛЕЖНОСТЕЙ; Установка комплекта с; вращающимся поддоном; Установка подставки для; гриля; ДОПОЛНИТЕЛЬНЫЕ ФУНКЦИИ; Функция «Защита от; детей»
- 90 Рекомендации по использованию режима микроволновой; обработки
- 91 Приготовление в режиме; ПОИСК И УСТРАНЕНИЕ НЕИСПРАВНОСТЕЙ
- 92 обращения в сервис-центр
- 93 Общая информация; подключение
- 94 ОХРАНА ОКРУЖАЮЩЕЙ СРЕДЫ