Микроволновые печи Electrolux EMS 26004 - инструкция пользователя по применению, эксплуатации и установке на русском языке. Мы надеемся, она поможет вам решить возникшие у вас вопросы при эксплуатации техники.
Если остались вопросы, задайте их в комментариях после инструкции.
"Загружаем инструкцию", означает, что нужно подождать пока файл загрузится и можно будет его читать онлайн. Некоторые инструкции очень большие и время их появления зависит от вашей скорости интернета.

www.electrolux.com
40
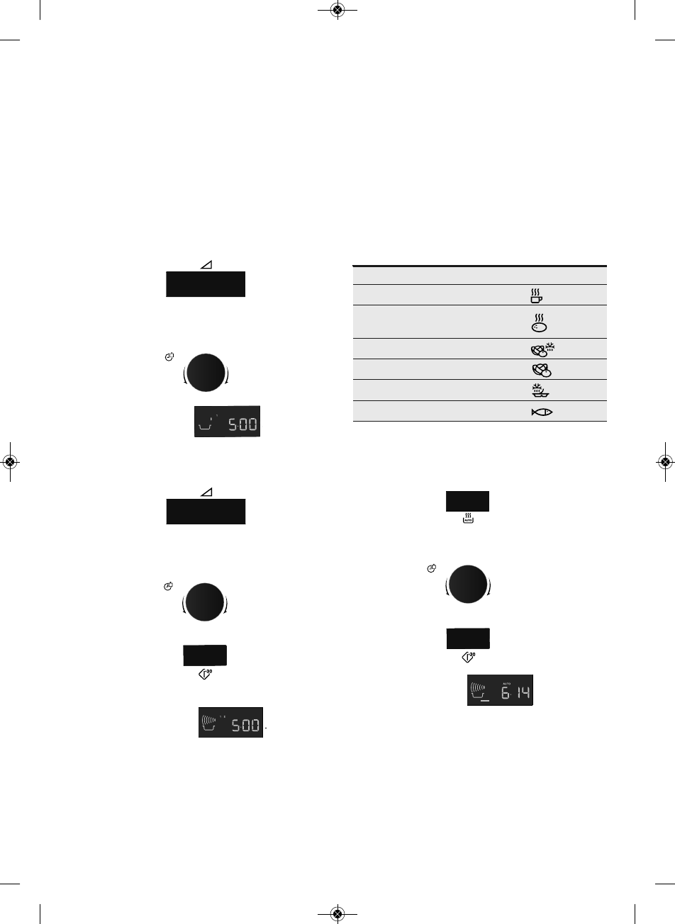
ГОТ УВАННЯ У КІЛьКА ЕТАПІВ
Для режиму МІКРОхВИЛІ можна запланувати
3 (не більше) етапи готування.
Приклад:
щоб готувати:
5 хвилин на потужності 900 Вт
(Етап 1)
16 хвилин на потужності 270 Вт
(Етап 2)
Етап 1
1. Натисніть кнопку РІВЕНь ПОТУжНОСТІ один
раз.
2. Виставте час, повертаючи регулятор
ТАйМЕР/ВАГА за годинниковою стрілкою,
доки на екрані не з’явиться час 5.00.
3. Перевірте екран:
Етап 2
1. Натисніть кнопку РІВЕНь ПОТУжНОСТІ 4
рази.
2. Виставте час, повертаючи регулятор
ТАйМЕР/ВАГА за годинниковою стрілкою,
доки на екрані не з’явиться час 16.00.
3. Натисніть кнопку START/+30.
4. Перевірте екран:
Піч готуватиме 5 хвилин на потужності 900 Вт,
потім 16 хвилин на потужності 270 Вт.
АВТОМАТИчНЕ ГОТ УВАННЯ І
АВТОМАТИчНЕ РОЗМОРОжУВАННЯ
Функції АВТОМАТИчНОГО ГОТУВАННЯ і
АВТОМАТИчНОГО РОЗМОРОжЕННЯ
автоматично підбирають правильний режим і
час готування. Ви можете вибрати серед 6 меню
АВТОМАТИчНОГО ГОТУВАННЯ і 2 меню
АВТОМАТИчНОГО РОЗМОРОжУВАННЯ.
Aвтоматичного Готування
Приклад:
щоб приготувати 0,3 кг вареної
картоплі.
1. Виберіть необхідне меню, двічі натиснувши
кнопку режиму АВТОМАТИчНЕ ГОТУВАННЯ.
2. Поверніть регулятор ТАйМЕР/ВАГА, доки на
екрані не висвітиться 0.3.
3. Натисніть кнопку START/+30.
4. Перевірте екран:
Коли потрібно виконати якусь дію (наприклад,
перевернути їжу), піч зупиняється і лунає дзвоник,
при цьому час готування, що залишився, та
індикатор блимають на екрані. Щоб продовжити
готування, натисніть кнопку START/+30. Коли
закінчиться час АВТОМАТИчНОГО ГОТУВАННЯ,
програма автоматично зупиниться. Пролунає
дзвінок і блиматиме символ готування. через 1
хвилину і після сигналу нагадування на екрані
висвітиться годинник.
x2
x1
x1
Продукти
Символ
Напій
Варена картопля/Картопля в
мундирах
Заморожені овочі
Свіжі овочі
Заморожена готова їжа
Рибне філе в соусі
x1
x4
2. Ukrainian MS_Electrolux Step B 13/02/2015 08:26 Page 40
Содержание
- 3 ИНС ТРУКцИИ ПО БЕЗОПАСНОС ТИ
- 5 Предупреждение ожогов
- 6 Другие предупреждения
- 7 СхЕМА УС ТРОЙС ТВА; СВЧ-ПЕЧь И АКСЕССУАРы
- 8 ЭКОНОМИЧНыЙ РЕЖИМ
- 10 ИСПОЛьЗОВАНИЕ СВЧ-ПЕЧИ; ПРИгОТОВЛЕНИЕ ПИщИ В МИКРОВОЛНОВОЙ ПЕЧИ; Характеристики пищи
- 11 Посуда
- 12 Рекомендуемое использование; РУЧНАя РАЗМОРОЗКА
- 13 КУхОННыЙ ТАЙМЕР; ПРИБАВьТЕ 30 СЕКУНД; Прямой запуск; ПЛюС И МИНУС
- 14 Автоматического Приготовления; Пища
- 16 ТАБЛИцы ПРОгРАММ
- 18 РЕцЕПТы ДЛя АВТОМАТИЧЕСКОгО ПРИгОТОВЛЕНИя; Рыбное филе с соусом карри; ПОНИЖЕННыЙ УРОВЕНь МОщНОС ТИ; Рыбное филе с пикантным соусом
- 19 Разморозка; КУЛИНАРНыЕ ТАБЛИцы; Разогревание пищи и напитков; метод
- 21 УхОД И ОЧИС ТКА; Панель управления
- 22 Дверца; Не
- 23 ТЕхНИЧЕСКИЕ хАРАК ТЕРИС ТИКИ; Проблема
- 24 УС ТАНОВКА; микроволновую печь можно установить в положение; Положение Размер ниши; УС ТАНОВКА ОБОРУДОВАНИя
- 25 Розетку не нужно размещать за шкафом.; ЭЛЕК ТРИЧЕСКИЕ СОЕДИНЕНИя
- 26 УПАКОВОЧНыЕ МАТЕРИА Лы; У ТИЛИЗАцИя С ТАРОЙ ТЕхНИКИ; ЭКОЛОгИЧЕСКАя ИНфОРМАцИя
Характеристики
Остались вопросы?Не нашли свой ответ в руководстве или возникли другие проблемы? Задайте свой вопрос в форме ниже с подробным описанием вашей ситуации, чтобы другие люди и специалисты смогли дать на него ответ. Если вы знаете как решить проблему другого человека, пожалуйста, подскажите ему :)












