Микроволновые печи Centek CT-1585 - инструкция пользователя по применению, эксплуатации и установке на русском языке. Мы надеемся, она поможет вам решить возникшие у вас вопросы при эксплуатации техники.
Если остались вопросы, задайте их в комментариях после инструкции.
"Загружаем инструкцию", означает, что нужно подождать пока файл загрузится и можно будет его читать онлайн. Некоторые инструкции очень большие и время их появления зависит от вашей скорости интернета.

5
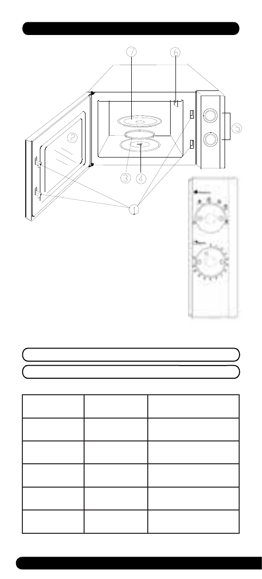
2. ÎÏÈÑÀÍÈÅ ÏÐÈÁÎÐÀ
1. Äâåðíûå çàùåëêè
2. Ñìîòðîâîå îêíî
3. Ðîëèêîâàÿ ïîäñòàâêà
4. Ïðèâîä
5. Ïàíåëü óïðàâëåíèÿ
6. Çàñëîíêà âîëíîâîäà
7. Ñòåêëÿííûé ïîäíîñ
ÏÀÍÅËÜ ÓÏÐÀÂËÅÍÈß
ÐÅÃÓËßÒÎÐ ÌÎÙÍÎÑÒÈ
Âñåãî øåñòü óðîâíåé ìîùíîñòè:
Âûñîêàÿ
100%
ìîùíîñòü
Áûñòðîå
ïðèãîòîâëåíèå
Óìåðåííî-
âûñîêàÿ
85%
ìîùíîñòü
Îáû÷íîå
ïðèãîòîâëåíèå
Ñðåäíÿÿ
66%
ìîùíîñòü
Ìåäëåííîå
ïðèãîòîâëåíèå
Óìåðåííî-
íèçêàÿ
40%
ìîùíîñòü
Íàïèòêè
èëè ñóïû
Ðàçìîðîçêà
37%
ìîùíîñòü
Ðàçìîðîçêà
Íèçêàÿ
17%
ìîùíîñòü
Ïîäîãðåâàíèå
Характеристики
Остались вопросы?Не нашли свой ответ в руководстве или возникли другие проблемы? Задайте свой вопрос в форме ниже с подробным описанием вашей ситуации, чтобы другие люди и специалисты смогли дать на него ответ. Если вы знаете как решить проблему другого человека, пожалуйста, подскажите ему :)