Микроволновые печи Centek CT-1577 - инструкция пользователя по применению, эксплуатации и установке на русском языке. Мы надеемся, она поможет вам решить возникшие у вас вопросы при эксплуатации техники.
Если остались вопросы, задайте их в комментариях после инструкции.
"Загружаем инструкцию", означает, что нужно подождать пока файл загрузится и можно будет его читать онлайн. Некоторые инструкции очень большие и время их появления зависит от вашей скорости интернета.

5
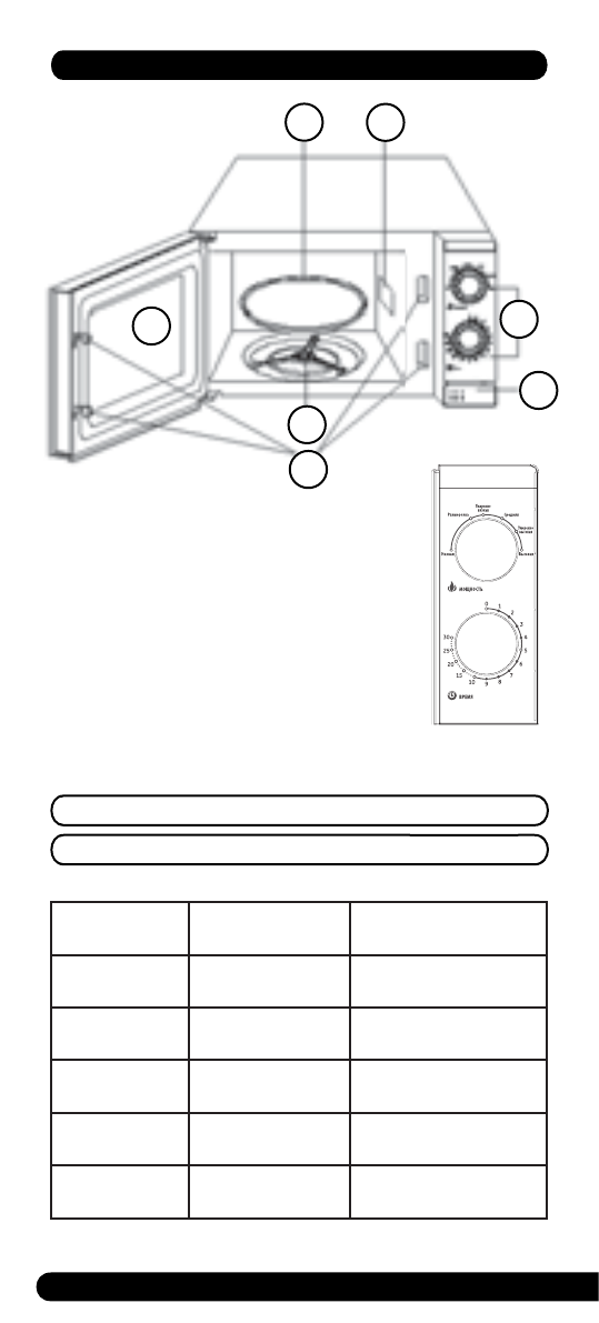
2. ÎÏÈÑÀÍÈÅ ÏÐÈÁÎÐÀ
1. Äâåðíûå çàùåëêè
2. Ðîëèêîâàÿ ïîäñòàâêà
3. Ñòåêëÿííûé ïîäíîñ
4. Ïàíåëü óïðàâëåíèÿ
5. Çàñëîíêà âîëíîâîäà
6. Êíîïêà îòêðûâàíèÿ äâåðè
7. Ñìîòðîâîå îêíî
ÏÀÍÅËÜ ÓÏÐÀÂËÅÍÈß
ÐÅÃÓËßÒÎÐ ÌÎÙÍÎÑÒÈ
Âñåãî øåñòü óðîâíåé ìîùíîñòè:
Âûñîêàÿ
100% âûõîäíàÿ
ìîùíîñòü
Áûñòðîå
ïðèãîòîâëåíèå
Óìåðåííî
âûñîêàÿ
85% âûõîäíàÿ
ìîùíîñòü
Îáû÷íîå
ïðèãîòîâëåíèå
Ñðåäíÿÿ
66% âûõîäíàÿ
ìîùíîñòü
Ìåäëåííîå
ïðèãîòîâëåíèå
Óìåðåííî
íèçêàÿ
40% âûõîäíàÿ
ìîùíîñòü
Íàïèòêè èëè ñóïû
Ðàçìîðîçêà
37% âûõîäíàÿ
ìîùíîñòü
Ðàçìîðîçêà
Íèçêàÿ
17% âûõîäíàÿ
ìîùíîñòü
Ïîäîãðåâàíèå
1
6
7
3
2
5
4
Характеристики
Остались вопросы?Не нашли свой ответ в руководстве или возникли другие проблемы? Задайте свой вопрос в форме ниже с подробным описанием вашей ситуации, чтобы другие люди и специалисты смогли дать на него ответ. Если вы знаете как решить проблему другого человека, пожалуйста, подскажите ему :)