Микроволновые печи BBK 17MWS-781M/W - инструкция пользователя по применению, эксплуатации и установке на русском языке. Мы надеемся, она поможет вам решить возникшие у вас вопросы при эксплуатации техники.
Если остались вопросы, задайте их в комментариях после инструкции.
"Загружаем инструкцию", означает, что нужно подождать пока файл загрузится и можно будет его читать онлайн. Некоторые инструкции очень большие и время их появления зависит от вашей скорости интернета.

ОБЗОР УСТРОЙСТВА
6
УСТАНОВКА МИКРОВОЛНОВОЙ ПЕЧИ
Аккуратно распакуйте микроволновую печь. Удалите
все упаковочные материалы и выньте аксессуары
из внутренней камеры микроволновой печи. Внимательно
осмотрите микроволновую печь на наличие вмятин на
корпусе или повреждений дверцы. Если вы заметили,
что дверца микроволновой печи повреждена, ни в коем
случае не устанавливайте и не используйте данную
микроволновую печь.
Для установки микроволновой печи выберите ровную
поверхность, которая обеспечивает достаточное место для
вентиляции микроволновой печи и свободного открывания
дверцы микроволновой печи.
Минимальное расстояние между боковыми и задней
панелями микроволновой печи до стены должно быть
не менее 7,5 см.
Расстояние над верхней панелью микроволновой печи
должно быть не менее 30 см.
Не снимайте ножки с нижней части микроволновой печи.
Удалите защитную пленку с поверхности корпуса
микроволновой печи, если она там имеется.
Не удаляйте светло-коричневую крышку из внутренней
камеры микроволновой печи, она защищает магнетрон.
Блокировка вентиляционных отверстий микроволновой печи
может привести к ее повреждению.
Устанавливайте микроволновую печь как можно дальше
от радиоприемников и телевизоров. Работа микроволновой
печи может повлиять на их работу.
Подключите микроволновую печь к сетевой розетке,
имеющей заземление. Откройте дверцу печи и установите
роликовую подставку, а на нее поворотный стол так, чтобы
ролики подставки находились внутри выступающего кольца
поворотного стола. Проверьте, плотно ли стол установлен:
он не должен свободно прокручиваться. Закройте дверцу.
Ваша печь готова к работе и находится
в режиме ожидания.
ОСОБЕННОСТИ
• Таймер на 30 мин.
• Звуковой сигнал
• Режим деликатной разморозки
• Мощность микроволн: 700 Вт
• Регулировка мощности микроволн: 6 уровней
• Освещаемая камера объемом 17 литров
• Поворотный стол Ø 245 мм
КОМПЛЕКТАЦИЯ
Микроволновая печь .................................................................... 1 шт.
Стеклянный поворотный стол ................................................... 1 шт.
Роликовая подставка ................................................................... 1 шт.
Руководство по эксплуатации ................................................. 1 шт.
Гарантийный талон ........................................................................ 1 шт.
ПРИМЕЧАНИЯ
• Никогда не устанавливайте стеклянный поворотный
стол вверх дном.
• В процессе приготовления должны использоваться
одновременно и стеклянный поворотный стол, и
роликовая подставка. Если поворотный стол или
роликовая подставка повреждены (имеют сколы
или трещины), их необходимо заменить. Для этого
обратитесь в Уполномоченный сервисный центр.
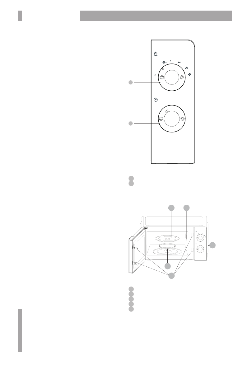
ОБЩИЙ ВИД ПАНЕЛИ УПРАВЛЕНИЯ
1
2
ВРЕМЯ
0
1
2
3
4
5
10
9
8
7
6
15
20
25
30
МОЩНОСТЬ
РАЗМ.
МИН.
МАКС.
СРЕД.
ВЫС.
НИЗ.
1
Регулятор мощности
2
Регулятор времени
УСТРОЙСТВО МИКРОВОЛНОВОЙ ПЕЧИ
1
2
3
4
5
ВРЕМЯ
0
1
2
3
4
5
10
9
8
7
6
15
20
25
30
МОЩНОСТЬ
РАЗМ.
МИН.
МАКС.
СРЕД.
ВЫС.
НИЗ.
1
Механизм блокировки двери
2
Роликовая подставка
3
Стеклянный поворотный стол
4
Источник излучения
5
Панель управления